GM Service Manual Online
For 1990-2009 cars only

Disassembly Procedure

Tools Required

    • J 26941 Oil Seal Remover
    • J 23907 Slide Hammer
    • J 22888-D Side Bearing Remover

    Notice: When servicing the wheel drive shaft(s), place reference marks on all components to ensure that all components are reassembled in the correct position. If the components are not reassembled in the correct position, premature wear of the joint and/or excessive driveline vibrations may occur.

  1. Remove the intermediate shaft from the vehicle. Refer to Intermediate Shaft Replacement .
  2. Mount the intermediate shaft bearing arbor securely in a vise.

  3. Object Number: 175631  Size: MH
  4. Remove the intermediate shaft bearing outer seal from the intermediate shaft bearing arbor (1) using the J 23907 with the J 26941 .

  5. Object Number: 175633  Size: SH
  6. Remove one snap ring (2) from the right inner wheel drive shaft (1).

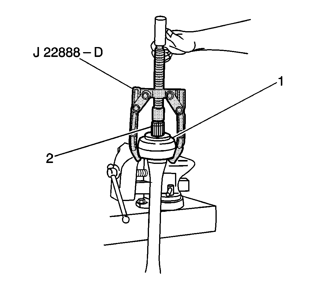
  7. Object Number: 175640  Size: SH
  8. Remove the right inner wheel drive shaft (2) from the intermediate shaft bearing (1) using the J 22888-D .

  9. Object Number: 175634  Size: SH
  10. Remove the intermediate shaft bearing inner seal (1) from the intermediate shaft bearing arbor using the J 26941 with the J 23907 .

  11. Object Number: 175638  Size: SH
  12. Remove the intermediate shaft bearing retaining ring (1) from the intermediate shaft bearing arbor (2).

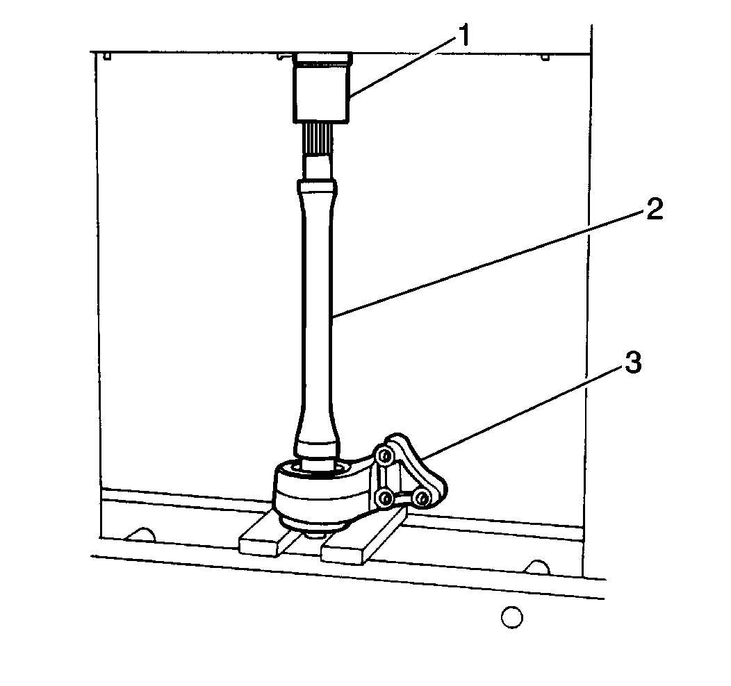
  13. Object Number: 175643  Size: SH
  14. Remove the intermediate shaft bearing (1) from the intermediate shaft bearing arbor (2).

  15. Object Number: 175628  Size: MH
  16. Inspect the intermediate shaft bearing (4) for rough operation, excessive wear or damage. Replace as necessary.
  17. Inspect the inner intermediate shaft bearing seal (6) and outer intermediate shaft bearing seal (1) for excessive wear or damage. Replace as necessary.

Assembly Procedure

Tools Required

J 37751 Oil Seal Installer


    Object Number: 175648  Size: SH

    Important: Make sure the intermediate shaft bearing inner seal (4) is installed with the garter spring lip (1) facing outward.

  1. Apply wheel bearing lubricant GM P/N 1051344, or the equivalent, to the intermediate shaft bearing inner seal lip.
  2. Install the intermediate shaft bearing inner seal (4) into the intermediate shaft bearing (2) arbor. Tap the seal in gently and evenly using a plastic mallet.

  3. Object Number: 175641  Size: SH
  4. Remove the intermediate shaft bearing arbor from the vise and place it on an hydraulic press.
  5. Install the right inner wheel drive shaft (2) into the intermediate shaft bearing using an hydraulic press.

  6. Object Number: 175633  Size: SH
  7. Remove the right inner wheel drive shaft and the intermediate shaft bearing from the hydraulic press and mount securely in a vise.
  8. Install one snap ring (2) onto the right inner wheel drive shaft.
  9. Apply wheel bearing lubricant GM P/N 1051344, or the equivalent, to the intermediate shaft bearing outer seal lip.

  10. Object Number: 175645  Size: SH
  11. Make sure the intermediate shaft bearing outer seal (2) is installed with the garter spring lip (3) facing outward.

  12. Object Number: 175654  Size: SH
  13. Install the intermediate shaft bearing outer seal into the intermediate shaft bearing arbor (1) using the J 37751 .
  14. Remove the intermediate shaft bearing arbor from the vise.
  15. Install the intermediate shaft to the vehicle. Refer to Intermediate Shaft Replacement .