GM Service Manual Online
For 1990-2009 cars only

Removal Procedure

  1. Remove the wheel cylinder. Refer to Wheel Cylinder Replacement .

  2. Object Number: 198244  Size: SH
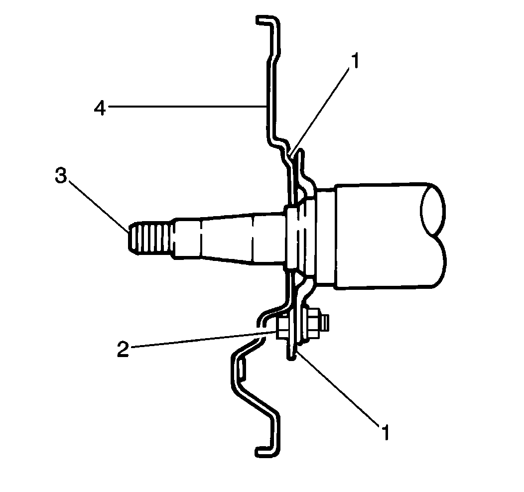
  3. Remove the parking brake cable (3) from the brake backing plate (2) by squeezing the retainer (1) with pliers.
  4. Remove the wheel bearing (if equipped with a drum without a hub). Refer to Rear Wheel Bearing and Hub Replacement in Rear Suspension..

  5. Object Number: 176306  Size: SH
  6. Remove the brake backing plate (1) from the suspension knuckle by removing the four mounting bolts (2).

Installation Procedure


    Object Number: 176312  Size: SH
  1. Apply GM P/N 12346240 (1), or the equivalent, to the mating surfaces of the brake backing plate (4) and the suspension knuckle.
  2. Notice: Use the correct fastener in the correct location. Replacement fasteners must be the correct part number for that application. Fasteners requiring replacement or fasteners requiring the use of thread locking compound or sealant are identified in the service procedure. Do not use paints, lubricants, or corrosion inhibitors on fasteners or fastener joint surfaces unless specified. These coatings affect fastener torque and joint clamping force and may damage the fastener. Use the correct tightening sequence and specifications when installing fasteners in order to avoid damage to parts and systems.

  3. Install the brake backing plate to the knuckle. Secure the backing plate with four bolts.
  4. Tighten
    Tighten the brake backing plate mounting bolts to 23 N·m (17 lb ft).

  5. Install the wheel bearing (if required). Refer to Rear Wheel Bearing and Hub Replacement in Rear Suspension.
  6. Install the parking brake cable to the brake backing plate. Secure with a retainer.
  7. Install the wheel cylinder. Refer to Wheel Cylinder Replacement .
  8. Bleed the brakes. Refer to Hydraulic Brake System Bleeding in Hydraulic Brakes.