GM Service Manual Online
For 1990-2009 cars only

Temperature Lever

Cold Position


Object Number: 345917  Size: MF
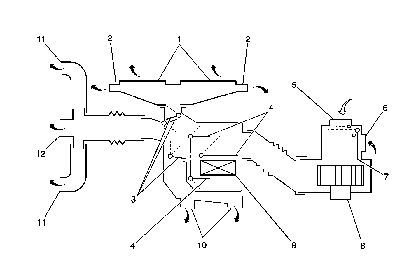
(1)Front Defrost Outlet
(2)Side Defogger Outlets
(2)Side Defogger Outlets
(3)Mode Control Doors
(4)Temperature Control Doors
(4)Temperature Control Doors
(5)Fresh Air Inlet
(6)Recirculate Air Inlet
(7)Fresh/Recirculate Door
(8)Blower Motor
(9)Heater Core
(10)Floor Outlets
(11)Side Vent Outlets
(11)Side Vent Outlets
(12)Center Vent Outlets

Hot Position


Object Number: 345923  Size: MF
(1)Front Defrost Outlet
(2)Side Defogger Outlets
(2)Side Defogger Outlets
(3)Fresh Air Inlet
(4)Recirculate Air Inlet
(5)Blower Motor
(6)Heater Core
(7)Floor Outlets
(8)Side Vent Outlets
(8)Side Vent Outlets
(9)Center Vent Outlets

The temperature lever controls the amount of air flow through the heater core. The temperature lever regulates the temperature of the air that enters the vehicle.

When the temperature lever is moved completely to the left or the full COLD position, the air mix door closes in order to block the flow of air to the heater core. When the lever is moved completely to the right or the full HOT (red) position, the air mix door opens fully in order to allow the air to flow through the heater core.

Moving the temperature lever in between these 2 extremes allows the driver to adjust the passenger compartment temperature to the most comfortable level.

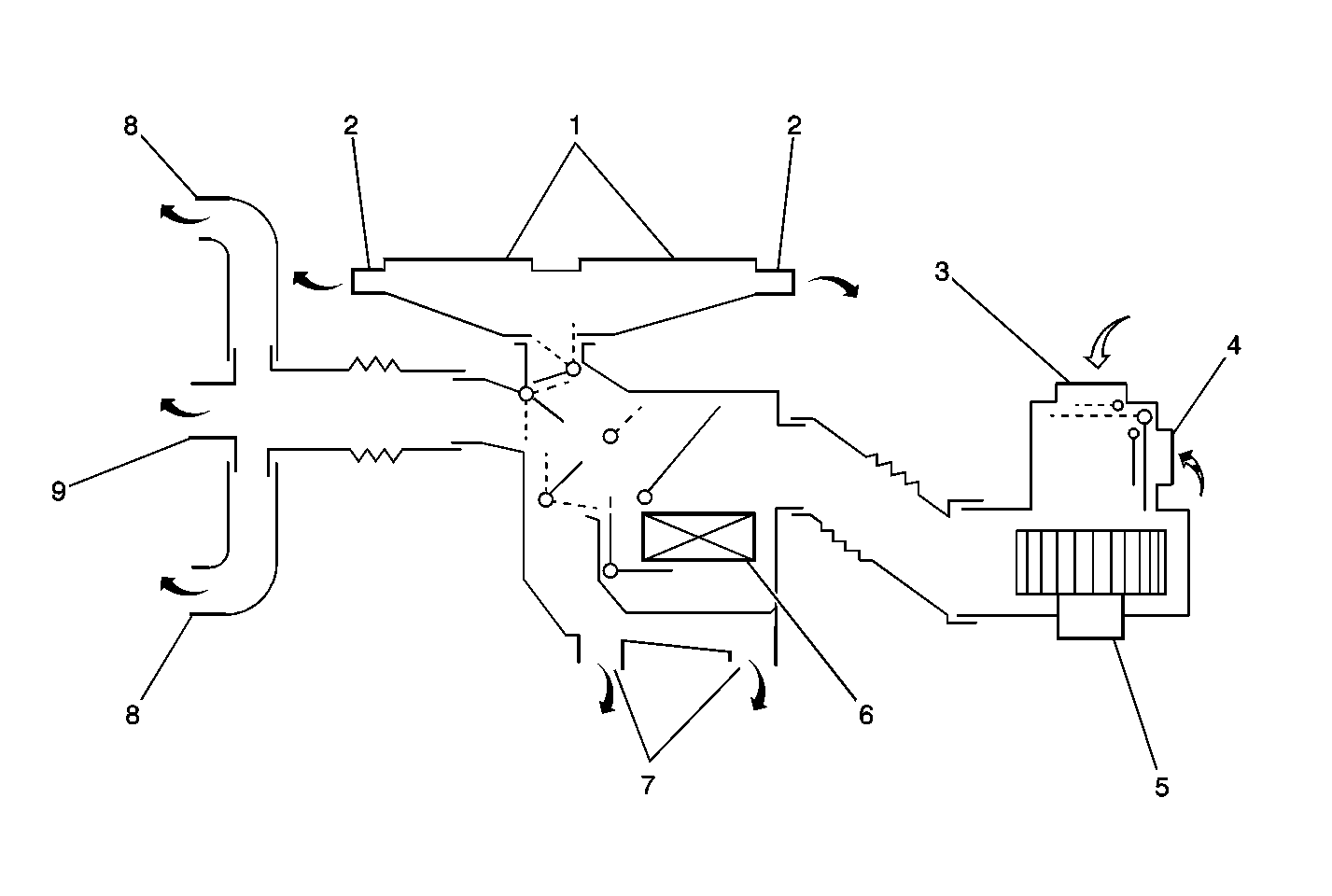
Mode Lever

The mode lever allows the driver to route air into the passenger compartment through different outlets. The mode lever operates as follows:

Ventilation


Object Number: 345893  Size: MF
(1)Front Defrost Outlet
(2)Side Defogger Outlets
(2)Side Defogger Outlets
(3)Fresh Air Inlet
(4)Recirculate Air Inlet
(5)Blower Motor
(6)Heater Core
(7)Floor Outlets
(8)Side Vent Outlets
(8)Side Vent Outlets
(9)Center Vent Outlets

In this position, air is discharged from the upper air outlet. The blower speed control lever controls air quantity. The vehicle speed also affects the air quantity when the fresh/recirc lever is set in FRESH. As the vehicle moves faster, more air is delivered into the passenger compartment. Some air is delivered even when the blower speed is in the OFF position.

Bi-Level


Object Number: 345898  Size: MF
(1)Front Defrost Outlet
(2)Side Defogger Outlets
(2)Side Defogger Outlets
(3)Fresh Air Inlet
(4)Recirculate Air Inlet
(5)Blower Motor
(6)Heater Core
(7)Floor Outlets
(8)Side Vent Outlets
(8)Side Vent Outlets
(9)Center Vent Outlets

In this position, airflow is divided between the upper air outlets and the floor air outlets. Warmer air is delivered to the floor outlets than the air that is delivered to the upper air outlets.

Heat


Object Number: 345906  Size: MF
(1)Front Defrost Outlet
(2)Side Defogger Outlets
(2)Side Defogger Outlets
(3)Fresh Air Inlet
(4)Recirculate Air Inlet
(5)Blower Motor
(6)Heater Core
(7)Floor Outlets
(8)Side Vent Outlets
(8)Side Vent Outlets
(9)Center Vent Outlets

In this position, heated air is directed toward the floor outlet. A small amount of heated air is directed toward the windshield.

Heat/Defrost


Object Number: 345907  Size: MF
(1)Front Defrost Outlet
(2)Side Defogger Outlets
(2)Side Defogger Outlets
(3)Fresh Air Inlet
(4)Recirculate Air Inlet
(5)Blower Motor
(6)Heater Core
(7)Floor Outlets
(8)Side Vent Outlets
(8)Side Vent Outlets
(9)Center Vent Outlets

In this position, a portion of the heated air is routed to the windshield while the remaining air is delivered to the floor and the side window outlets.

Defrost


Object Number: 345912  Size: MF
(1)Front Defrost Outlet
(2)Side Defogger Outlets
(2)Side Defogger Outlets
(3)Fresh Air Inlet
(4)Recirculate Air Inlet
(5)Blower Motor
(6)Heater Core
(7)Floor Outlets
(8)Side Vent Outlets
(8)Side Vent Outlets
(9)Center Vent Outlets

In this position, most of the air is directed to the windshield with a small amount of air delivered to the side windows and the floor.

Blower Speed Lever


Object Number: 345942  Size: SH

The blower speed lever regulates the amount of air delivered into the passenger compartment. The blower speed lever has 5 positions: OFF and speeds 1-4. The blower motor is in the blower case and located behind the right side of the IP.

Fresh/Recirc Lever

Fresh/Recirc (Outside Air)


Object Number: 345931  Size: MF
(1)Front Defrost Outlet
(2)Side Defogger Outlets
(2)Side Defogger Outlets
(3)Fresh Air Inlet
(4)Recirculate Air Inlet
(5)Blower Motor
(6)Heater Core
(7)Floor Outlets
(8)Side Vent Outlets
(8)Side Vent Outlets
(9)Center Vent Outlets

Fresh/Recirc (Inside Air)


Object Number: 345940  Size: MF
(1)Front Defrost Outlet
(2)Side Defogger Outlets
(2)Side Defogger Outlets
(3)Fresh Air Inlet
(4)Recirculate Air Inlet
(5)Blower Motor
(6)Heater Core
(7)Floor Outlets
(8)Side Vent Outlets
(8)Side Vent Outlets
(9)Center Vent Outlets

The fresh/recirc lever determines whether fresh outside air or recirculated passenger compartment air enters the vehicle's heater and ventilation system.

Moving the fresh/recirc lever to the recirculate position closes the blower mode door. This provides the quickest air delivery. In this position, outside air is not delivered to the passenger compartment. Because the vehicle is equipped with a full-time outside air system, a small amount of outside air constantly enters the passenger compartment. The recirculate mode heats the passenger compartment faster. During normal heater operation, use the fresh mode in order to prevent window fogging.