GM Service Manual Online
For 1990-2009 cars only

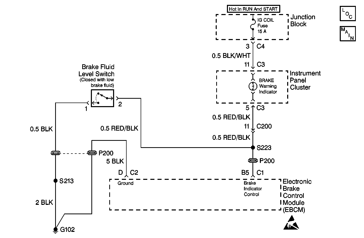
Object Number: 234293  Size: MF
ABS Components
Antilock Brake System Schematics
Handling ESD Sensitive Parts Notice

Circuit Description

DTC C1286 is provided as an "information only" test and reflects the status of the command issued by the EBCM to illuminate the red BRAKE warning indicator.

Conditions for Setting the DTC

When another diagnostic DTC issues a command to illuminate the red BRAKE warning indicator, DTC C1286 will be stored in memory as a history DTC at the conclusion of the ignition cycle.

Action Taken When the DTC Sets

    • A malfunction DTC stores.
    • The ABS disables.
    • The ABS warning indicator turns ON.
    • The red Brake warning indicator turns ON.

Conditions for Clearing the DTC

    • The condition responsible for setting the DTC no longer exists and the Scan Tool Clear DTCs function is used.
    • 100 drive cycles pass with no DTCs detected. A drive cycle consists of starting the vehicle, driving the vehicle over 16 km/h (10 mph), stopping and then turning the ignition OFF.

Diagnostic Aids

The following ABS mechanical DTCs command the red BRAKE warning indicator to illuminate. The DTCs will also cause the EBCM to store DTC C1286 during shutdown:

    • C1242
    • C1246
    • C1251

If the motors are not in their home position, the following electrical DTCs will also command the red BRAKE warning indicator ON:

    • C1214
    • C1216
    • C1218
    • C1236
    • C1255
    • C1264
    • C1265
    • C1266
    • C1282

If any of the electrical DTCs are indicated along with DTC C1286, correct the electrical DTCs prior to addressing a DTC C1286 malfunction.

Step

Action

Value(s)

Yes

No

1

Was the ABS Diagnostic System Check performed?

--

Go to Step 2

Go to Diagnostic System Check - ABS

2

  1. Turn the ignition switch to the ON position.
  2. Do not start the engine.

  3. Install the Scan Tool .
  4. Use the Scan Tool in order to inspect for DTCs.

Is DTC C1286 set as a Current or History DTC?

--

Go to Diagnostic System Check - ABS

Go to Step 3

3

Use the Scan Tool in order to clear DTC C1286.

Was DTC C1286 cleared?

--

Go to Diagnostic System Check - ABS

--