GM Service Manual Online
For 1990-2009 cars only

Caution: Gasoline or gasoline vapors are highly flammable. A fire could occur if an ignition source is present. Never drain or store gasoline or diesel fuel in an open container, due to the possibility of fire or explosion. Have a dry chemical (Class B) fire extinguisher nearby.

  1. Remove the fuel sender assembly from the fuel tank. Refer to Fuel Sender Assembly Replacement .

  2. Object Number: 332234  Size: SH
  3. Disconnect the electrical connector (1) from the fuel sender assembly.

  4. Object Number: 332237  Size: SH

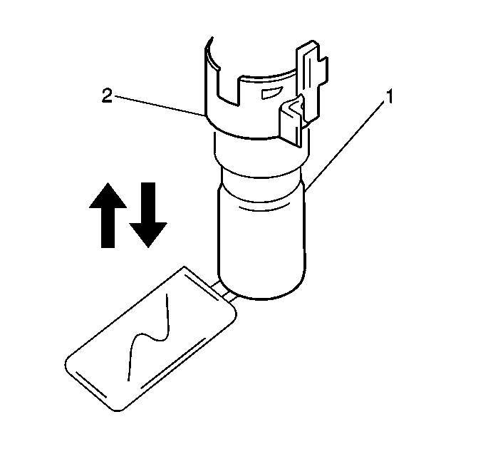
    Important: Do not apply pressure to the sensor resistor plate or to the float arm. Pressure can deform these parts and cause the parts to operate incorrectly.

  5. Depress the retaining tab (1), and slide the fuel level sensor assembly down in order to remove the sensor from the fuel sender assembly.

  6. Object Number: 332243  Size: SH
  7. Remove the lower assembly end cap (1) by releasing the 3 snap-fit retainers with a screwdriver (2).

  8. Object Number: 332246  Size: SH
  9. Remove the fuel pump cushion (1).

  10. Object Number: 332248  Size: SH
  11. Disconnect the 2 fuel pump electrical connections (1) from the fuel sender sub-assembly.

  12. Object Number: 355412  Size: SH
  13. Pull the fuel pump (1) firmly down out of the fuel sender assembly housing (2).
  14. Release the 3 snap-fit retainers that secure the housing (2) to the fuel sender sub-assembly, and remove the housing.

  15. Object Number: 332249  Size: SH

    Important: When removing the fuel tube and the grommets, be careful not to damage the sealing surfaces. If the sealing surfaces are damaged, a fuel leak may occur.

  16. Remove the fuel tube (4) and the 2 grommets (3) from the fuel sender sub-assembly. The fuel sender sub-assembly contains the fuel filter and must be serviced as an assembly.

Important: Use of new grommets, new cushions, and new spacers is recommended in order to prevent failure and fuel pressure loss.


    Object Number: 332249  Size: SH
  1. Install the spacer (2) onto the fuel pump outlet pipe.
  2. Lubricate the grommets (3) with engine oil, and install the 2 grommets (3) and the fuel tube (4) into the fuel sender sub-assembly.

  3. Object Number: 355412  Size: SH
  4. Install the housing (2) to the fuel sender sub-assembly, and interlock the 3 snap-fit retainers.
  5. Install the fuel pump (1) through the housing (2) and into the fuel sender sub-assembly. Align the fuel pump outlet pipe with the fuel tube in the sub-assembly.

  6. Object Number: 332246  Size: SH
  7. Install the fuel pump cushion (1) between the fuel pump and the lower assembly end cap.
  8. Attach the lower assembly end cap to the housing, and interlock the 3 snap-fit retainers

  9. Object Number: 332248  Size: SH
  10. Connect the 2 fuel pump electrical connectors (1) to the fuel sender assembly.

  11. Object Number: 332251  Size: SH
  12. Insert the locating-tab (1) on the fuel level sensor assembly into the channel (2) on the fuel sender assembly. Slide the sensor assembly upward until the assembly is locked into place.

  13. Object Number: 332234  Size: SH
  14. Connect the electrical connector (1) to the fuel sender assembly.
  15. Install the fuel sender assembly into the fuel tank. Refer to Fuel Sender Assembly Replacement .