GM Service Manual Online
For 1990-2009 cars only

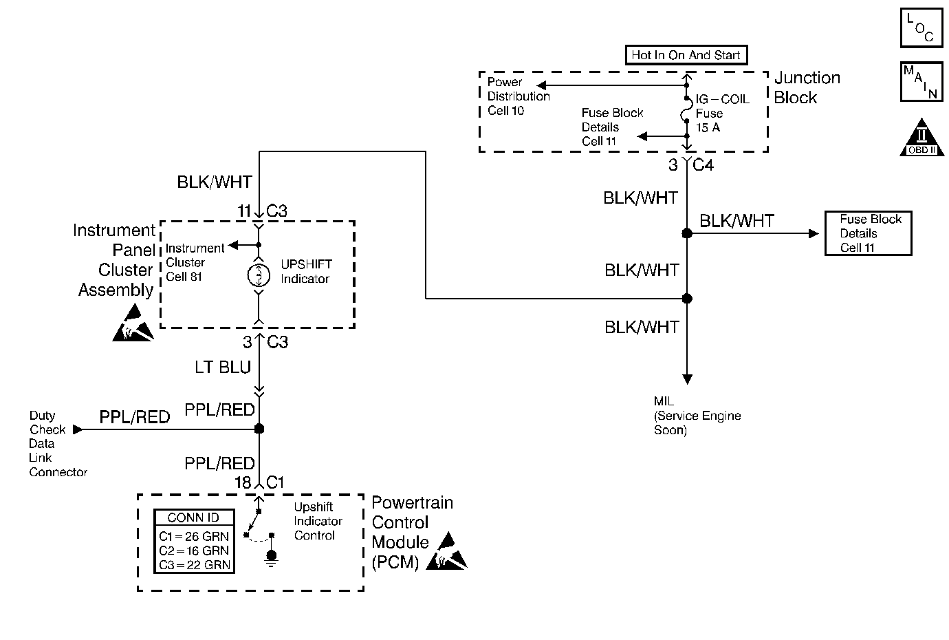
Object Number: 280729  Size: MF
Engine Controls Components
Cell 20: MIL and DLC
OBD II Symbol Description Notice
Handling ESD Sensitive Parts Notice
Handling ESD Sensitive Parts Notice

Circuit Description

The powertrain control module (PCM) controls the upshift indicator lamp. The upshift indicator lamp is illuminated when the upshift indicator control circuit from the instrument panel cluster assembly is grounded by the PCM. The upshift indicator lamp will be illuminated all the time if the lamp control circuit is shorted to ground. The lamp will not illuminate if the upshift indicator lamp circuit is open.

Operation

The upshift indicator lamp illuminates when the preferred transaxle shift point for maximum fuel economy is reached. The upshift indicator lamp illuminates for approximately 5 seconds. The upshift indicator lamp can illuminate when vehicle speed is more than 5 km/h (3 mph), and engine speed is higher than a specified value. The engine speed necessary for the PCM to illuminate the upshift indicator lamp varies with intake manifold pressure (MAP) and with engine coolant temperature (ECT).

Diagnostic Aids

Check for correct PCM calibration or for correct application if the upshift indicator lamp illuminates at inappropriate engine speeds.

A fault in the upshift indicator lamp circuit may cause an intermittent malfunction. Inspect the wiring harness and the components for any of the following conditions:

    • Backed out terminals
    • Incorrect mating of terminals
    • Broken electrical connector locks
    • Incorrectly formed terminals or damaged terminals
    • Faulty terminal-to-wire connections
    • Physical damage to the wiring harness
    • A broken wire inside the insulation
    • Corrosion of electrical connections, of splices, or of terminals

Test Description

The numbers below refer to the step numbers in the Diagnostic Table.

  1. The Powertrain OBD System Check prompts the technician to complete some basic checks, and to store the applicable freeze frame data on the scan tool. This creates an electronic copy of the data that was taken when the fault occurred. The scan tool stores the information for later reference.

  2. This step checks the operation of the upshift indicator with the ignition switch ON.

Step

Action

Value(s)

Yes

No

1

Did you perform the Powertrain On-Board Diagnostic (OBD) System Check?

--

Go to Step 2

Go to Powertrain On Board Diagnostic (OBD) System Check

2

Turn ON the ignition, leaving the engine OFF.

Is the upshift indicator lamp illuminated?

--

Go to Step 3

Go to Step 6

3

Start the engine.

Did the upshift indicator lamp turn OFF?

--

Go to Diagnostic Aids

Go to Step 4

4

  1. Check for a short to ground in the upshift indicator control circuit between the instrument panel cluster assembly, the PCM, and the duty check data link connector.
  2. Repair as necessary. Refer to Wiring Repairs in Wiring Systems.

Was a repair necessary?

--

Go to Step 11

Go to Step 5

5

  1. Check for a short to ground in the IP printed circuit. Refer to Instrument Cluster Replacement in Instrument Panel, Gauges and Console.
  2. Repair as necessary.

Was a repair necessary?

--

Go to Step 11

Go to Step 10

6

  1. Turn OFF the ignition.
  2. Disconnect the PCM electrical connectors.
  3. Connect a fused jumper wire from the harness side of the upshift indicator control circuit to ground.
  4. Turn ON the ignition, leaving the engine OFF.

Is the upshift indicator lamp illuminated?

--

Go to Step 10

Go to Step 7

7

  1. Disconnect the jumper wire.
  2. Back probe the IP cluster assembly connector C3 with the fused jumper wire from terminal 3 to ground.

Is the upshift indicator lamp illuminated?

--

Go to Step 8

Go to Step 9

8

Check for an open in the upshift indicator control circuit between the instrument panel cluster assembly and the PCM. Repair as necessary. Refer to Wiring Repairs in Wiring Systems.

Was a repair necessary?

--

Go to Step 11

Go to Step 10

9

  1. Check for any of the following conditions:
  2. • An open IG-COIL fuse.
    • An upshift indicator lamp bulb that is faulty.
    • An open in the ignition feed circuit to the instrument panel cluster assembly Refer to Wiring Repairs in Wiring Systems.
    • A faulty connection at the instrument panel cluster assembly.
    • An open in the IP printed-circuit board.
  3. Repair any conditions that are found in the checks above.

Were any repairs necessary?

--

Go to Step 11

Go to Diagnostic Aids

10

Replace the PCM. Refer to Powertrain Control Module Replacement .

Is the action complete?

--

Go to Step 11

--

11

Operate the vehicle within the conditions under which the original symptom was noted.

Does the system now operate correctly?

--

System OK

Go to Symptoms