GM Service Manual Online
For 1990-2009 cars only
Figure 1:

Cell 21: Power and Ground


Object Number: 278544  Size: FS
Figure 2:

Cell 21: MIL and DLC


Object Number: 278546  Size: FS
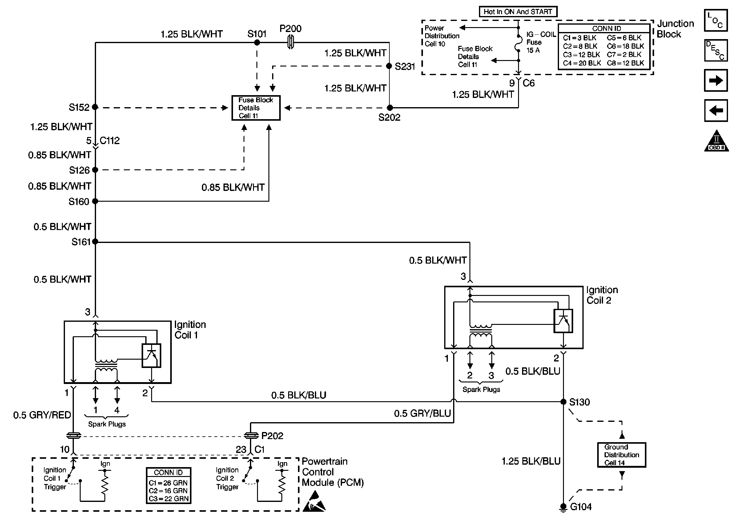
Figure 3:

Cell 21: Ignition System


Object Number: 443996  Size: FS
Figure 4:

Cell 21: CMP Sensor and CKP Sensor


Object Number: 278551  Size: FS
Figure 5:

Cell 21: Fuel Supply System


Object Number: 278552  Size: FS
Figure 6:

Cell 21: Fuel Injectors


Object Number: 278553  Size: FS
Figure 7:

Cell 21: Engine Data Sensors


Object Number: 278554  Size: FS
Figure 8:

Cell 21: HO2S Sensors


Object Number: 278555  Size: FS
Figure 9:

Cell 21: Idle Air Control


Object Number: 278558  Size: FS
Figure 10:

Cell 21: Idle-Up Signals


Object Number: 278559  Size: FS
Figure 11:

Cell 21: EVAP Controls


Object Number: 278556  Size: FS
Figure 12:

Cell 21: A/T Controls


Object Number: 278560  Size: FS
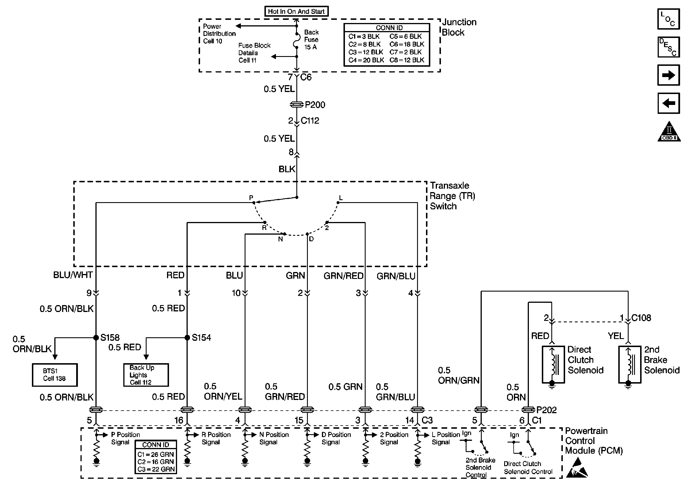
Figure 13:

Cell 21: CPP Switch/TR Switch


Object Number: 278549  Size: FS
Figure 14:

Cell 21: Cooling Fan Controls and A/C Controls


Object Number: 278543  Size: FS