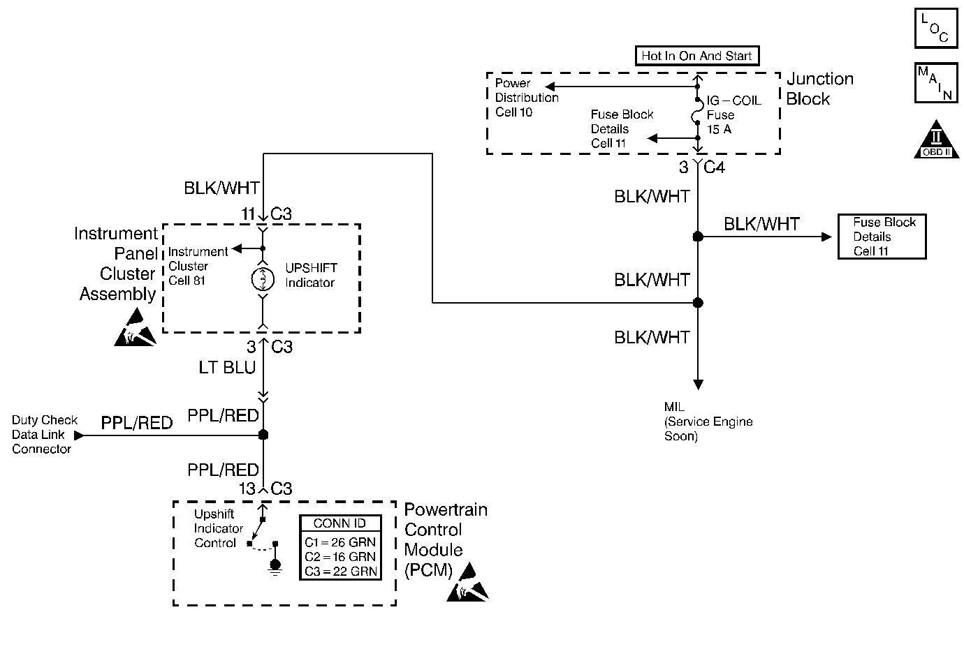
The powertrain control module (PCM) controls the upshift indicator lamp. The upshift indicator lamp is illuminated when the upshift indicator control circuit from the instrument panel cluster assembly is grounded by the PCM. If the lamp control circuit is shorted to ground, the upshift indicator lamp will be illuminated continuously. If the upshift indicator lamp circuit is open, the upshift indicator lamp will not illuminate when commanded by the PCM.
The upshift indicator lamp illuminates when the preferred transaxle shift point for maximum fuel economy is reached. The upshift indicator lamp remains illuminated for approximately 5 seconds. The upshift indicator lamp can illuminate if vehicle speed is more than 5 km/h (3 mph) and engine speed is higher a specified value. The engine speed necessary for the PCM to illuminate the upshift indicator lamp varies with intake manifold pressure (MAP) and with engine coolant temperature (ECT).
Check for correct PCM calibration or for application if the upshift indicator lamp illuminates at inappropriate engine speeds.
A fault in the upshift indicator lamp circuit may cause an intermittent malfunction. Inspect the wiring harness and the components for any of the following conditions:
| • | Backed out terminals |
| • | Incorrect mating of terminals |
| • | Broken electrical connector locks |
| • | Incorrectly formed terminals or damaged terminals |
| • | Faulty terminal-to-wire connections |
| • | Physical damage to the wiring harness |
| • | A broken wire inside the insulation |
| • | Corrosion of electrical connections, of electrical splices, or of terminals |
The numbers below refer to the step numbers in the diagnostic table.
The Powertrain OBD System Check prompts the technician to complete some basic checks, and to store the applicable freeze frame data on the scan tool. This creates an electronic copy of the data that was taken when the fault occurred. The scan tool stores the information for later reference.
This step checks the operation of the upshift indicator with the ignition switch ON.
Step | Action | Value(s) | Yes | No | ||||||||||
|---|---|---|---|---|---|---|---|---|---|---|---|---|---|---|
Did you perform the Powertrain On-Board Diagnostic (OBD) System Check? | -- | |||||||||||||
Turn ON the ignition, leaving the engine OFF. Is the upshift indicator lamp illuminated? | -- | |||||||||||||
3 | Start the engine. Did the upshift indicator lamp turn OFF? | -- | Go to Diagnostic Aids | |||||||||||
4 |
Was a repair necessary? | -- | ||||||||||||
5 |
Was a repair necessary? | -- | ||||||||||||
6 |
Is the upshift indicator lamp illuminated? | -- | ||||||||||||
7 |
Is the upshift indicator lamp illuminated? | -- | ||||||||||||
8 | Check for an open in the upshift indicator control circuit between the instrument panel cluster assembly and the PCM. Repair the condition as necessary. Refer to Wiring Repairs in Wiring Systems. Was a repair necessary? | -- | ||||||||||||
9 |
Were any repairs necessary? | -- | Go to Diagnostic Aids | |||||||||||
10 | Replace the PCM. Is the action complete? | -- | -- | |||||||||||
11 | Operate the vehicle within the conditions under which the original symptom was noted. Does the system now operate correctly? | -- | System OK | Go to Symptoms |