GM Service Manual Online
For 1990-2009 cars only

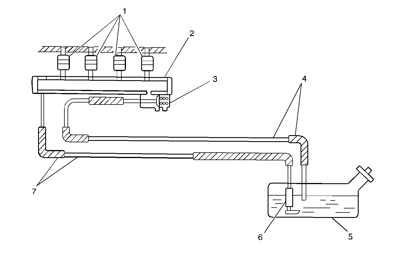
Object Number: 232675  Size: MF
(1)Fuel Injectors
(2)Fuel Rail
(3)Fuel Pressure Regulator
(4)Fuel Return Pipes/Hoses
(5)Fuel Tank
(6)Fuel Pump
(7)Fuel Feed Pipes/Hoses

The function of the fuel metering system is deliver the correct amount of fuel to the engine under all operating conditions. The fuel injectors deliver fuel to each cylinder. The powertrain control module controls the fuel injectors sequentially . The powertrain control module bases the control of the fuel injectors on important engine parameters. These engine parameters include the following:

    • The manifold absolute pressure (MAP) sensor
    • The engine coolant temperature (ECT) sensor
    • The intake air temperature (IAT) sensor
    • The throttle position (TP) sensor
    • The engine speed (RPM)
    • The heated oxygen sensor (HO2S)

Determining the air density is critical to correct air and fuel management. The IAT and the MAP are the main inputs for the air density measurement. The IAT sensor measures the temperature of the air that is entering the engine. The MAP sensor measures the air pressure in the intake manifold. If the intake manifold pressure increases, the air density in the intake manifold also increases, requiring additional fuel. The PCM uses the information from these sensors in calculating the air density in order to adjust the fuel-injector pulse width.

The fuel metering system consists of the air/fuel delivery system and the electronic control system. This section covers the air/fuel delivery system. For information on the electronic control system refer to Powertrain Control Module Description and to Information Sensors/Switches Description .