GM Service Manual Online
For 1990-2009 cars only

Solenoid Removal Procedure

  1. Remove the starter from the vehicle. Refer to Starter Motor Replacement .

  2. Object Number: 431719  Size: SH
  3. Scribe matchmarks (2) on the solenoid and on the drive housing in order to ensure correct solenoid installation.

  4. Object Number: 431720  Size: SH
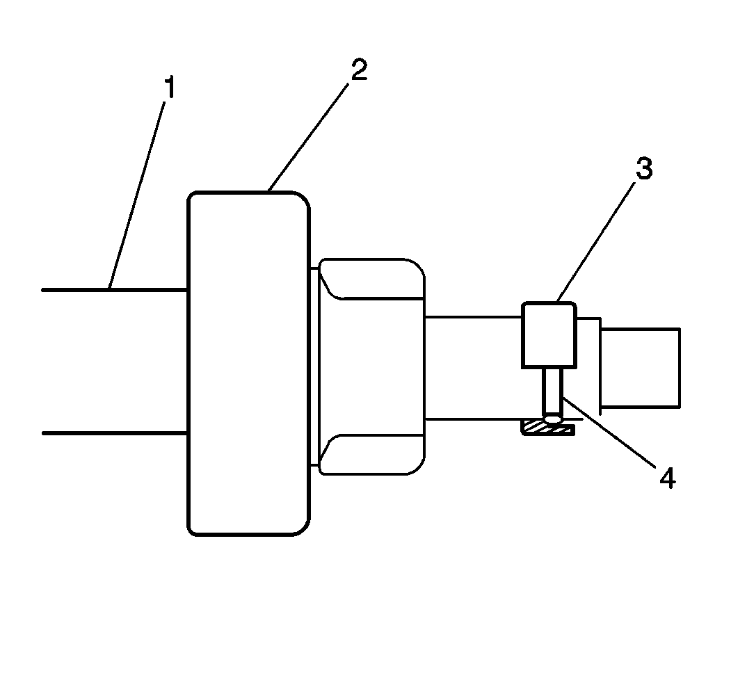
  5. Remove the nut and the field coil lead wire (2) from the solenoid.

  6. Object Number: 431721  Size: SH
  7. Remove the 2 screws and the solenoid (1) from the drive housing.

Manual Transaxle Starter Disassembly Procedure

  1. Remove the following components from the yoke:
  2. • Two bolts
    • Two screws
    • The end cover of the commutator
  3. Remove the commutator end bushing and the washers from the yoke.
  4. Scribe matchmarks on the yoke and on the drive housing in order to ensure correct assembly.

  5. Object Number: 185742  Size: SH
  6. Remove the drive housing from the yoke (3).
  7. Remove the pinion drive lever from the drive housing (1).
  8. Remove the armature from the yoke.

  9. Object Number: 185737  Size: SH
  10. Remove the brush holder (3) from the yoke (2).
  11. Remove the brushes (4) from the brush holder.
  12. Remove the drive bushing from the armature.

  13. Object Number: 185739  Size: SH
  14. Pull the armature stop ring (3) toward the overrunning clutch assembly (2), and remove the armature retaining ring (4) from the armature (1).
  15. Remove the armature stop ring and the overrunning clutch assembly from the armature.

Automatic Transaxle Starter Disassembly Procedure


    Object Number: 168486  Size: SH
  1. Remove the following components:
  2. • Two screws
    • Two bolts
    • The commutator end cover with the spring washer (2)
  3. Remove the brush holder from the yoke.
  4. Remove the brushes from the brush holder.
  5. Remove the armature bushing from the armature.

  6. Object Number: 168488  Size: SH
  7. Remove the armature (1) from the yoke (2).
  8. Scribe matchmarks on the yoke and drive housing in order to ensure correct assembly.
  9. Remove the yoke from the drive housing.
  10. Remove the armature bearing from the gear shaft.

  11. Object Number: 168493  Size: SH
  12. Remove the retainer (2) and the 3 idle gears (3) from the drive housing (1).

  13. Object Number: 168496  Size: SH
  14. Remove the pinion drive lever seal (3) and the plate (4) from the drive housing (1).

  15. Object Number: 168499  Size: SH
  16. Remove the gear shaft assembly with the pinion drive lever (4) from the drive housing (1).

  17. Object Number: 168503  Size: SH
  18. Pull the overrunning clutch stop ring (4) towards the overrunning clutch assembly (1), and remove the overrunning clutch retaining ring (2).
  19. Remove the overrunning clutch stop ring and the overrunning clutch assembly from the gear shaft assembly.
  20. Remove the internal gear from the gear shaft (3).

Inspection Procedure

Tools Required

    • J 544-01 Tension Scale
    • J 8001 Dial Indicator
    • J 26900-13 Magnetic Base
    • J 26900-5 Vernier Caliper
    • J 39200 Digital Multimeter

    Notice: Do not use grease dissolving solvents for cleaning the overrunning clutch or armature. Solvents dissolve the grease packed in the clutch and damage the armature and the field coil insulation.

  1. Clean all starter motor parts.

  2. Object Number: 168510  Size: SH
  3. Remove burn marks and dirt from the commutator end (2) of the armature (1) by sanding with a #300 or with a #400 grit sandpaper. Wipe the parts with a clean shop cloth.

  4. Object Number: 243860  Size: SH
  5. Place the armature onto a pair of V-blocks (1). Measure the commutator run-out using the J 8001 with the J 26900-13 . Replace the armature if the run-out exceeds the maximum.
  6. Standard Commutator Run-out
    0.05 mm (0.002 in)

    Maximum Commutator Run-out
    0.40 mm (0.016 in)


    Object Number: 168519  Size: SH
  7. Measure the outside diameter of the commutator (2) using the J 26900-5 . Replace the armature if the diameter of the commutator is less than the minimum.
  8. Standard Commutator Outside Diameter -- Automatic Transaxle
    29.4 mm (1.157 in)

    Minimum Commutator Outside Diameter -- Automatic Transaxle
    28.8 mm (1.134 in)

    Standard Commutator Outside Diameter -- Manual Transaxle
    32.0 mm (1.260 in)

    Minimum Commutator Outside Diameter -- Manual Transaxle
    31.4 mm (1.236 in)


    Object Number: 168514  Size: SH
  9. Measure the commutator insulation depth (2).
  10. Standard Insulation Depth -- Automatic Transaxle
    0.5-0.8 mm (0.020-0.031 in)

    Standard Insulation Depth -- Manual Transaxle
    0.4-0.6 mm (0.016-0.024 in)

  11. If the insulation depth is less than 0.2 mm (0.008 in), replace the armature.

  12. Object Number: 168522  Size: SH
  13. Measure the resistance between the armature core (1) and the commutator (2) using J 39200 . If the resistance is 5.0 ohms or less, the armature is grounded . Replace the armature.

  14. Object Number: 243862  Size: SH
  15. Measure the resistance between the commutator segments using J 39200 . If resistance is greater than 5.0 ohms at any test point, an open circuit exists in the commutator. Replace the armature.

  16. Object Number: 243865  Size: SH
  17. With a manual transaxle, measure the resistance between the field coil lead wire and the yoke using J 39200 . If the resistance is 5 ohms or less, the field windings are grounded. Replace the yoke.

  18. Object Number: 168527  Size: SH
  19. Measure the brush length (1) using the J 26900-5 . If the brush length is less than the minimum, replace the brush.
  20. Standard Brush Length -- Automatic Transaxle
    17.5 mm (0.69 in)

    Minimum Brush Length -- Automatic Transaxle
    12.0 mm (0.47 in)

    Standard Brush Length -- Manual Transaxle
    17.0 mm (0.67 in)

    Minimum Brush Length -- Manual Transaxle
    11.5 mm (0.45 in)


    Object Number: 243880  Size: SH
  21. Measure the resistance between the positive brush holder and the negative brush holder using J 39200 . If the resistance is 5.0 ohms or less, the brush holder is grounded. Replace the brush holder.

  22. Object Number: 168533  Size: SH
  23. Measure the brush spring tension using the J 544-01 . If the tension is less than the minimum, replace the spring.
  24. Standard Tension -- Automatic Transaxle
    2.1 kg (4.63 lb)

    Minimum Tension -- Automatic Transaxle
    0.7 kg (1.54 lb)

    Standard Tension -- Manual Transaxle
    1.6 kg (3.53 lb)

    Minimum Tension -- Manual Transaxle
    1.0 kg (2.20 lb)


    Object Number: 168540  Size: SH
  25. Measure the resistance of the pull-in coil of the starter solenoid (1) between terminal S (2) and terminal J 39200 M using . If the resistance is greater than 5.0 ohms, the pull-in coil is open. Replace the starter solenoid.

  26. Object Number: 168537  Size: SH
  27. Measure resistance of the hold-in coil of the starter solenoid (1) between terminal S (3) and the solenoid case (1) J 39200 using. If the resistance is greater than 5.0 ohms, the hold-in coil is open. Replace the starter solenoid.

  28. Object Number: 168499  Size: SH
  29. Inspect the pinion drive lever (4) for wear. Replace the pinion drive lever, as necessary.

  30. Object Number: 168539  Size: SH
  31. Inspect the overrunning clutch (1) for wear, for damage, or for other conditions. Verify that the clutch locks when turned in the drive direction, and that the clutch rotates smoothly in the reverse direction. Replace the clutch, as necessary.

  32. Object Number: 168542  Size: SH
  33. Inspect the overrunning clutch spline teeth (1) for wear or for damage. Replace the clutch, as necessary.

  34. Object Number: 168543  Size: SH
  35. Inspect the armature bushing for wear and for damage. Replace the armature bushing, as necessary.
  36. On vehicles with automatic transaxles, inspect the armature bearing (1) for wear and for damage. Replace the armature bearing, as necessary.
  37. On vehicles with manual transaxles, inspect the commutator end bushing for wear and for damage. Replace the commutator, as necessary.

  38. Object Number: 168545  Size: SH
  39. Press and release the starter solenoid plunger in order to inspect the operation. If the plunger does not return quickly, replace the starter solenoid (1).

  40. Object Number: 168546  Size: SH
  41. Inspect the internal gear assembly (1) and the idle gears (2,3) for wear, for damage, or for other conditions. Replace the gears, as necessary.
  42. Inspect the brush springs for corrosion or for damage. Inspect the brush holder and the insulation on the positive plates for wear. Replace the components, if necessary.

Manual Transaxle Starter Assembly Procedure

  1. Lightly lubricate the armature shaft and the overrunning clutch with Lubriplate lubricant GM P/N 1050109, or with the equivalent.

  2. Object Number: 185739  Size: SH
  3. Install the overrunning clutch assembly (2) to the armature (1).
  4. Install the armature retaining ring (4) to the armature. Slide the armature stop ring (3) away from the overrunning clutch assembly in order to cover the armature retaining ring.
  5. Lightly lubricate the drive bushing with Lubriplate lubricant GM P/N 1050109, or with the equivalent.
  6. Install the drive bushing to the armature.

  7. Object Number: 185737  Size: SH
  8. Install the brush holder (3) to the yoke (2).

  9. Object Number: 168487  Size: SH
  10. Install the brushes (4) to the brush holder (1).
  11. Important: The brushes must contact the commutator end after installation.

  12. Install the armature to the yoke (2).
  13. Lightly lubricate the contact points of the pinion drive lever with Lubriplate lubricant GM P/N 1050109, or with the equivalent.
  14. Install the pinion drive lever to the drive housing.
  15. Install the drive housing (1) to the yoke (3), aligning the drive housing-to-yoke matchmarks.
  16. Lightly lubricate the commutator end bushing with Lubriplate lubricant GM P/N 1050109, or with the equivalent.
  17. Install the commutator end bushing and the washers to the yoke.
  18. Notice: Use the correct fastener in the correct location. Replacement fasteners must be the correct part number for that application. Fasteners requiring replacement or fasteners requiring the use of thread locking compound or sealant are identified in the service procedure. Do not use paints, lubricants, or corrosion inhibitors on fasteners or fastener joint surfaces unless specified. These coatings affect fastener torque and joint clamping force and may damage the fastener. Use the correct tightening sequence and specifications when installing fasteners in order to avoid damage to parts and systems.

  19. Install the commutator end cover to the yoke. Install the 2 bolts and the 2 screws.
  20. Tighten
    Tighten the bolts to 8 N·m (71 in lb).

  21. Install the solenoid.

Automatic Transaxle Starter Assembly Procedure

  1. Lightly lubricate the gear shaft with Lubriplate lubricant GM P/N 1050109, or with the equivalent.

  2. Object Number: 168503  Size: SH
  3. Install the internal gear to the gear shaft (3).
  4. Install the overrunning clutch assembly and the overrunning clutch stop ring to the gear shaft assembly.
  5. Install the overrunning clutch retaining ring to the gear shaft assembly. Slide the overrunning clutch stop ring (4) away from the overrunning clutch assembly in order to cover the overrunning clutch retaining ring (2).
  6. Lightly lubricate the contact points of the pinion drive lever with Lubriplate lubricant GM P/N 1050109, or with the equivalent.

  7. Object Number: 168499  Size: SH
  8. Install the gear shaft assembly with the pinion drive lever (4) to the drive housing (1).

  9. Object Number: 168496  Size: SH
  10. Install the pinion drive lever seal (3) and the plate (4) to the drive housing (1).
  11. Lightly lubricate the idle gears with Lubriplate lubricant GM P/N 1050109, or with the equivalent.

  12. Object Number: 168493  Size: SH

    Important: Align the notches in the idle gear retainer with the bolt holes in the drive housing.

  13. Install the 3 idle gears (3) to the drive housing (1). Install the idle gear retainer (2).

  14. Object Number: 168489  Size: SH
  15. Lightly lubricate the armature bearing with Lubriplate lubricant GM P/N 1050109, or with the equivalent.
  16. Install the armature bearing (2) to the gear shaft.

  17. Object Number: 168488  Size: SH
  18. Install the armature (1) to the yoke (2).
  19. Install the armature bushing to the armature.

  20. Object Number: 168487  Size: SH

    Important: The brushes must contact the commutator end after installation.

  21. Install the brush holder (1) to the yoke (2), connecting the brushes (4) to the brush holder.

  22. Object Number: 168486  Size: SH

    Notice: Use the correct fastener in the correct location. Replacement fasteners must be the correct part number for that application. Fasteners requiring replacement or fasteners requiring the use of thread locking compound or sealant are identified in the service procedure. Do not use paints, lubricants, or corrosion inhibitors on fasteners or fastener joint surfaces unless specified. These coatings affect fastener torque and joint clamping force and may damage the fastener. Use the correct tightening sequence and specifications when installing fasteners in order to avoid damage to parts and systems.

  23. Install the spring washer (2) and the commutator end cover. Install the 2 bolts and the 2 screws.
  24. Tighten
    Tighten the commutator end housing bolts to 8 N·m (71 lb in).

  25. Install the solenoid.

Solenoid Installation Procedure

  1. Lightly lubricate the solenoid plunger with Lubriplate lubricant GM P/N 1050109, or with the equivalent.

  2. Object Number: 431718  Size: SH
  3. Install the solenoid to the drive housing, aligning the matchmarks (2).

  4. Object Number: 431721  Size: SH

    Notice: Use the correct fastener in the correct location. Replacement fasteners must be the correct part number for that application. Fasteners requiring replacement or fasteners requiring the use of thread locking compound or sealant are identified in the service procedure. Do not use paints, lubricants, or corrosion inhibitors on fasteners or fastener joint surfaces unless specified. These coatings affect fastener torque and joint clamping force and may damage the fastener. Use the correct tightening sequence and specifications when installing fasteners in order to avoid damage to parts and systems.

  5. Install the 2 screws to the solenoid (1).
  6. Tighten
    Tighten the screws to 7 N·m (62 lb in).


    Object Number: 431720  Size: SH
  7. Install the field coil lead wire (2) and the nut to the solenoid.
  8. Install the starter to the vehicle. Refer to Starter Motor Replacement .