GM Service Manual Online
For 1990-2009 cars only
Makes
🢒
Chevrolet
🢒
2000
🢒
Metro
🢒
Transmission/Transaxle
🢒
Automatic Transmission - 3 Speed-M60
🢒 Automatic Transmission Controls Schematics
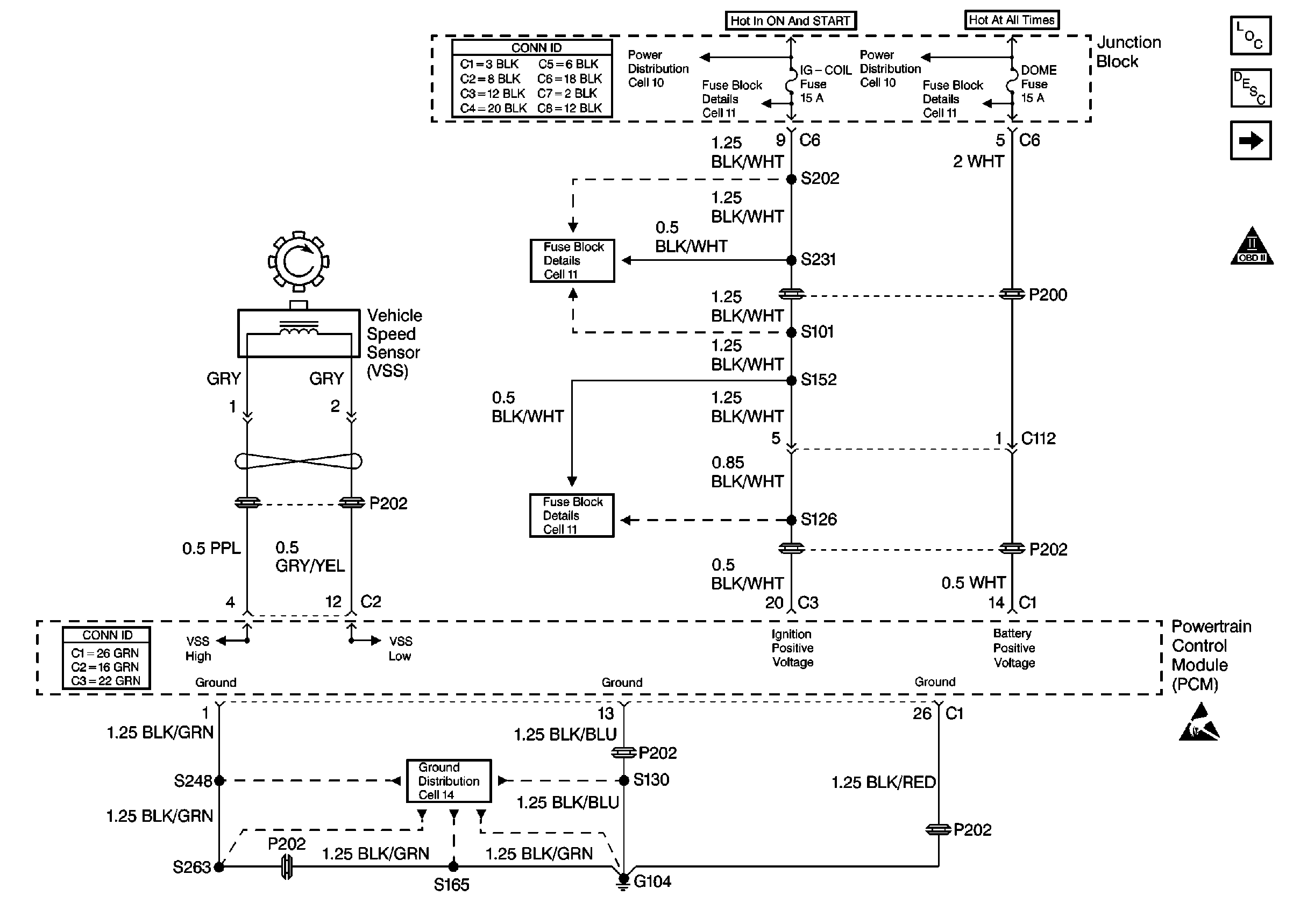
Figure
1:
Cell 39: Power, Ground and VSS
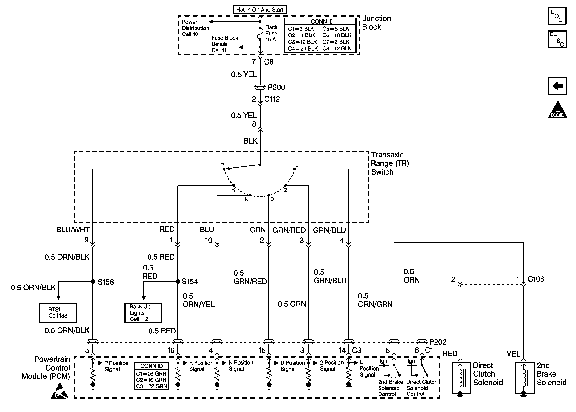
Figure
2:
Cell 39: TR Switch and Solenoids