GM Service Manual Online
For 1990-2009 cars only

Important: Before performing any work on the air conditioning (A/C) system, refer to Handling Refrigerant R-134a . Before performing any work on the air conditioning system, review the following procedures:

   • The discharging of refrigerant R-134a
   • The recovery of refrigerant R-134a
   • The recycling of refrigerant R-134a

The A/C system delivers heated air, or cooled air and dehumidified air for the occupant's comfort. The A/C system provides the following features:

    • Ram air
    • Power ventilation
    • Defrosting of the windshield
    • Side window defogging

The blower draws fresh outside air into the ventilation ducts during most operating conditions. Forward movement of the vehicle forces additional outside air, ram air, into the vehicle.

The blower motor pushes the air through the ventilation ducts in the following path:

  1. Through the evaporator core
  2. Through the heater core
  3. Into the passenger compartment

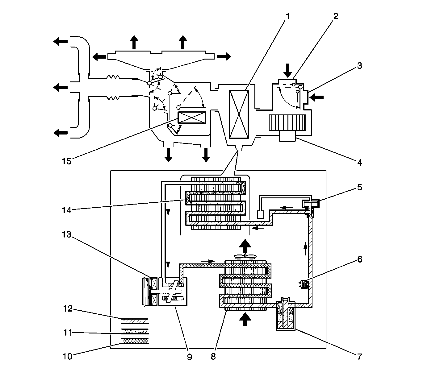
Object Number: 613396  Size: LF
(1)Heater Core
(2)Outside Air Inlet
(3)Recirculated Air Inlet
(4)Blower Motor
(5)Expansion Valve
(6)Refrigerant Pressure Switch
(7)Receiver/Dryer
(8)Condenser
(9)Compressor
(10)High Pressure/High Temperature Refrigerant Vapor
(11)Refrigerant Vapor
(12)Liquid Refrigerant
(13)Compressor Clutch
(14)Evaporator
(15)Heater Core

In the A/C mode and in the defrost mode, the refrigeration system cools the evaporator to almost 0°C (-32°F). The temperature of the air that passes through the evaporator core drops. The decreased air temperature causes moisture in the air to condense on the evaporator core fins. The moisture leaves the vehicle by a gravity feed through a drain hole. This removes humidity from the vehicle.

From the evaporator case some of the air, or all of the air may pass through the heater core. The engine coolant warms the heater core. The ambient air that bypassed the heater core mixes with the heated air before entering the passenger compartment.

Set the mode control lever to the recirculation position in order to obtain the maximum A/C level. Most of the air that enters the blower in this mode is recirculated from the passenger compartment. Passenger compartment air is likely to be cooler than the outside air.

For the heater or for the ventilation modes, the A/C system can be shut off. If the A/C system is not operating, cooling is not provided. The operator can turn off the A/C system by setting the A/C switch to the OFF position. The proportions of airflow through or around the heater core govern the amount of heating, in the same manner that the A/C system does. The heater control unit in the instrument panel allows the operator to select the following operations if the engine is running:

    • The operating mode
    • The air temperature
    • The blower speed