GM Service Manual Online
For 1990-2009 cars only

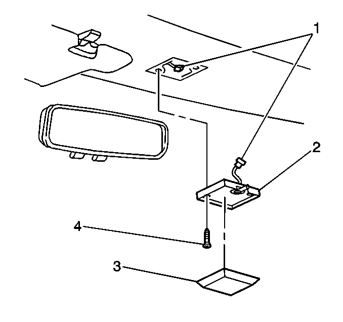
Dome Lamp Replacement 2 Door

Removal Procedure


    Object Number: 351392  Size: SH
  1. Using a flat bladed tool, gently pry off the dome lamp lens (3).
  2. Remove the 2 mounting screws (4) that retain the dome lamp .
  3. Lower the dome lamp (2).
  4. Disconnect the dome lamp electrical connector (1).
  5. Remove the dome lamp (2) from the vehicle.

Installation Procedure


    Object Number: 351392  Size: SH
  1. Connect the dome lamp electrical connector (1).
  2. Install the dome lamp (2) to the vehicle. Secure the lamp with the 2 screws (4).
  3. Install the dome lamp lens (3) to the dome lamp (2).

Dome Lamp Replacement 4 Door

Removal Procedure


    Object Number: 351396  Size: SH
  1. Using a flat-bladed tool, gently pry off the dome lamp lens (4).
  2. Remove the 2 dome lamp nuts (3).
  3. Lower the dome lamp (2).
  4. Disconnect the dome lamp electrical connector (1).
  5. Remove the dome lamp (2) from the vehicle.

Installation Procedure


    Object Number: 351396  Size: SH
  1. Connect the dome lamp electrical connector (1).
  2. Install the dome lamp (2) to the vehicle. Secure the lamp with the 2 nuts (3).
  3. Install the dome lamp lens (4) to the dome lamp (2).