GM Service Manual Online
For 1990-2009 cars only

Tools Required

J 39200 Digital Multimeter

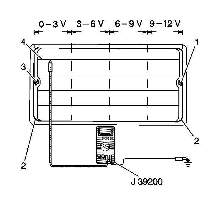
In order to locate inoperative grid lines, perform the following steps:

  1. Start the engine.
  2. Turn ON the rear window defogger system.

  3. Object Number: 351341  Size: SH
  4. Ground the negative (-) lead of a J 39200 . Lightly touch the positive (+) lead to each grid line (4).

Voltage will decrease as the lead is moved farther away from the feed bus bar (2).

If the J 39200 shows high voltage at both ends of the grid lines, test for loose ground connections at the following locations:

    • Ground terminal to bus bar
    • Ground wire to body

Test all of the grid lines in at least 2 places in order to eliminate the possibility of bridging a break. For best results, contact each grid line a few millimeters on either side of the window centerline. If an abnormal meter reading is apparent on a specific grid line, place the lead on that grid. Move the lead until the voltage drops significantly. This procedure will indicate a break in the continuity of the grid line. Mark the grid line breaks on the outside of the window using a wax pencil or a crayon. Refer to Defogger Schematics for electrical diagnosis of the rear window defogger system.