GM Service Manual Online
For 1990-2009 cars only

Removal Procedure

  1. Remove the rear door window. Refer to Rear Side Door Window Replacement .

  2. Object Number: 352206  Size: SH
  3. Remove the 6 mounting screws (1) that retain the regulator.
  4. Slide the window regulator through the large opening in the door panel.
  5. Inspect the gear and the spring for wear and damage.

Installation Procedure


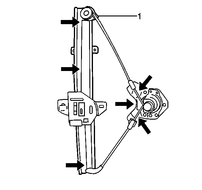
    Object Number: 352209  Size: SH
  1. Apply a multipurpose grease to all lubrication and sliding points on the regulator (1), as indicated by the arrows.

  2. Object Number: 352206  Size: SH
  3. Install the window regulator to the door. Secure the regulator with 6 mounting screws (1).
  4. Install the rear door window. Refer to Rear Side Door Window Replacement .