GM Service Manual Online
For 1990-2009 cars only

Removal Procedure


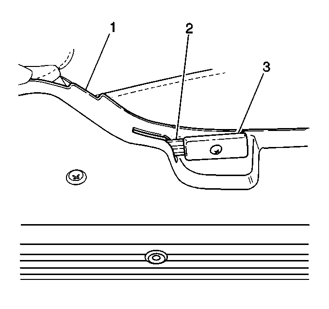
    Object Number: 352885  Size: SH
  1. Remove the following components from the recliner mechanism (2):
  2. 1.1. 1 screw
    1.2. The recliner handle (3)

    Object Number: 352881  Size: MH
  3. Remove the following components from each side of the seat:
  4. 2.1. 2 screws
    2.2. The seat cushion side panel (5)
  5. Slide the seat assembly to the farthest rearward position.

  6. Object Number: 352890  Size: SH
  7. Remove the inboard seat back hinge arm screw (2) from the seat assembly.

  8. Object Number: 352888  Size: SH
  9. Roll the cover (2) upward slowly and evenly in order to gain access to the 2 mounting bolts on the recliner mechanism (3).

  10. Object Number: 352892  Size: SH
  11. Remove the following components from the seat back (1):
  12. 6.1. 2 mounting bolts
    6.2. The recliner mechanism (2)

    Object Number: 352881  Size: MH
  13. Remove the seat back (3) from the seat assembly.

Installation Procedure


    Object Number: 352881  Size: MH
  1. Install the seat back (3) to the seat assembly.

  2. Object Number: 352892  Size: SH

    Notice: Use the correct fastener in the correct location. Replacement fasteners must be the correct part number for that application. Fasteners requiring replacement or fasteners requiring the use of thread locking compound or sealant are identified in the service procedure. Do not use paints, lubricants, or corrosion inhibitors on fasteners or fastener joint surfaces unless specified. These coatings affect fastener torque and joint clamping force and may damage the fastener. Use the correct tightening sequence and specifications when installing fasteners in order to avoid damage to parts and systems.

  3. Install the recliner mechanism (2) to the front seat back (1). Secure the mechanism with 2 mounting bolts.
  4. Tighten
    Tighten the recliner mechanism mounting bolts to 18 N·m (13 lb ft).


    Object Number: 352888  Size: SH
  5. Roll the seat back cover (2) down into position.

  6. Object Number: 352890  Size: SH
  7. Install the inboard seat back hinge arm screw (2) to the seat assembly.

  8. Object Number: 352881  Size: MH
  9. Install the seat cushion side panel (5) to the seat. Secure each side panel with 2 screws.

  10. Object Number: 352885  Size: SH
  11. Install the recliner handle (3) to the recliner mechanism (2). Secure the handle with 1 screw.