GM Service Manual Online
For 1990-2009 cars only

Removal Procedure


    Object Number: 622932  Size: SH
  1. Remove the rear seat back cover. Refer to Rear Seat Back Cushion Cover and Pad Replacement .
  2. Remove the following components from the vehicle:
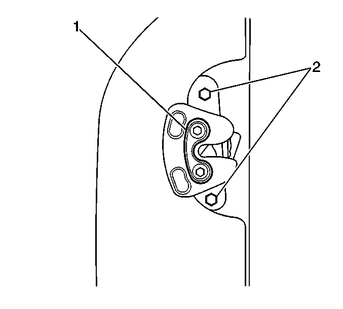
  3. 2.1. 2 bolts (2)
    2.2. The seat back lock (1)

Installation Procedure


    Object Number: 622932  Size: SH
  1. Install the seat back lock (1) to the seat back. Secure the lock with 2 bolts (2).
  2. Install the rear seat back cover. Refer to Rear Seat Back Cushion Cover and Pad Replacement .