GM Service Manual Online
For 1990-2009 cars only

Removal Procedure


    Object Number: 350644  Size: SH
  1. Raise and suitably support the rear compartment lid (1).
  2. Mark the location of the hinges (2) in order to aid in the installation.
  3. Remove the following components from the vehicle:
  4. • 2 bolts from each hinge (2)
    • The rear compartment lid (1)

Installation Procedure


    Object Number: 350644  Size: SH

    Notice: Use the correct fastener in the correct location. Replacement fasteners must be the correct part number for that application. Fasteners requiring replacement or fasteners requiring the use of thread locking compound or sealant are identified in the service procedure. Do not use paints, lubricants, or corrosion inhibitors on fasteners or fastener joint surfaces unless specified. These coatings affect fastener torque and joint clamping force and may damage the fastener. Use the correct tightening sequence and specifications when installing fasteners in order to avoid damage to parts and systems.

  1. Install the rear compartment lid (1) to the 2 hinges (2). Secure the rear compartment lid with 2 bolts at each hinge.
  2. Tighten
    Tighten the rear compartment lid to hinge bolts to 45 N·m (33 lb ft).


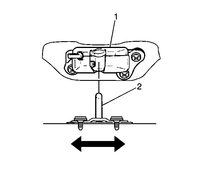
    Object Number: 350634  Size: SH
  3. Adjust the striker (2) by performing the following steps:
  4. 2.1. Loosen 2 screws.
    2.2. Properly align the striker (2) by moving the striker in the following directions as needed:
       • Left
       • Right
       • Forward
       • Rearward
    2.3. Refer to Body Rear End Adjustment Specifications .

    Object Number: 350644  Size: SH
  5. Lower the rear compartment lid (1).