GM Service Manual Online
For 1990-2009 cars only
Makes
🢒
Chevrolet
🢒
2000
🢒
Metro
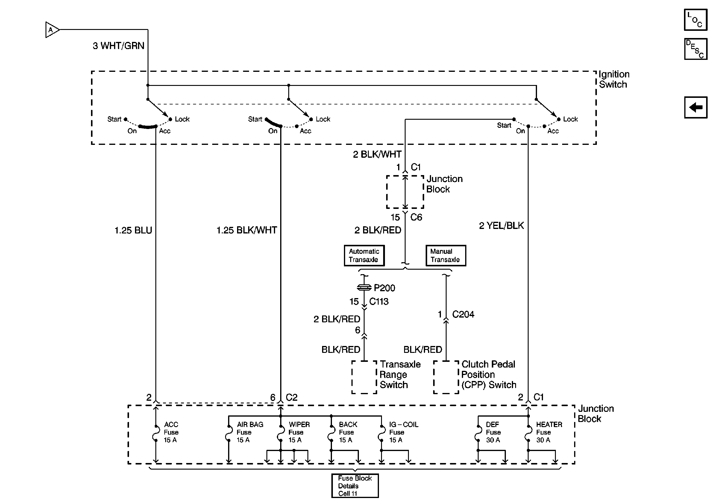
🢒 Cell 10: Batt, Lamp, IG, ABS, PTC, FI, RDTR, A/C, Tail, Door Lock, H/L, L, H/L, R, Dome, Stop, Hazard Fuses
Cell 10: Batt, Lamp, IG, ABS, PTC, FI, RDTR, A/C, Tail, Door Lock, H/L, L, H/L, R, Dome, Stop, Hazard Fuses
Cell 10: Batt, Lamp, IG, ABS, PTC, FI, RDTR, A/C, Tail, Door Lock, H/L, L, H/L, R, Dome, Stop, Hazard Fuses
Power and Grounding Components
Power and Grounding Description
Cell 10
Fuse Block Schematics