GM Service Manual Online
For 1990-2009 cars only
Makes
🢒
Chevrolet
🢒
2000
🢒
Metro
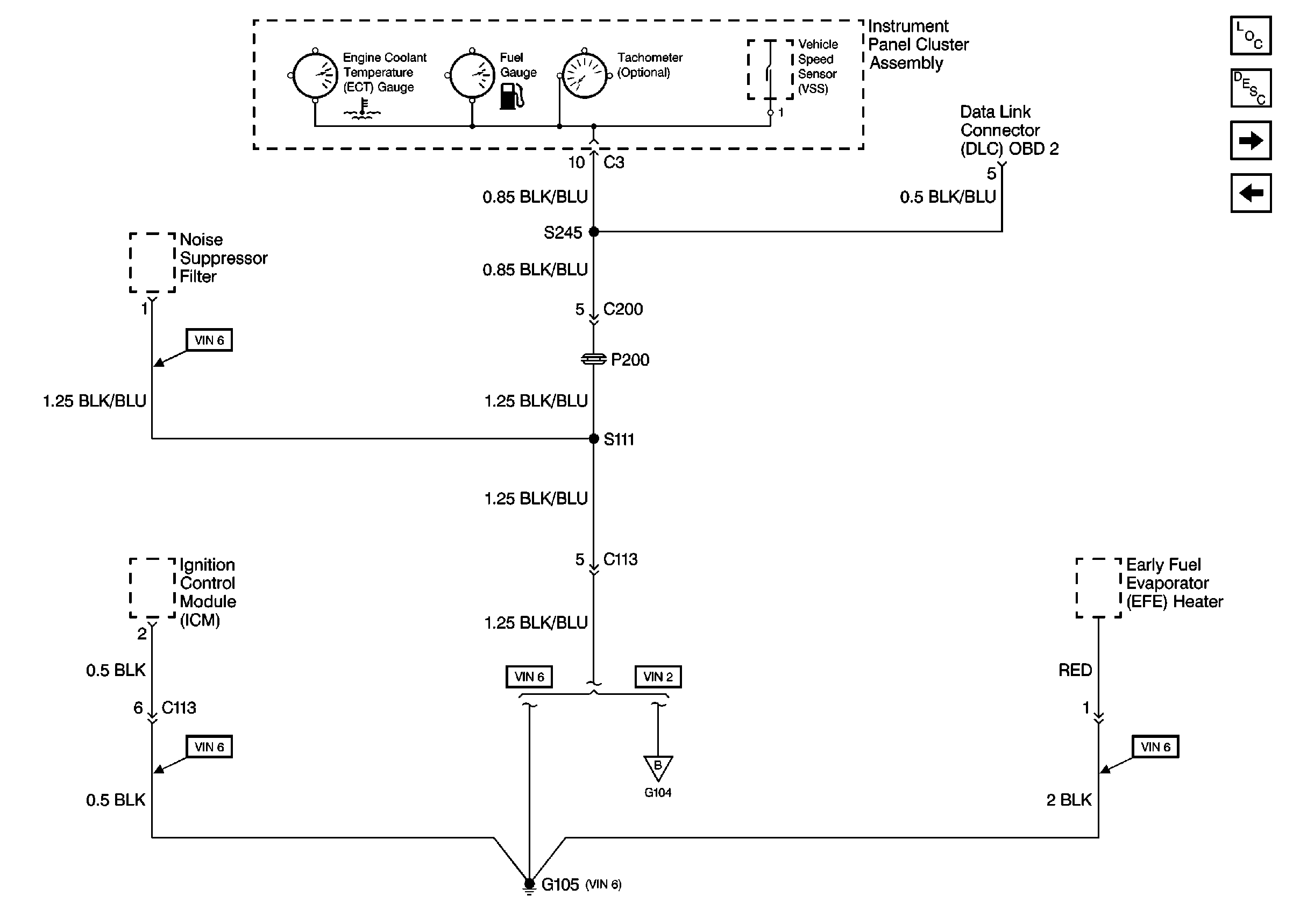
🢒 Cell 14: G105
Cell 14: G105
Cell 14: G105
Power and Grounding Components
Power and Grounding Description
Cell 14: G400 (2-Door)
Cell 14: G102, G201, G202, and G203 and Cigar Lighter