GM Service Manual Online
For 1990-2009 cars only

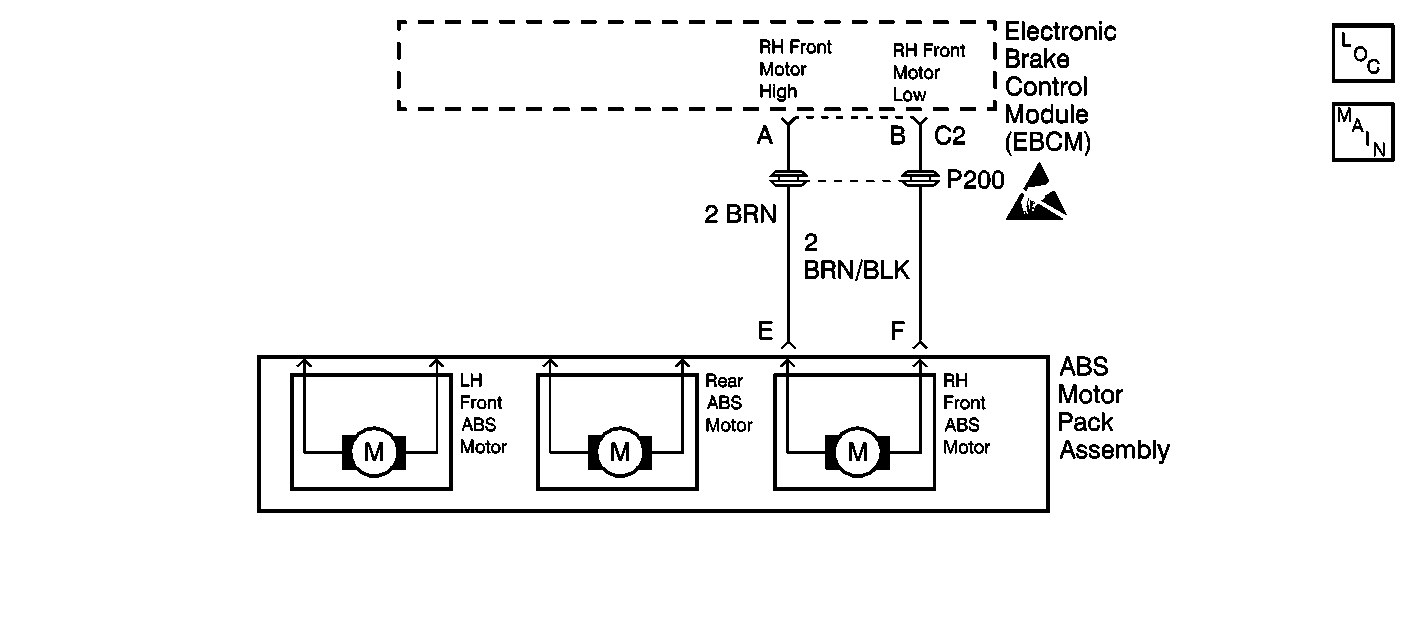
Object Number: 234325  Size: SF
ABS Components
Cell 44: Wheel Speed Sensors and Motor Pack
Handling ESD Sensitive Parts Notice

Circuit Description

This DTC identifies a motor circuit that is shorted to ground. A short to ground will not allow controlled ABS operation.

Conditions for Setting the DTC

    • DTC C1262 can set anytime.
    • A malfunction exists if the EBCM detects an out of range voltage on either of the right front ABS motor circuits.
    • An out of range voltage on either circuit indicates one of the following conditions:
       - A short to ground in the motor low or motor high circuit.
       - An ABS brake motor internally shorts.

Action Taken When the DTC Sets

    • A malfunction DTC stores.
    • The ABS disables.
    • The ABS warning indicator turns ON.

Conditions for Clearing the DTC

    • The condition responsible for setting the DTC no longer exists and the Scan Tool Clear DTCs function is used.
    • 100 drive cycles pass with no DTCs detected. A drive cycle consists of starting the vehicle, driving the vehicle over 16 km/h (10 mph), stopping and then turning the ignition OFF.

Diagnostic Aids

Use the Scan Tool Manual Control function in order to exercise ABS motor movement of affected channel in both directions while applying light pressure on the brake pedal.

An intermittent malfunction may be indicated if erratic or jumpy brake pedal movement is detected while performing an apply or release function of the ABS monitor.

A rubbed-through wire may cause an intermittent malfunction:

If the malfunction is not current, use the following procedure to pinpoint an intermittent malfunction in the motor circuitry or connections:

  1. Wiggle the wires of the affected channel.
  2. Inspect if the DTC resets.

Use the enhanced diagnostic function of the Scan Tool in order to measure the frequency of the malfunction.

Clear the DTCs after completing the diagnosis. Test drive the vehicle for three drive cycles in order to verify that the DTC does not reset. Use the following procedure in order to complete one drive cycle:

  1. Start the vehicle.
  2. Drive the vehicle over 16 km/h (10 mph).
  3. Stop the vehicle.
  4. Turn the ignition to the OFF position.

Test Description

  1. This test checks for a short to ground in the motor high circuit.

  2. This test checks for a short to ground in the motor low circuit.

  3. This test determines if the malfunction is caused by the EBCM.

Step

Action

Value(s)

Yes

No

Important: Zero the J 39200 test leads before making any resistance measurements. Refer to the J 39200 user's manual.

1

Was A Diagnostic System Check-ABS performed?

--

Go to Step 2

Go to Diagnostic System Check - ABS

2

Does DTC C1262 occur intermittently?

--

Go to Diagnostic Aids

Go to Step 3

3

  1. Turn the ignition switch to the OFF position.
  2. Disconnect the ABS brake motor pack connector.
  3. Disconnect the EBCM connector
  4. Use the J 39200 in order to measure the resistance between the ABS brake motor pack harness connector terminal E and ground.

Is the resistance within the specified range?

OL

(Infinite)

Go to Step 4

Go to Step 9

4

Use J 39200 in order to measure the resistance between the ABS brake motor pack harness connector terminal F and ground.

Is the resistance within the specified range?

OL

(Infinite)

Go to Step 5

Go to Step 10

5

Use the J 39200 in order to measure the resistance between the ABS brake motor pack connector terminal E and ground.

Is the resistance within the specified range?

OL

(Infinite)

Go to Step 6

Go to Step 8

6

  1. Inspect the following components for damage:
  2. • The ABS brake motor pack connector
    • The ABS brake motor pack harness connector
    • Damage that may cause a short to ground with the connector connected.
  3. Inspect the following components for damage:
  4. • The EBCM connector
    • The EBCM harness connector
    • Damage that may cause a short to ground with the connector connected.
  5. Inspect the BRN and BRN/BLK wires between the EBCM and the ABS motor pack for damage. Damage may cause a short to ground.

Is there damage which may result in a short to ground?

--

Go to Step 11

Go to Step 7

7

  1. Reconnect the ABS brake motor pack connector.
  2. Reconnect the EBCM connector.
  3. Test drive the vehicle obtaining a speed at least 16 km/h (10 mph).
  4. Turn the ignition switch to the OFF position.
  5. Repeat the drive sequence two additional times.
  6. Use the Scan Tool in order to inspect for DTCs.

Did DTC C1262 set as a current DTC in the last three drive cycles?

--

Go to Step 12

Go to Step 13

8

Replace the ABS brake motor pack. Refer to ABS Motor Pack Replacement .

Is the repair complete?

--

Go to Diagnostic System Check - ABS

--

9

Repair the short to ground in the BRN wire between the EBCM and the ABS motor pack. Refer to Wiring Repairs in Wiring Systems.

Is the repair complete?

--

Go to Diagnostic System Check - ABS

--

10

Repair the short to ground in the BRN/BLK wire between the EBCM and the ABS motor pack. Refer to Wiring Repairs in Wiring Systems.

Is the repair complete?

--

Go to Diagnostic System Check - ABS

--

11

Replace all of the following components that exhibit signs of damage:

    • The terminals
    • The connectors
    • The wires
        Damage may cause a short to ground.

Refer to Connector Repairs in Wiring Systems.

Is the repair complete?

--

Go to Diagnostic System Check - ABS

--

12

Replace the EBCM. Refer to Electronic Brake Control Module Replacement .

Is the repair complete?

--

Go to Diagnostic System Check - ABS

--

13

The malfunction is intermittent or not present at this time. Refer to Diagnostic Aids for more information.

Is the action complete?

--

System OK

--