GM Service Manual Online
For 1990-2009 cars only

Object Number: 70347  Size: MF
Engine Controls Components
Cell 20: Engine Data Sensors
OBD II Symbol Description Notice
Handling ESD Sensitive Parts Notice
Handling ESD Sensitive Parts Notice

Circuit Description

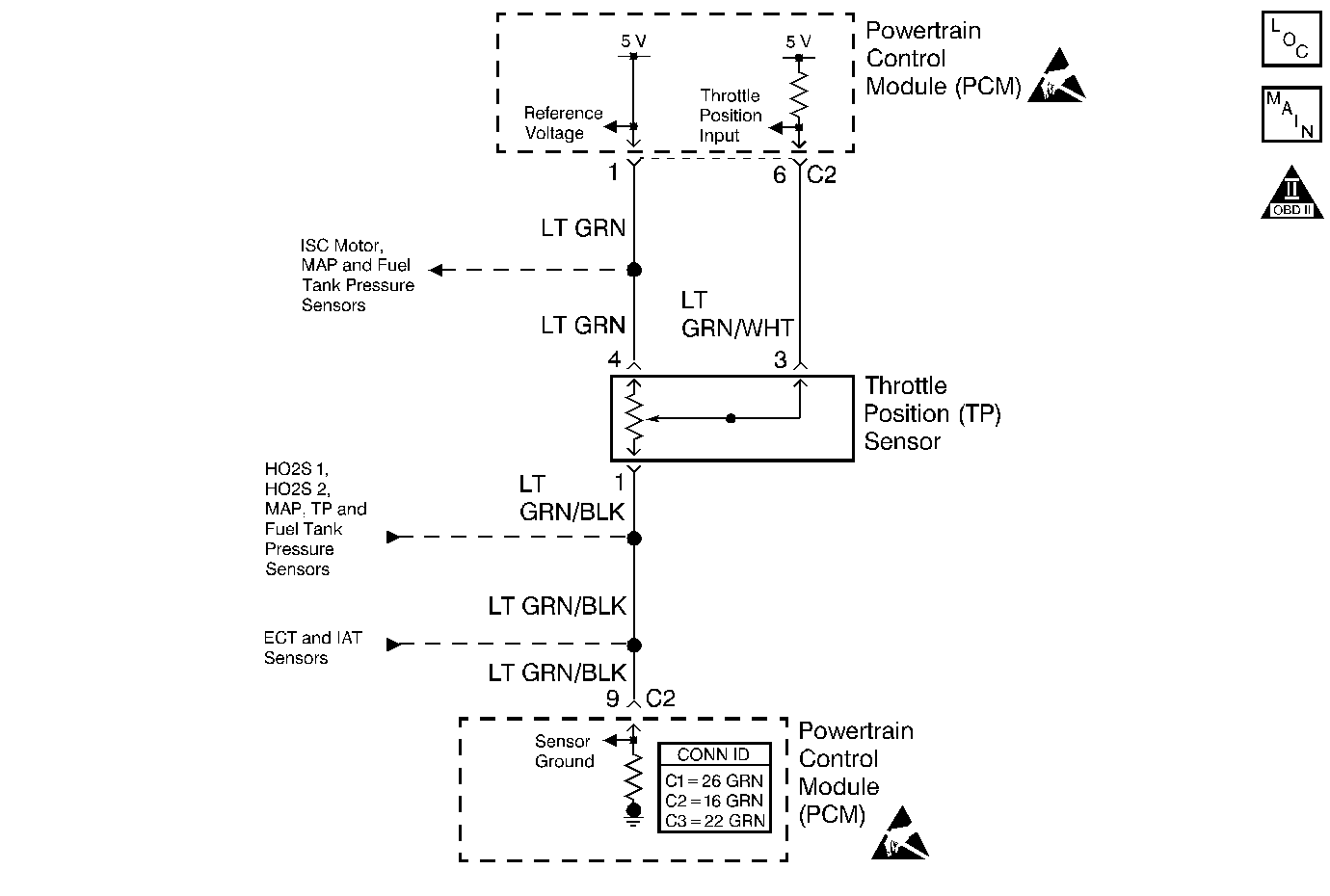
The throttle position (TP) sensor contains a potentiometer whose resistance value changes with the changes in the throttle valve position. The powertrain control module (PCM) provides a 5 volt reference voltage to the TP sensor. The PCM reads the voltage across the TP sensor and converts the voltage into a throttle angle. The TP sensor resistance decreases as the throttle-valve opening increases, and the TP sensor resistance increases as the throttle-valve opening decreases. The TP sensor voltage that is being monitored by the PCM will increase as the throttle-valve opening increases.

Conditions for Setting the DTC

    • A low voltage input is indicated at the PCM with the engine running.
    • Above condition is present for at least 0.5 seconds.

Action Taken When the DTC Sets

    • The PCM illuminates the malfunction indicator lamp (MIL).
    • The PCM records the operating conditions at the time that the diagnostic fails. The Freeze Frame buffer stores this information.
    • The PCM enters the Fail-Safe Function and assumes the throttle angle is 20 degrees while stopping ISC control.

Conditions for Clearing the MIL/DTC

    • The MIL turns OFF after three consecutive passing trips without a fault present.
    • A History DTC clears after 40 consecutive warm-up cycles without a fault.
    • Use the Clear DTC Information function on the scan tool, or disconnect the PCM battery feed in order to clear the DTC.

Diagnostic Aids

Check for any of the following conditions:

    • A TP sensor that adjusted incorrectly, or a binding or a stuck throttle plate, may cause a DTC P0122 to set. Refer to Throttle Position Sensor Adjustment .
    • Check the resistance of the TP sensor. TP sensor resistance between terminals 1 and 4 should be 2.87 ohms to 5.33k ohms. TP sensor resistance between terminals 1 and 3 should be 100 ohms to 20k ohms. Replace the TP sensor if the measured resistance is not within the specified values. Refer to Throttle Position Sensor Replacement .
    • Check for an open reference circuit if a DTC P0107 and P0122 are set together.
    • A faulty electrical connection to the PCM.

A fault in the TP sensor electrical circuit may cause an intermittent malfunction. Inspect the wiring harness and the components for any of the following conditions:

    • Backed out terminals
    • Incorrect mating of terminals
    • Broken electrical connector locks
    • Incorrectly formed terminals or damaged terminals
    • Faulty terminal-to-wire connections
    • Physical damage to the wiring harness
    • A broken wire inside the insulation
    • Corrosion of electrical connections, of electrical splices, or of terminals

If a DTC P0122 cannot be duplicated, the Freeze Frame data can be useful in determining vehicle operating conditions when the DTC was set.

Test Description

The numbers below refer to the step numbers in the Diagnostic Table.

  1. The Powertrain OBD system check prompts the technician to complete some basic checks, and to save the freeze frame data on the scan tool if applicable. This creates an electronic copy of the data that was taken when the fault occurred. The scan tool saves the information for later reference.

  2. This step determines if a fault is present. The vehicle must be at operating temperature.

  3. The TP sensor adjustment must be checked and set to specifications. Replace the TP sensor if the correct adjustments cannot be made. Refer to Throttle Position Sensor Adjustment and Throttle Position Sensor Replacement to .

Step

Action

Value(s)

Yes

No

1

Did you perform the Powertrain On-Board Diagnostic (OBD) System Check?

--

Go to Step 2

Go to Powertrain On Board Diagnostic (OBD) System Check

2

  1. Operate the engine until normal operating temperatures are reached.
  2. Turn ON the ignition, leaving the engine OFF.
  3. Install a scan tool.
  4. With the throttle at a closed position, select the TP angle parameter on the scan tool.

Is the TP sensor percentage at the specified value or below the specified value?

2%

Go to Step 4

Go to Step 3

3

  1. Turn ON the ignition, leaving the engine OFF.
  2. Perform the Clear DTC information function on the scan tool.
  3. Operate the vehicle within the Freeze Frame conditions as specified.

Is the TP sensor percentage at the specified value or below the specified value?

2%

Go to Step 4

Go to Diagnostic Aids

4

  1. Disconnect the TP sensor electrical connector.
  2. Measure the voltage from the TP sensor signal circuit, on the harness side, to ground with a DMM.

Is the TP sensor signal voltage within the specified value?

4 to 5 volts

Go to Step 5

Go to Step 7

5

Measure the voltage from the 5 volt reference circuit, on the harness side, to ground with the DMM.

Is the voltage near the specified value?

5.0 volts

Go to Step 10

Go to Step 6

6

  1. Turn OFF the ignition.
  2. Disconnect the PCM electrical connectors.
  3. Check the 5 volt reference circuit for an open or for a short to ground.
  4. Repair as necessary. Refer to Wiring Repairs in Wiring Systems.

Was a repair necessary?

--

Go to Step 12

Go to Step 8

7

  1. Turn OFF the ignition.
  2. Disconnect the PCM electrical connectors.
  3. Check the TP sensor signal circuit for a short to ground.
  4. Repair as necessary. Refer to Wiring Repairs in Wiring Systems.

Was a repair necessary?

--

Go to Step 12

Go to Step 9

8

  1. Check the 5-volt reference circuit for a faulty connection at the PCM or at the TP sensor.
  2. Repair as necessary.

Was a repair necessary?

--

Go to Step 12

Go to Step 11

9

  1. Check the TP sensor signal circuit for a faulty connection at the PCM or at the TP sensor.
  2. Repair as necessary.

Was a repair necessary?

--

Go to Step 12

Go to Step 11

10

Adjust or replace the TP sensor. Refer to Throttle Position Sensor Adjustment and Throttle Position Sensor Replacement to .

Is the action complete?

--

Go to Step 12

--

11

Replace the PCM. Refer to Powertrain Control Module Replacement .

Is the action complete?

--

Go to Step 12

--

12

  1. Perform the Clear DTC Information function on the scan tool, and road-test the vehicle within the Freeze Frame conditions which set the DTC.
  2. Review the scan tool data, and check the data for DTCs. The repair is complete if no DTCs are displayed.

Are any DTCs displayed on the scan tool?

--

Go to the Applicable DTC Table

System OK