GM Service Manual Online
For 1990-2009 cars only

Object Number: 215394  Size: MF

Circuit Description

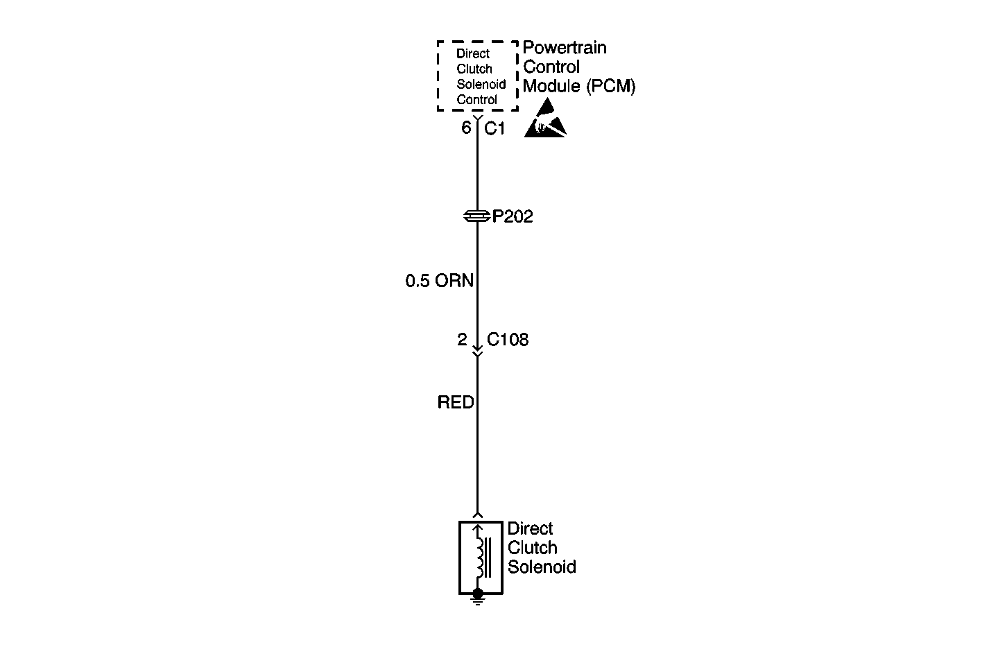
The shift solenoid #1 is energized and de-energized by the Powertrain Control Module (PCM) in response to varying transaxle shift demands. With the Direct Clutch Solenoid de-energized, line pressure is applied to the 2-3 shift valve. With the line pressure applied, the 2-3 shift operates, and the transaxle shifts from the second gear to the third gear. When the PCM energizes the Direct Clutch Solenoid, line pressure is relieved, and the 2-3 shift valve does not operate.

Conditions for Setting the DTC

DTC P0753 will set when the following conditions are met:

    • The PCM does not experience any voltage drop across the control circuit of the Direct Clutch Solenoid when the solenoid attempts to energize.
    • One driving cycle detection logic.

Action Taken When the DTC Sets

A DTC P0753 is stored, and the Malfunction Indicator Lamp (MIL) is turned ON.

Diagnostic Aids

Check for the following conditions:

    • An open Direct Clutch Solenoid or a shorted Direct Clutch Solenoid
    • Faulty electrical circuits between the shift solenoid #1 and the PCM
       - An open
       - A short to ground
    • A faulty PCM

An intermittent may be caused by the following conditions:

    • A poor connection
    • Rubbed-through wire insulation
    • A broken wire inside the insulation

Inspect the PCM harness connectors for the following conditions:

    • Backed out terminals
    • Incorrect mating
    • Broken locks
    • Incorrectly formed terminals or damaged terminals
    • Poor terminal-to-wire connections

Perform the following steps if DTC P0753 cannot be duplicated:

    • Read the information in the freeze frame data.
    • Use the data in order to determine the vehicle operating conditions when the DTC was set.

Inspect the wiring. If any wiring repairs are necessary, refer to Wiring Repairs in Wiring Repair.

DTC Confirmation Procedure

  1. Turn the ignition switch to the LOCK position.
  2. Connect the scan tool to Data Link Connector (DLC).
  3. Turn the ignition switch to ON.
  4. Use a scan tool in order to clear the following items from the PCM memory:
  5. • The DTC
    • The pending DTC
    • Freeze frame data
  6. Start the engine.
  7. Step firmly on the brake pedal.
  8. Shift the manual selector to the Drive (D) position.
  9. Leave the selector in Drive (D) for 10 seconds.
  10. Accelerate the vehicle in Drive (D).
  11. Continue driving for 10 seconds at 40 km/h (25 mph).
  12. Stop the vehicle.
  13. Use the scan tool in order to inspect for DTC P0753.

Test Description

The number(s) below refer to the step number(s) on the diagnostic table.

  1. The Powertrain OBD System Check prompts the technician to complete some basic checks, and to store the freeze frame data on the scan tool if applicable. This creates an electronic copy of the data taken when the fault occurred. The information is stored in the scan tool for later reference.

  2. This step inspects the internal coil resistance of the direct clutch solenoid.

  3. This step inspects for a short to ground in the control circuit of the direct clutch solenoid.

  4. This step inspects for an open in the control circuit of the direct clutch solenoid.

  5. This step inspects the internal electrical harness of the transaxle for damage.

  6. This step inspects for a short to voltage in the control circuit of the direct clutch solenoid.

  7. This step inspects for a poor electrical connection that could have caused DTC to set.

  8. This step inspects for a faulty PCM.

Step

Action

Value

Yes

No

\x941\x95

Was the On-Board Diagnostic (OBD) System Check performed?

--

Go to Step 2

Go to OBD System Check in Electrical Controls

2

  1. Install a scan tool.
  2. Turn the ignition to ON, leaving the engine OFF.
  3. Perform the scan tool function, Clear DTC Information.
  4. Operate the vehicle within the Freeze Frame conditions as observed.

Does the scan tool display any other DTCs in addition to DTC P0753?

--

Go to the applicable DTC table

Go to Step 3

\x943\x95

  1. Turn the ignition switch to the LOCK position.
  2. Disconnect the PCM connector C1.
  3. Use the J 39200 in order to measure the resistance between the ground and the PCM harness connector C1 terminal 6.

Is the resistance within the specified range?

8-20 ohms at 24°C (75°F)

Go to Step 7

Go to Step 4

\x944\x95

  1. Disconnect the transaxle connector C108.
  2. Use the J 39200 in order to measure the resistance between the ground and the PCM harness connector C1 terminal 6.

Is the resistance equal to the specified value?

Go to Step 5

Go to Step 10

5

Use the J 39200 in order to measure the resistance between the PCM harness connector C1 terminal 6.

Is the resistance less than the specified value?

2 ohms

Go to Step 6

--

\x946\x95

  1. Remove the transaxle oil pan.
  2. Inspect the terminals and the internal harness for damage.
  3. If the terminals and the internal harness are not damaged, replace the direct clutch solenoid.

Is the action complete?

--

Go to Step 16

--

\x947\x95

  1. Turn the ignition switch to ON.
  2. Use the J 39200 in order to measure the voltage between ground and the PCM connector C1 terminal 6.

Is the voltage less than the specified value?

2V

Go to Step 8

Go to Step 12

\x948\x95

Inspect all of the electrical connections for a poor terminal contact or for a poor connection.

Is a poor terminal contact or a poor connection present?

--

Go to Step 13

Go to Step 9

\x949\x95

  1. Install a known good PCM.
  2. Perform the DTC Confirmation Procedure.

Does DTC P0753 reset?

--

Go to Step 14

Go to Step 15

10

Repair the short to ground in the ORN wire between the PCM and the direct clutch solenoid.

Is the repair complete?

--

Go to Step 16

--

11

Repair one of the following conditions:

    • An open in the RED wire between PCM and the direct clutch solenoid
    • An open in the ORN wire between PCM and the direct clutch solenoid
    • High resistance in the RED wire between PCM and the direct clutch solenoid
    • High resistance in the ORN wire between PCM and the direct clutch solenoid

Is the repair complete?

-

Go to Step 16

--

12

Repair the short to voltage in the RED wire or in the ORN wire between the PCM and the direct clutch solenoid.

Is the repair complete?

-

Go to Step 16

--

13

Repair the terminals or the connections that exhibit poor contact.

Is the repair complete?

-

Go to Step 16

14

Refer to Diagnostic Aids for a possible intermittent condition. If the condition is not intermittent, replace the Powertrain Control Module (PCM). Refer to PCM Replacement in Engine Controls.

Is the action complete?

-

Go to Step 16

--

15

Refer to Diagnostic Aids for additional information about DTC P0753.

Is the action complete?

-

Go to Step 16

--

16

Perform the DTC Confirmation Procedure.

Are any DTCs displayed on the Scan Tool?

-

Go to the applicable DTC table

System OK