GM Service Manual Online
For 1990-2009 cars only

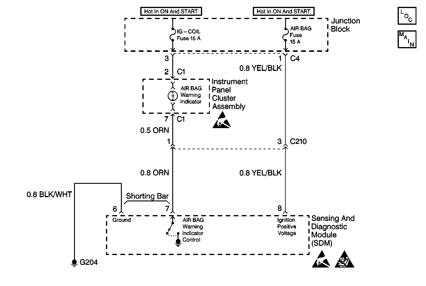
Object Number: 424974  Size: MF
SIR Components
SIR Schematics
Handling ESD Sensitive Parts Notice
Handling ESD Sensitive Parts Notice
SIR Handling Caution

Circuit Description

In the ON position, the ignition switch applies battery voltage to the AIR BAG warning lamp and to the IGNITION 1 input terminal 8. The inflatable restraint Sensing and Diagnostic Module (SDM) responds by flashing the AIR BAG warning lamp seven times. The SDM monitors the lamp driver output by comparing the output state at the AIR BAG INDICATOR terminal 7 to the microprocessor commanded state.

Conditions for Setting the DTC

The output state at the AIR BAG INDICATOR terminal 7 does not match the commanded state of the lamp driver for 400 milliseconds.

The Continuous Monitoring test checks for this DTC. This test occurs when IGNITION 1 is within the normal operating voltage range.

Action Taken When the DTC Sets

    • The SDM sets a diagnostic trouble code.
    • The SDM attempts to turn on the AIR BAG warning lamp.

Conditions for Clearing the DTC

    • Current DTC
        The output state at the AIR BAG INDICATOR terminal 7 matches the commanded state of the lamp driver for 400 milliseconds.
    • History DTC
       - You issue a scan tool CLEAR CODES command.
       - 250 ignition cycles have occurred without a malfunction.

Diagnostic Aids

Refer to AIR BAG Warning Lamp Comes On Steady and AIR BAG Warning Lamp Does Not Come On in order to diagnose warning lamp circuit malfunctions.

DTC B1061 SIR Indicator Circuit Failure

Step

Action

Value(s)

Yes

No

1

Was the SIR Diagnostic System Check performed?

--

Go to Step 2

Go to SIR Diagnostic System Check

2

  1. This diagnostic trouble code is set when malfunctions occur in the AIR BAG warning lamp circuitry. These malfunctions are addressed in the SIR Diagnostic System Check using AIR BAG Warning Lamp Comes On Steady and AIR BAG Warning Lamp Does Not Come On . Failure to properly perform the SIR Diagnostic System Check may result in misdiagnosis.
  2. Turn the ignition switch to the ON position.
  3. Clear the SIR diagnostic trouble codes.
  4. Request the SIR diagnostic trouble code display.

Is DTC B1061 set?

--

Go to Sensing and Diagnostic Module Integrity Check

Go to SIR Diagnostic System Check