GM Service Manual Online
For 1990-2009 cars only
Makes
🢒
Chevrolet
🢒
2001
🢒
Metro
🢒
Body and Accessories
🢒
Lighting Systems
🢒 Interior Lights Dimming Schematics
Figure
1:
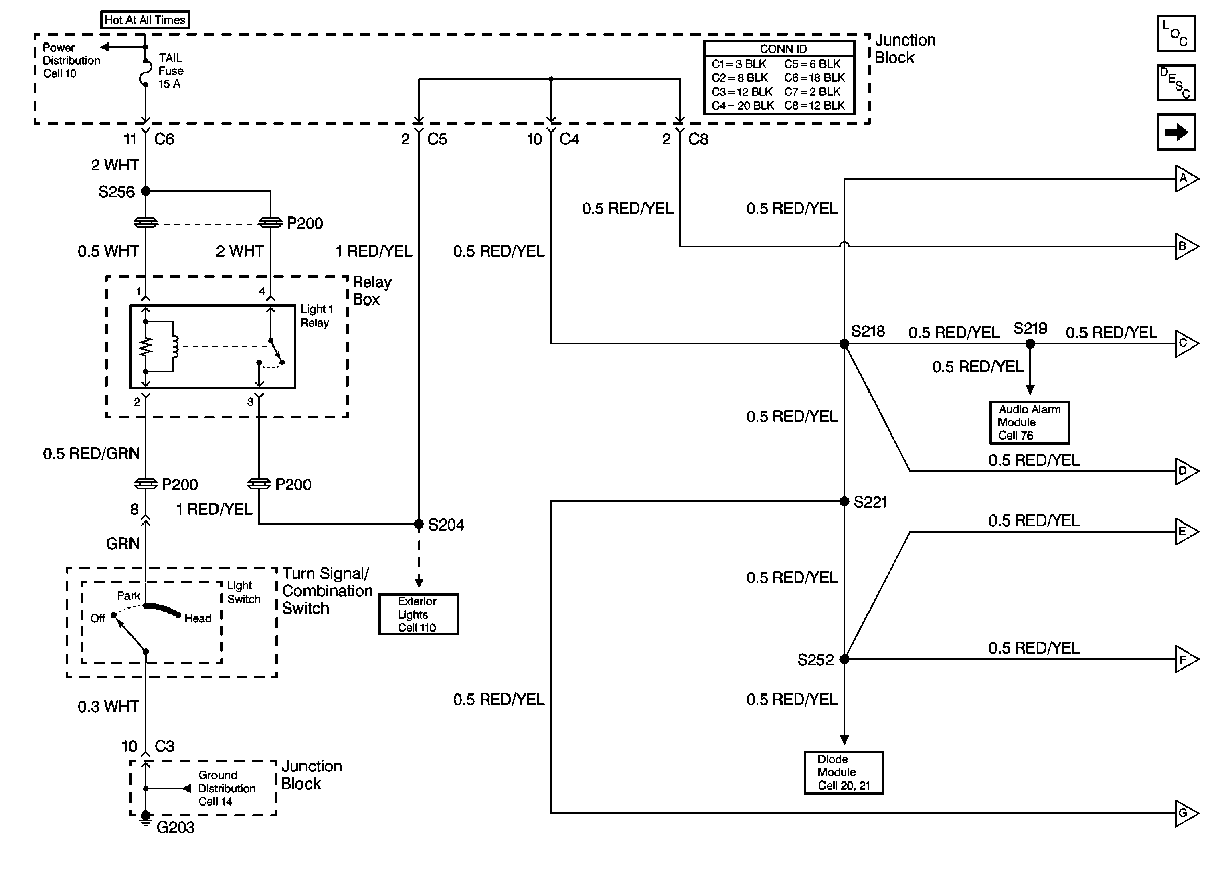
Cell 117: Combination Switch
Lighting Systems Components
Interior Lights Dimming Circuit Description
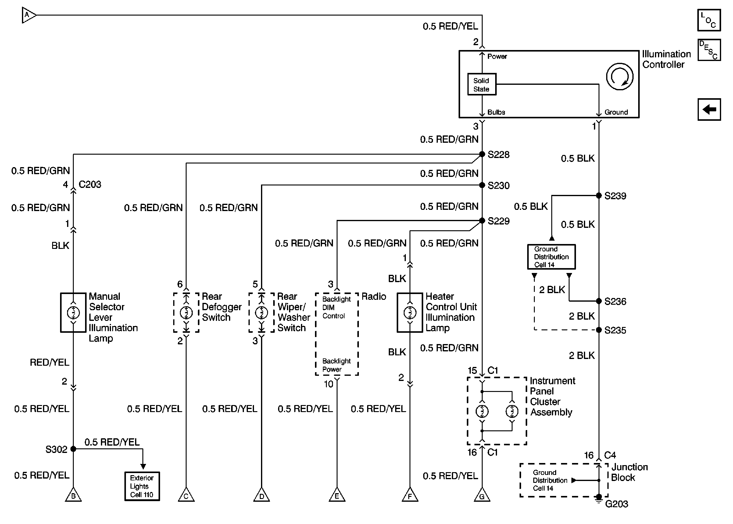
Cell 117: Rear Defogger Switch
Power Distribution Schematics
Ground Distribution Schematics
Exterior Lights Schematics
Audible Warnings Schematics
Figure
2:
Cell 117: Rear Defogger Switch
Lighting Systems Components
Interior Lights Dimming Circuit Description
Cell 117: Combination Switch
Ground Distribution Schematics
Ground Distribution Schematics