GM Service Manual Online
For 1990-2009 cars only
Makes
🢒
Chevrolet
🢒
2001
🢒
Metro
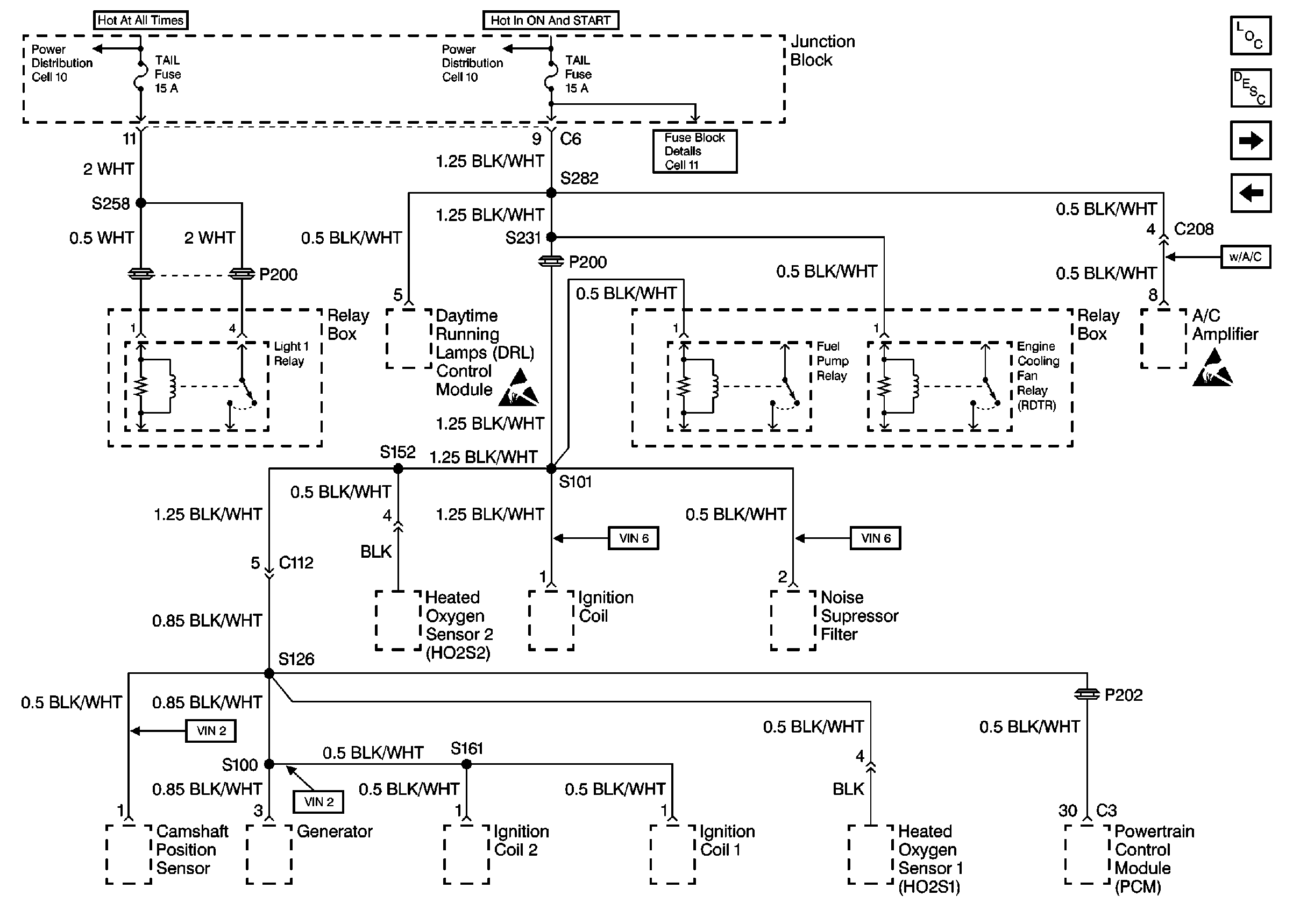
🢒 Cell 11: Heated Oxygen Sensor
Cell 11: Heated Oxygen Sensor
Cell 11: Heated Oxygen Sensor
Power and Grounding Components
Power and Grounding Description
Cell 11: Audio Alarm Module
Cell 11: Horn Relay
Fuse Block Schematics
Power Distribution Schematics
Power Distribution Schematics
Handling ESD Sensitive Parts Notice
Handling ESD Sensitive Parts Notice