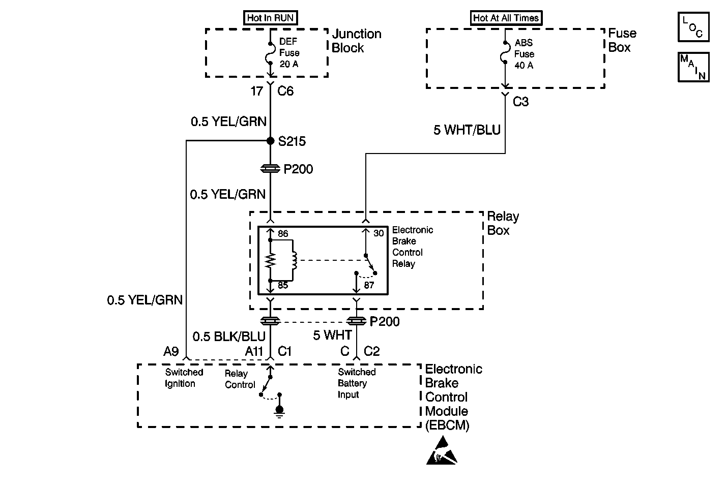
DTC C1237 detects high vehicle voltage levels prior to any required motor movement (initialization or ABS). Damage to the system may occur if excessive voltage exists.
| • | DTC C1237 can set only if the vehicle's speed is greater than 5 km/h (3 mph). |
| • | A malfunction exists if the switched battery voltage is greater than 17 volts. |
| • | A malfunction DTC stores. |
| • | The ABS disables. |
| • | The ABS warning indicator turns ON. |
| • | The condition responsible for setting the DTC no longer exists and the Scan Tool Clear DTCs function is used. |
| • | 100 drive cycles pass with no DTCs detected. A drive cycle consists of starting the vehicle, driving the vehicle over 16 km/h (10 mph), stopping and then turning the ignition OFF. |
Use the enhanced diagnostic function of the Scan Tool in order to measure the frequency of the malfunction.
Ensure the vehicle's charging system is working properly.
This test isolates the malfunction to either the EBCM or the charging system.
This test determines if the malfunction is caused by the EBCM.
Step | Action | Value(s) | Yes | No |
|---|---|---|---|---|
|
Important: Zero the J 39200 test leads before making any resistance measurements. Refer to the J 39200 user's manual. | ||||
1 | Was A Diagnostic System Check-ABS performed? | -- | ||
2 |
Is the voltage less than or equal to the specified voltage? | 16 V | ||
Is the voltage less than or equal to the specified range? | 16 V | Go to Charging System Check in Engine Electrical | ||
Does DTC C1237 set as a current DTC? | -- | |||
5 | Replace the EBCM. Refer to Electronic Brake Control Module Replacement . Is the repair complete? | -- | -- | |
6 | The malfunction is intermittent or is not present at this time. Refer to Diagnostic Aids for more information. Is the action complete? | -- | System OK | -- |