GM Service Manual Online
For 1990-2009 cars only
Makes
🢒
Chevrolet
🢒
1997
🢒
Monte Carlo
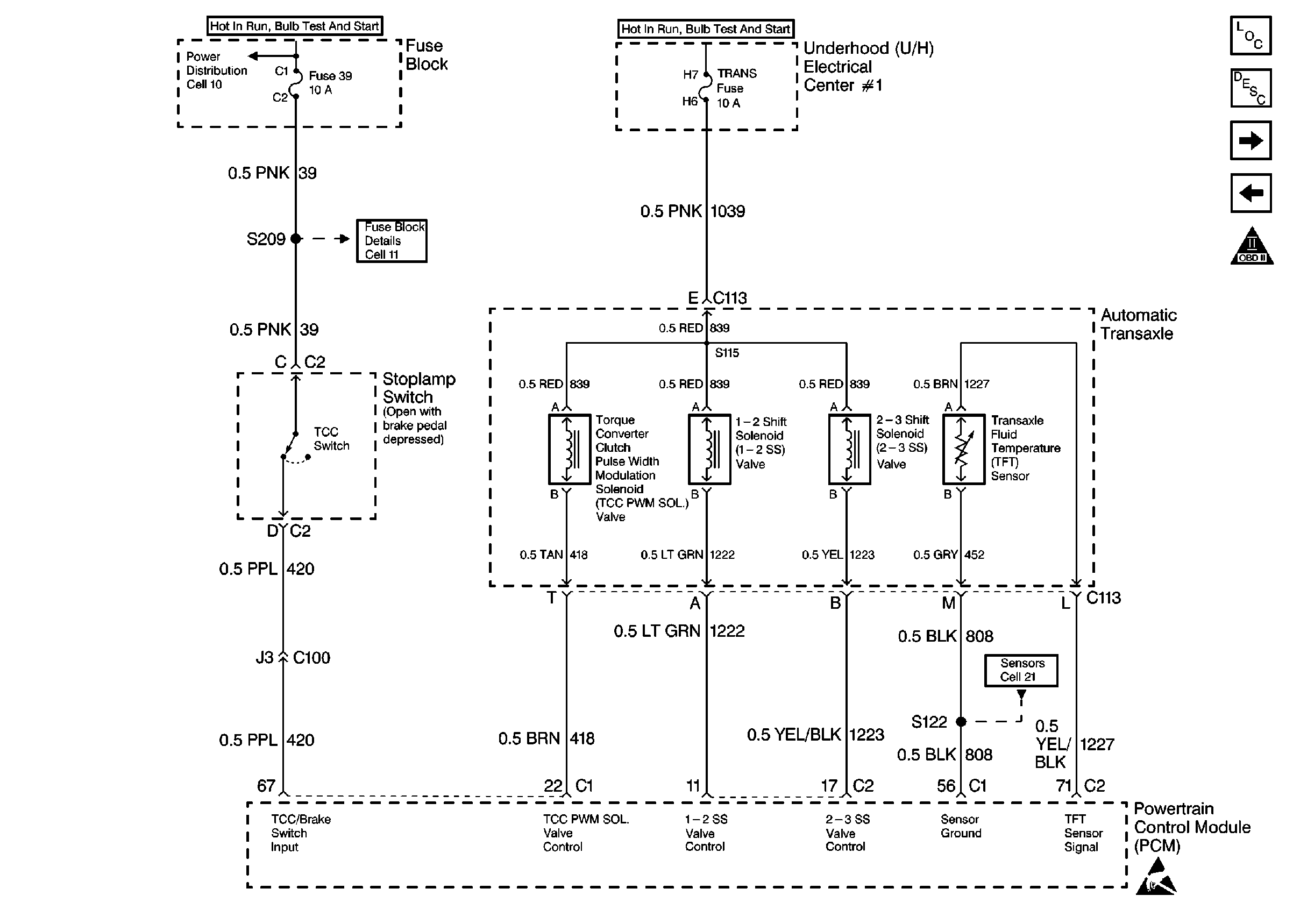
🢒 4-Speed Automatic Transaxle Part 1, TCC Sw (4T65-E)
4-Speed Automatic Transaxle Part 1, TCC Sw (4T65-E)
4-Speed Automatic Transaxle Part 1, TCC Sw (4T65-E)
Engine Controls Components 97
Information Sensors
4-Speed Automatic Transaxle Part 2 (4T65-E)
4-Speed Automatic Transaxle, TCC Sw (4T60-E)
OBD II Symbol Description Notice
Handling ESD Sensitive Parts Notice