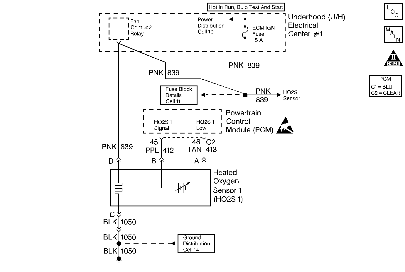
The PCM supplies a bias voltage of about 450mV between the HO2S signal and low circuits. When measured with a 10 megohm digital voltmeter, this may display as low as 350mV. The oxygen sensor varies the voltage within a range of about 1000mV when the exhaust is rich, down through about 100mV when exhaust is lean. The PCM constantly monitors the HO2S signal during closed loop operation and compensates for a rich or lean condition by decreasing or increasing injector pulse width as necessary. If the HO2S 1 voltage remains excessively low for an extended period of time, DTC P0131 will be set.
| • | No active Transaxle, TP sensor, EVAP system, EGR Pintle, ECT sensor, IAT sensor, CKP sensor, Misfire, Fuel Trim, Fuel Injector Circuit, MAF sensor, or MAP system DTC(s) present. |
| • | Closed loop commanded air/fuel ratio is between 14.5 and 14.8 |
| • | Throttle angle is between 3% and 40%. |
| • | HO2S 1 signal voltage remains below 175 mV during normal closed loop operation. |
OR
| • | HO2S 1 signal voltage remains below 600 mV during power enrichment mode fuel control operation. |
| • | Condition are present for at least 45 seconds during normal closed loop operation and 55 seconds during power enrichment mode fuel control. |
| • | The PCM will illuminate the MIL during the second consecutive trip in which the diagnostic test has been run and failed. |
| • | The PCM will store conditions which were present when the DTC set as Freeze Frame and Fail Records data. |
| • | The PCM will turn the MIL OFF during the third consecutive trip in which the diagnostic has been run and passed. |
| • | The history DTC will clear after 40 consecutive warm-up cycles have occurred without a malfunction. |
| • | The DTC can be cleared by using the scan tool Clear Info function or by disconnecting the PCM battery feed. |
Check for the following conditions:
| • | Heated oxygen sensor wiring. The sensor pigtail may be routed incorrectly and contacting the exhaust system. |
| • | Poor PCM to engine block grounds. Refer to Engine Controls. |
| • | Fuel pressure. The system will go lean if pressure is too low. The PCM can compensate for some decrease. However, if fuel pressure is too low, a DTC P0131 may be set. Refer to Fuel System Pressure Test . |
| • | Lean injector(s). Refer to Fuel Injector Balance Test . |
| • | Vacuum leaks. Check for disconnected or damaged vacuum hoses and for vacuum leaks at the intake manifold, throttle body, EGR system, and crankcase ventilation system. Refer to Emission Hose Routing Diagram . |
| • | Exhaust leaks. An exhaust leak may cause outside air to be pulled into the exhaust gas stream past the HO2S, causing the system to appear lean. Check for exhaust leaks that may cause a false lean condition to be indicated. |
| • | MAF sensor. Disconnect the MAF sensor and see if the lean condition is corrected. If so, replace MAF sensor. Refer to Mass Airflow Sensor Replacement . |
| • | Fuel contamination. Water, even in small amounts, can be delivered to the fuel injectors. The water can cause a lean exhaust to be indicated. Excessive alcohol in the fuel can also cause this condition. Refer to Alcohol/Contaminants-in-Fuel Test . |
If none of the above conditions are present, replace the affected HO2S. Refer to Heated Oxygen Sensor Replacement .
Number(s) below refer to step numbers on the diagnostic chart.
Step | Action | Value(s) | Yes | No |
|---|---|---|---|---|
1 | Was the Powertrain On-Board Diagnostic System Check performed? | -- | ||
2 |
Does the HO2S 1 voltage remain at less than the specified value? | 300mV | ||
Note test result; does scan tool indicate DTC P0131 failed this ign? | -- | Refer to Diagnostic Aids | ||
4 | Disconnect HO2S 1 and jumper the HO2S 1 low circuit (PCM side) to ground. Does scan tool indicate HO2S 1 voltage near the specified value? | 450mV | Refer to Diagnostic Aids | |
5 | Turn OFF the ignition, disconnect the PCM, and check the HO2S 1 signal circuit for a short to ground or a short to the sensor ground circuit. Is the HO2S 1 signal circuit shorted? | -- | ||
6 | Repair the HO2S 1 signal circuit. Refer to Repair Procedures Electrical Diagnosis. Is action complete? | -- | -- | |
7 | Replace the PCM. Important: Replacement PCM must be programmed. Refer to Powertrain Control Module Replacement/Programming Is action complete? | -- | -- | |
8 |
Note test result; does scan tool indicate DTC P0131 failed this ign? | -- | System OK |