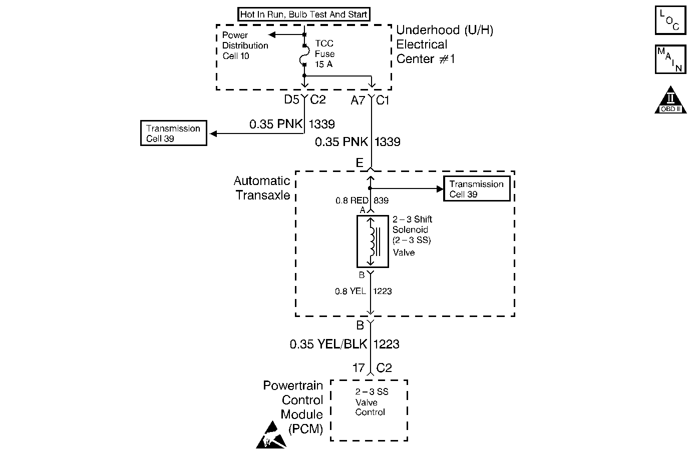
The 2-3 Shift Solenoid Valve (1-2 SS Valve) controls the transmission fluid pressure on the 2-3 shift valve. The TCC fuse 5c provides ignition voltage to the solenoid. The Output Driver Module (ODM), within the Powertrain Control Module (PCM), provides ground. The PCM monitors voltage levels at the ODM. When you command the 2-3 SS Valve ON, the PCM receives low voltage. When you command the 2-3 SS Valve OFF, the PCM receives high voltage.
DTC P0758 sets if the received voltage is outside the calibration limits. DTC P0758 is a type A DTC.
| • | No System Voltage Malfunction DTC P0560 |
| • | The engine speed is greater than 500 RPM. |
| • | Not in fuel shut off |
| • | The PCM commands the solenoid ON and the voltage remains high (B+). |
| • | The PCM commands the solenoid OFF and the voltage remains low (0 volts). |
All of the above conditions are met for 5 seconds.
| • | The transmission will default to 3rd gear. |
| • | The PCM inhibits TCC operation. |
| • | The PCM illuminates the Malfunction Indicator Lamp (MIL). |
| • | The PCM turns OFF the MIL after three consecutive ignition cycles without a failure reported. |
| • | A scan tool can clear the DTC from the PCM history. The PCM clears the DTC from the PCM history if the vehicle completes 40 warm-up cycles without a failure reported. |
| • | The PCM cancels the DTC default actions when the fault no longer exists and the ignition is OFF long enough in order to power down the PCM. |
| • | Inspect the wiring for poor electrical connections at the PCM. Inspect the wiring at the transmission 7-way connector. Inspect the wiring at the 2-3 SS Valve connector. Look for the following conditions: |
| - | A bent terminal |
| - | A backed out terminal |
| - | A damaged terminal |
| - | Poor terminal tension |
| - | A chafed wire |
| - | A broken wire inside the insulation |
| • | When diagnosing for an intermittent short or open condition, massage the wiring harness while watching the test equipment for a change. |
| • | Ensure that the scan tool commanded gear has correct solenoid states and ratio. Refer to Shift Solenoid Valve State and Gear Ratio table. |
The numbers below refer to the step numbers on the diagnostic table.
This step isolates the fault between the engine harness and the transmission harness.
This step verifies that circuit 1223 is not open or shorted to power.
This step verifies that the 2-3 solenoid is not shorted across its windings nor increased its resistance.
Step | Action | Value(s) | Yes | No | ||||||||||||||
|---|---|---|---|---|---|---|---|---|---|---|---|---|---|---|---|---|---|---|
1 | Were you sent here from the Powertrain On-Board Diagnostic (OBD) System Check? | -- | ||||||||||||||||
2 |
Important: Before clearing the DTCs, use the scan tool in order to record the Freeze Frame and Failure Records for reference. The Clear Info function will erase the data. Are DTCs P0753, P1860 and P0740 set? | -- | ||||||||||||||||
3 | Remove the TCC fuse. Inspect the fuse for an open. Refer to Troubleshooting Procedures, Section 8. Did you find and correct a problem? | -- | ||||||||||||||||
4 | Repair the short to ground in circuit 1339. Refer to Troubleshooting Procedures, Section 8. Did you find and correct a problem? | -- | -- | |||||||||||||||
5 | Repair open in circuit 1339. Refer to Troubleshooting Procedures, Section 8. Did you find and correct a problem? | -- | -- | |||||||||||||||
Important: Additional DTCs will set. Is the test lamp ON? | -- | |||||||||||||||||
7 | Inspect circuit 1223 for a short to ground. Refer to Troubleshooting Procedures, Section 8. Did you find and correct a problem? | -- | ||||||||||||||||
Does the test lamp cycle ON and OFF as you commanded? | -- | |||||||||||||||||
9 | Inspect circuit 1223 for an open. Refer to Troubleshooting Procedures, Section 8. Did you find and correct a problem? | -- | ||||||||||||||||
10 | Is the test lamp always OFF? | -- | -- | |||||||||||||||
11 | Inspect circuit 1223 for a short to power. Refer to Troubleshooting Procedures, Section 8. Did you find and correct a problem? | -- | ||||||||||||||||
Is the measured resistance within the specified range? | 19 ohms to 31 ohms | |||||||||||||||||
13 | Is the resistance greater than the specified value? | 100 ohms | ||||||||||||||||
14 | Inspect the RED wire circuit 839 and the YEL wire circuit 1223 for an open. Refer to Troubleshooting Procedures, Section 8. Did you find and correct a problem? | -- | ||||||||||||||||
15 | Connect the DMM from terminal B of the jumper to ground. Is the measured resistance less than the specified value? | 100 ohms | ||||||||||||||||
16 | Inspect the YEL wire circuit 1223 for a short to ground. Did you find and correct a problem? | -- | -- | |||||||||||||||
17 | Replace the 2-3 Shift Solenoid. Refer to Solenoids and Wiring Harness, in On-Vehicle Service. Is the replacement complete? | -- | -- | |||||||||||||||
18 | Replace the PCM. Refer to Powertrain Control Module Replacement/Programming , Section 6. Is the replacement complete? | -- | -- | |||||||||||||||
19 | In order to verify your repair, perform the following procedure:
Has the test run and passed? | -- | System OK |