GM Service Manual Online
For 1990-2009 cars only

Tether Strap Installation

    Caution: The child seat tether anchor is intended for use only on the left or right outboard rear seats. Installation at any other seating position could result in system failure, leading to injury in the event of a collision.

  1. Open the rear compartment.

  2. Object Number: 178584  Size: SH

    Caution: All bolt/screw holes to the exterior of the vehicle must be sealed completely to prevent carbon monoxide from entering the vehicle. Apply a sealant between the anchor bolt/screw washer and the sheet metal to prevent carbon monoxide from entering the vehicle. In the event that the child seat anchorage is removed, all bolt/screw holes penetrating to the exterior of the vehicle must be resealed. Breathing carbon monoxide can cause carbon monoxide poisoning and may be fatal.

  3. Insert the threaded J-clip (5) from inside the rear compartment.
  4. Insert a sharp punch through the hole in the J-clip.
  5. Mark the hole that is made in the trim panel (3).

  6. Cut an X in the trim panel (3).

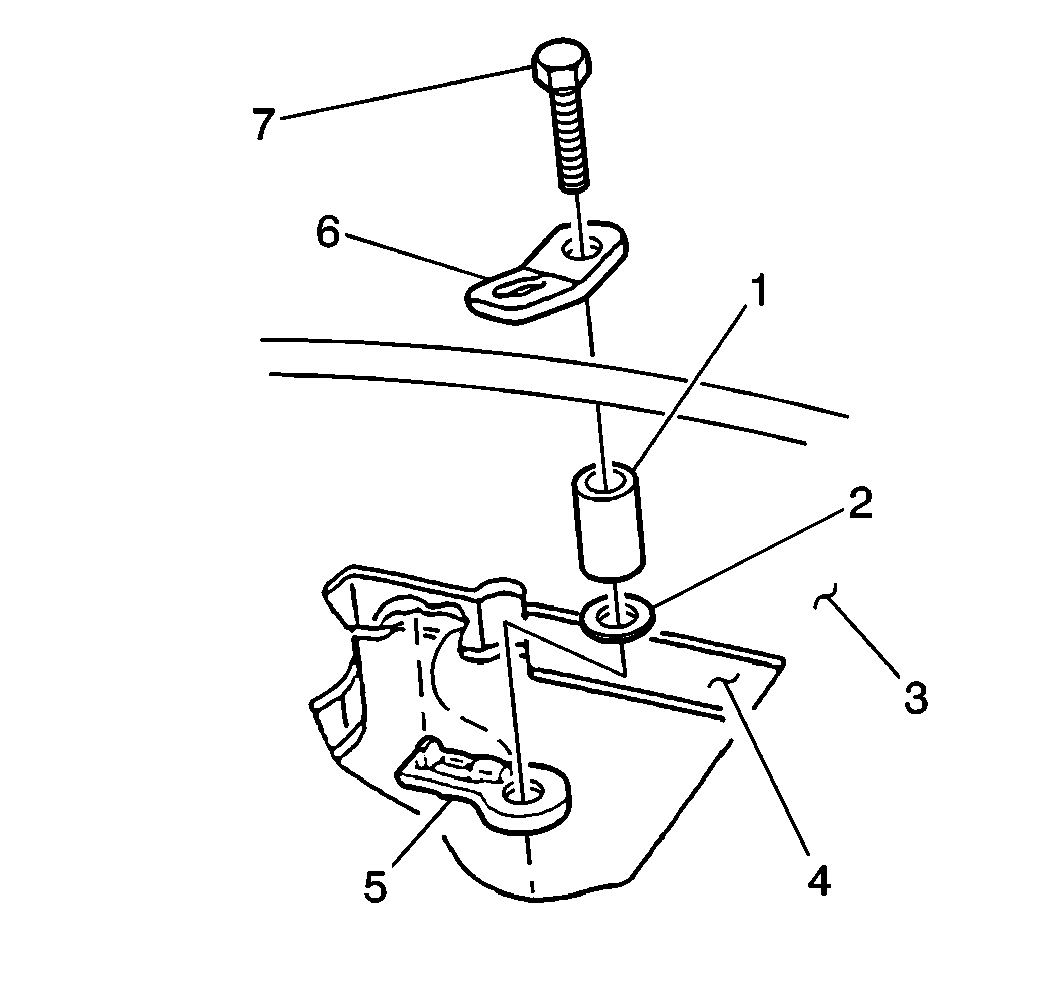
  7. Object Number: 178586  Size: SH
  8. Select the correct tether strap anchor bolt (7) and spacer (1).
  9. Use the following tether strap anchor bolt and spacer combination for the center (1), the left (3) and the right (2) positions:

    • 65 mm (2.6 in) tether strap anchor bolt (7)
    • 30 mm (1.2 in) spacer (1)

    Object Number: 178584  Size: SH
  10. Insert the tether strap anchor bolt (7) through the anchor bracket (6) and the spacer (1).
  11. Secure the tether strap anchor bolt (7) with the push-on nut (2).
  12. Notice: Use the correct fastener in the correct location. Replacement fasteners must be the correct part number for that application. Fasteners requiring replacement or fasteners requiring the use of thread locking compound or sealant are identified in the service procedure. Do not use paints, lubricants, or corrosion inhibitors on fasteners or fastener joint surfaces unless specified. These coatings affect fastener torque and joint clamping force and may damage the fastener. Use the correct tightening sequence and specifications when installing fasteners in order to avoid damage to parts and systems.

  13. Install the tether strap anchor bolt into the hole in the trim panel (3) and into the J-clip (5).
  14. Tighten
    Tighten the tether strap anchor bolt to 45 N·m (33 lb ft).