GM Service Manual Online
For 1990-2009 cars only

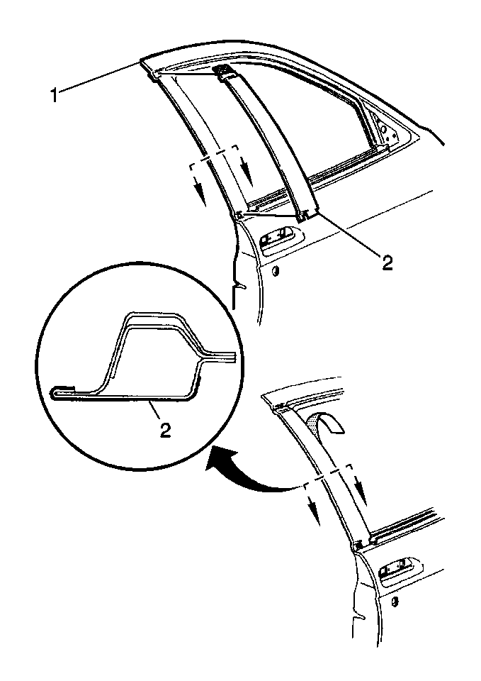
Removal Procedure

  1. Remove the front door outer belt sealing strip. Refer to Outer Belt Sealing Strip Replacement .

  2. Object Number: 293549  Size: MH
  3. Starting at one edge, peel the front door frame molding (2) from the pillar surface.
  4. Apply heat to the applique surface at the point of removal in order to aid the removal operation.

  5. Remove all traces of adhesive residue from the painted surfaces with a silicone, wax and grease remover.

Installation Procedure


    Object Number: 293549  Size: MH
  1. Prepare the surface using the following procedure:
  2. 1.1. Clean the painted surface with a silicone, wax and grease remover.
    1.2. Clean the area where the molding will be applied with a 50-50 mixture of isopropyl alcohol and water.
    1.3. Wipe the panel surface with a clean cloth while the solvent is still wet.
    1.4. Allow the panel to dry.
  3. Remove the backing material from the front door frame molding (2).
  4. Align the opening on the molding to the hole in the pillar at the beltline while aligning the upper edge on the premask to the door edge.
  5. Install the molding to the pillar.
  6. Use a foaming-type window cleaner, that does not contain ammonia, as a wetting solution in order to allow movement of the molding for proper positioning.

  7. Working from the center where possible, squeegee the molding (2) into position.
  8. Application of additional wetting solution may be necessary in order to ease the installation of the molding.

    Application of a soapy wetting solution on the top side of the molding will ease the pull of the squeegee on the molding. This will help eliminate damage to the molding.

  9. Preheat the top corner areas of the molding briefly with a heat gun.
  10. Preheat the vertical edges briefly with a heat gun.

  11. Remove the premask.
  12. Wrap the molding around the hem flange and front facing of the pillar.
  13. Apply heat on the molding wrapped around the hem flange for a firm bond.
  14. Install the front door outer belt sealing strip. Refer to Outer Belt Sealing Strip Replacement .