GM Service Manual Online
For 1990-2009 cars only

Removal Procedure


    Object Number: 292074  Size: SH
  1. Remove the front seat cushion (2). Refer to Front Seat Cushion Replacement .

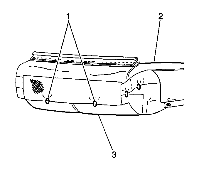
  2. Object Number: 292077  Size: SH
  3. Remove the trim retainer rings (1).
  4. Disengage the hook and loop retainers.
  5. Remove the cushion cover from the foam.

Installation Procedure

  1. Install the cushion cover to the foam.
  2. Engage the hook and loop retainers.

  3. Object Number: 292077  Size: SH
  4. Install the trim retainer rings (1).

  5. Object Number: 292074  Size: SH
  6. Install the front seat cushion (2). Refer to Front Seat Cushion Replacement .