GM Service Manual Online
For 1990-2009 cars only

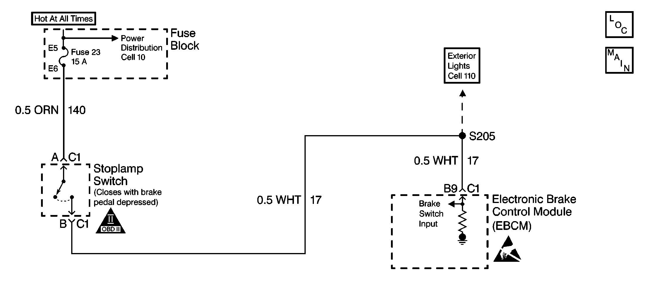
Object Number: 215299  Size: SF

Circuit Description

DTC C1291 detects an open brake switch in the non-ABS mode. The EBCM looks for deceleration rates that may indicate braking action. The EBCM verifies braking action by repeating the method for finding deceleration rates that indicate braking action several times. In each case, the ABS will not be available because the EBCM does not see the brake switch input.

Conditions for Setting the DTC

DTC C1291 can set if three deceleration cycles within the specified rate occur during the current ignition cycle with the brake switch off.

Action Taken When the DTC Sets

    • A malfunction DTC stores.
    • The ABS disables.
    • The amber ABS warning indicator(s) turns on.

Conditions for Clearing the DTC

    • The condition responsible for setting the DTC no longer exists and the Scan Tool Clear DTCs function is used.
    • 100 drive cycles pass with no DTC(s) detected.

Diagnostic Aids

The following conditions may cause an intermittent malfunction:

    • A poor connection
    • Rubbed-through wire insulation
    • A broken wire inside the insulation

Use the enhanced diagnostic function of the Scan Tool in order to measure the frequency of the malfunction. Refer to the Scan Tool manual for the procedure.

Thoroughly inspect any circuitry that may cause the intermittent complaint for the following conditions:

    • Backed out terminals
    • Improper mating
    • Broken locks
    • Improperly formed or damaged terminals
    • Poor terminal-to-wiring connections
    • Physical damage to the wiring harness

Important: Zero the J 39200 test leads before making any resistance measurements. Refer to the J 39200 user's manual.

DTC C1291 Open Brake Lamp Sw Contacts During Decel

Step

Action

Value(s)

Yes

No

1

Was the Diagnostic System Check performed?

--

Go to Step 2

Go to Diagnostic System Check

2

  1. Turn the ignition switch to the RUN position.
  2. Do not start the engine.

  3. Install a Scan Tool .
  4. Use the Scan Tool in order to inspect for DTCs.

Is DTC C1295 set as either a current and/or history DTC?

--

Go to DTC C1295 Brake Lamp Switch Circuit Open

Go to Step 3

3

  1. Select Data List on the Scan Tool .
  2. Select Brake Switch Position on the Scan Tool .
  3. Apply light pressure to the brake pedal while monitoring the Brake Switch Position on the Scan Tool .

Does the Scan Tool indicate that the brake switch is on within 25 mm (1.0 in) of brake pedal travel?

--

Go to Step 25

Go to Step 4

4

  1. Apply firm pressure to the brake pedal.
  2. Observe the rear brake lamps.

Are the rear brake lamps on?

--

Go to Step 5

Go to Step 8

5

  1. Turn the ignition switch to the OFF position.
  2. Disconnect the 24-way EBCM connector C1.
  3. Turn the ignition switch to the RUN position.
  4. Do not start the engine.

  5. Apply firm pressure to the brake pedal.
  6. Use the J 39200 in order to measure the voltage between the 24-way EBCM harness connector C1 terminal B9 and ground.

Is the voltage equal to or greater than the specified voltage?

10.0 V

Go to Step 6

Go to Step 16

6

Inspect the 24-way EBCM connector C1 and the 24-way EBCM harness connector C1 for the following conditions:

    • Terminal damage
    • Poor terminal contact
    • Terminal corrosion

Is there poor terminal contact, terminal corrosion, or damaged terminals?

--

Go to Step 17

Go to Step 7

7

  1. Reconnect the 24-way EBCM connector C1.
  2. Test drive the vehicle and perform a brake stop from 32 km/h (20 mph) engaging the ABS.
  3. Use the Scan Tool in order to inspect for DTCs.

Does DTC C1291 and DTC C1292 set as a current DTC?

--

Go to Step 23

Go to Step 25

8

Use the J 39200 in order to measure the voltage between the stoplamp switch harness connector C1 terminal A and ground.

Is the voltage equal to or greater than the specified voltage?

10.0 V

Go to Step 9

Go to Step 11

9

  1. Apply firm pressure to the brake pedal.
  2. Use the J 39200 in order to measure the voltage between the stoplamp switch harness connector C1 terminal B and ground.

Is the voltage equal to or greater than the specified voltage?

10.0 V

Go to Step 16

Go to Step 10

10

Inspect for proper adjustment of the stoplamp switch.

Is the stoplamp switch adjusted correctly?

--

Go to Step 18

Go to Step 19

11

  1. Remove the fuse block Fuse 23 (15A).
  2. Use the J 39200 in order to measure the resistance between the Fuse 23 (15A) terminals.

Is the resistance within the specified range?

0.0-2.0 ohms

Go to Step 12

Go to Step 13

12

  1. Disconnect the stoplamp switch connector C1.
  2. Use a J 39200 in order to measure the resistance between the stoplamp switch harness connector C1 terminal A and the fuse block terminal E6.

Is the resistance within the specified range?

0.0-2.0 ohms

Go to Step 14

Go to Step 21

13

  1. Disconnect the 24-way EBCM connector C1.
  2. Use the J 39200 in order to measure the resistance between the 24-way EBCM connector C1 terminal B9 and ground.

Is the resistance within the specified range?

OL

(Infinite)

Go to Step 15

Go to Step 20

14

Use the J 39200 in order to measure the voltage between the fuse block terminal E5 and ground.

Is the voltage equal to or greater than the specified voltage?

10 V

Go to Step 25

Go to Diagnostic System Check

15

  1. Disconnect the stoplamp switch connector C1.
  2. Use the J 39200 in order to measure the resistance between the stoplamp switch harness connector C1 terminal A and ground.

Is the resistance within the specified range?

OL

(Infinite)

Go to Step 24

Go to Step 22

16

Repair the open in CKT 17.

Is the repair complete?

--

Go to Diagnostic System Check

--

17

Replace all the terminal or the connectors that exhibit the following conditions:

    • Poor terminal contact
    • Terminal corrosion
    • Damaged terminals

Is the repair complete?

--

Go to Diagnostic System Check

--

18

Replace the stoplamp switch.

Is the repair complete?

--

Go to Diagnostic System Check

--

19

Adjust the stoplamp switch.

Is the repair complete?

--

Go to Diagnostic System Check

--

20

  1. Repair the short to ground in CKT 17.
  2. Replace the Fuse  23 (15A) with a known good Fuse (15A).

Is the repair complete?

--

Go to Diagnostic System Check

--

21

Repair the open in CKT 140.

Is the repair complete?

--

Go to Diagnostic System Check

--

22

  1. Repair the short to ground in CKT 140.
  2. Replace the Fuse 23 (15A) with a known good Fuse (15A).

Is the repair complete?

--

Go to Diagnostic System Check

--

23

Replace the EBCM. Refer to Electronic Brake Control Module Replacement .

Is the repair complete?

--

Go to Diagnostic System Check

--

24

Replace the Fuse 23 (15A) with a known good Fuse (15A).

Is the repair complete?

--

Go to Diagnostic System Check

--

25

The malfunction is intermittent or is not present at this time.

Is the action complete?

--

Go to Diagnostic Aids

--