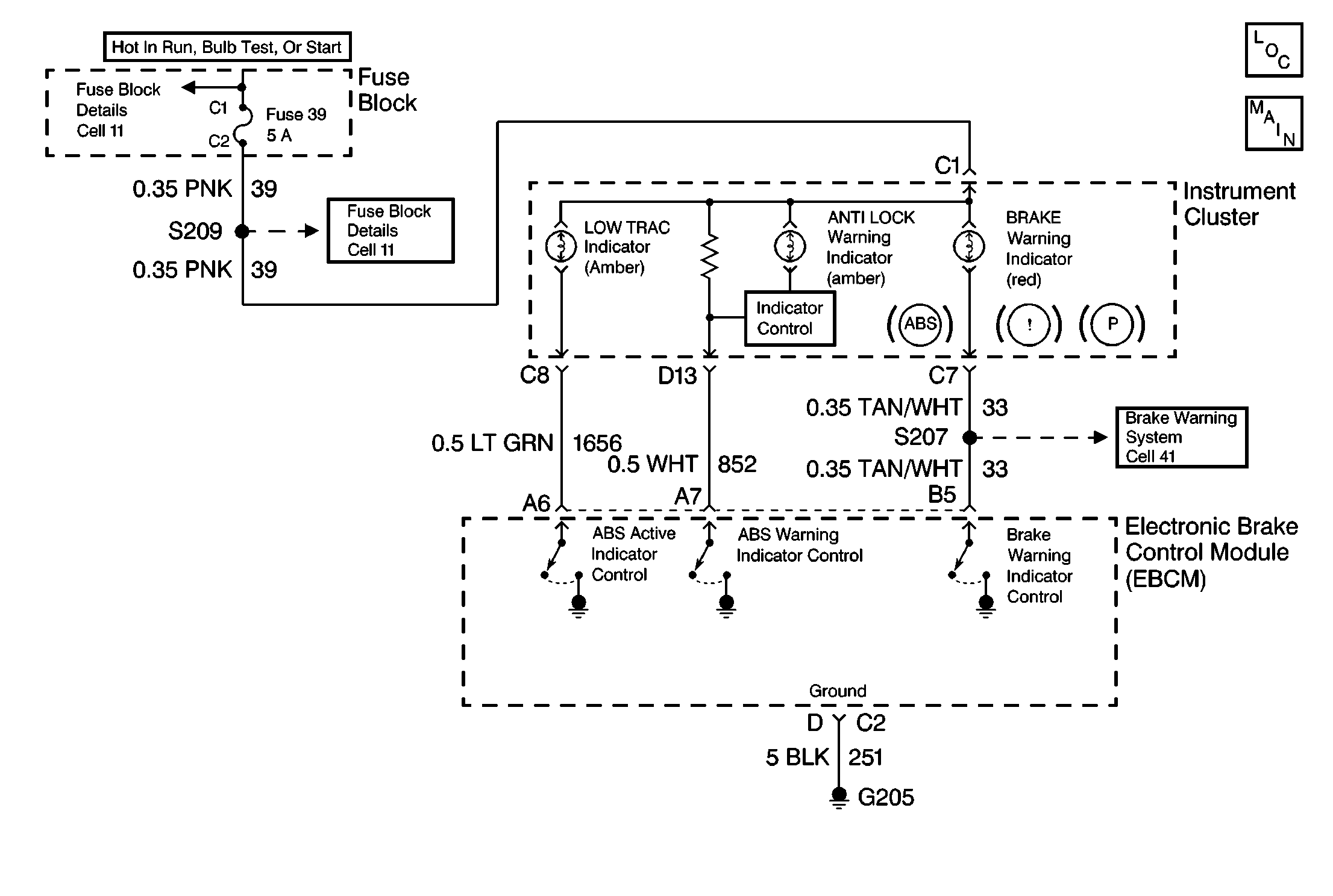
DTC C1211 tests the state of the ABS warning indicator. DTC C1211 identifies a situation in which the driver could not be warned of a system malfunction by the ABS warning indicator, or the ABS warning indicator is always on. Due to an integral lamp driver module within the instrument panel cluster, the EBCM must provide a ground in order to turn the amber ABS warning indicator off. Because of the circuitry in the Lamp Driver Module (LDM), only external malfunctions are detected. As a result, the integral LDM itself is not diagnosable. Only the control line to the EBCM is diagnosable. In the event an open CKT 852, the ABS warning indicator remains on at all times, due to the loss of ground at the integral LDM input. If the control line shorts to ground, the ABS warning indicator remains off, due to grounding the integral LDM input.
DTC C1211 sets only during one of the following conditions:
| • | The three second bulb check |
| • | The amber ABS warning indicator turns on |
A malfunction exists if the EBCM cannot control the ABS warning indicator for two seconds.
| • | A malfunction DTC stores. |
| • | The ABS does not disable. |
| • | The condition responsible for setting the DTC no longer exists and the Scan Tool Clear DTC function is used. |
| • | 100 drive cycles pass with no DTC(s) detected. |
The following conditions may cause an intermittent malfunction:
| • | A poor connection |
| • | Rubbed-through wire insulation |
| • | A broken wire inside the insulation |
Use the Scan Tool Lamp Test function in order to command the indicator on while looking for an intermittent malfunction in the ABS active indicator circuitry.
Use the enhanced diagnostic function of the Scan Tool in order to measure the frequency of the malfunction. Refer to the Scan Tool manual for the procedure.
Thoroughly inspect any circuitry that may be causing the intermittent complaint for the following conditions:
| • | Backed out terminals |
| • | Improper mating |
| • | Broken locks |
| • | Improperly formed or damaged terminals |
| • | Poor terminal-to-wiring connections |
| • | Physical damage to the wiring harness |
Important: Zero the J 39200 test leads before making any resistance measurements. Refer to the J 39200 user's manual.
Step | Action | Value(s) | Yes | No | ||||||
|---|---|---|---|---|---|---|---|---|---|---|
1 | Was the Diagnostic System Check performed? | -- | Go to Diagnostic System Check | |||||||
2 |
Do not start the engine. Can the amber ABS warning indicator be turned on and flashed? | -- | ||||||||
3 |
Do not start the engine. Does the amber ABS warning indicator turn on and stay on? | -- | ||||||||
4 |
Do not start the engine. Are there any other DTCs present? | -- | Go to the applicable DTC table | |||||||
5 |
Do not start the engine. Is the amber ABS warning indicator on? | -- | ||||||||
6 |
Is the resistance within the specified range? | 0-2 ohms | ||||||||
7 |
Do not start the engine. Is the voltage within the specified range? | 0-2 V | ||||||||
8 |
Are there signs of poor terminal contact, corrosion, or a damaged terminal? | -- | ||||||||
9 |
Do not start the engine. Does DTC C1211 reset? | -- | Go to Diagnostic System Check | |||||||
10 |
Do the remaining instrument panel cluster warning indicators operate properly? | -- | ||||||||
11 |
Do not start the engine. Does the amber ABS warning indicator turn on? | -- | ||||||||
12 |
Is the resistance within the specified range? | OL (Infinite) | Go to Instrument Cluster System Check in Instrument Panel, Gauges, and Console | |||||||
13 |
Is the fuse open? | -- | ||||||||
14 | Use the J 39200 in order to measure the resistance between CKT 39 and ground. Refer to Testing for Continuity in Wiring Systems. Is the resistance within the specified range? | 0-2 ohms | ||||||||
15 | Repair the short to ground in CKT 39. Refer to Wiring Repairs in Wiring Systems. Is the repair complete? | -- | -- | |||||||
16 | Repair the open in CKT 39. Refer to Wiring Repairs in Wiring Systems. Is the repair complete? | -- | Go to Diagnostic System Check | -- | ||||||
17 | Replace the fuse block Fuse 39 (5A) with a known good Fuse (5A). Is the repair complete? | -- | Go to Diagnostic System Check | -- | ||||||
18 | Repair the short to ground in CKT 852. Refer to Wiring Repairs in Wiring Systems. Is the repair complete? | -- | Go to Diagnostic System Check | -- | ||||||
19 | Repair the 24-way EBCM connector C1. Refer to Wiring Repairs in Wiring Systems. Is the repair complete? | -- | -- | |||||||
20 | Repair the open or high resistance in CKT 852. Refer to Wiring Repairs in Wiring Systems. Is the repair complete? | -- | Go to Diagnostic System Check | -- | ||||||
21 | Repair the short to voltage in CKT 852. Refer to Wiring Repairs in Wiring Systems. Is the repair complete? | -- | Go to Diagnostic System Check | -- | ||||||
22 | Replace the EBCM. Refer to Electronic Brake Control Module Replacement . Is the repair complete? | -- | Go to Diagnostic System Check | -- | ||||||
23 | The malfunction is intermittent or is not present at this time. Is the action complete? | -- | Go to Diagnostic Aids | -- |