GM Service Manual Online
For 1990-2009 cars only

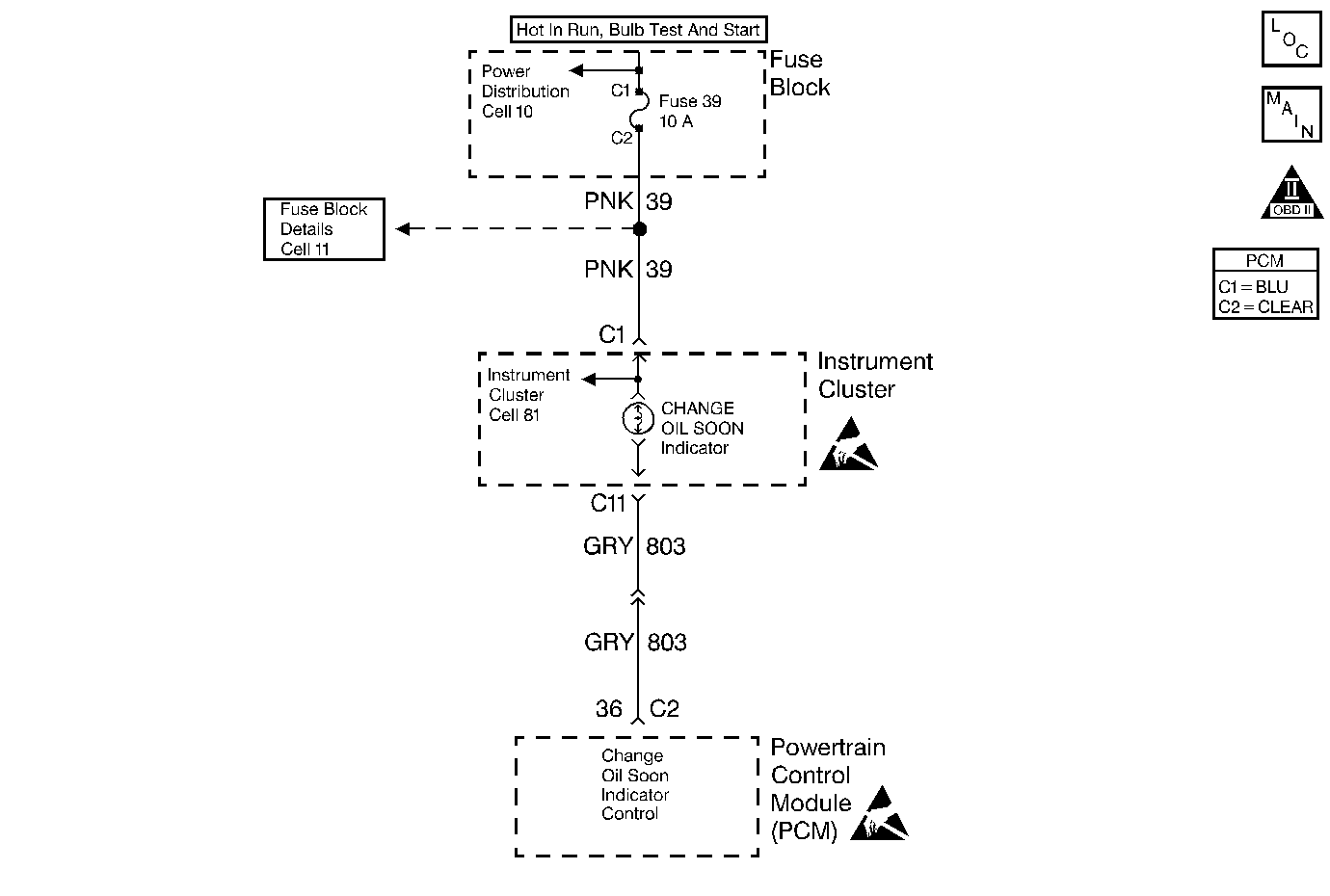
Object Number: 235372  Size: MF
Engine Controls Components
Indicator Lamps
OBD II Symbol Description Notice
Handling ESD Sensitive Parts Notice
Handling ESD Sensitive Parts Notice

Circuit Description

The Change Oil Soon indicator is powered through a 10 Amp fuse in the fuse block. The PCM turns on indicator by supplying a path to ground through the PCM.

Conditions for Setting the DTC

A PCM controlled lamp on at all times most likely indicates that a condition is present which requires the attention of the vehicle operator.

Check for the following conditions:

    •  Poor connection at PCM. Inspect harness connectors for backed out terminals, improper mating, broken locks, improperly formed or damaged terminals, and poor terminal to wire connection.
    •  Damaged harness. Inspect the wiring harness for damage. If the harness appears to be OK, disconnect the PCM and turn the ignition on. Observe a voltmeter connected to the affected PCM output circuit while moving connectors and wiring harnesses related to the PCM output circuit. A change in voltage will indicate the location of the fault.

Action Taken When the DTC Sets

    • The PCM will not illuminate the malfunction indicator lamp (MIL).
    • The PCM will store conditions which were present when the DTC set as Failure Records data only. This information will not be stored as Freeze Frame data.

Conditions for Clearing the MIL/DTC

    • A History DTC will clear after 40 consecutive warm-up cycles have occurred without a malfunction.
    • The DTC can be cleared by using the scan tool Clear Info function.

Diagnostic Aids

A PCM controlled lamp on at all times most likely indicates that a condition is present which requires the attention of the vehicle operator.

Check for the following conditions:

    •  Poor connection at PCM. Inspect harness connectors for backed out terminals, improper mating, broken locks, improperly formed or damaged terminals, and poor terminal to wire connection.
    •  Damaged harness. Inspect the wiring harness for damage. If the harness appears to be OK, disconnect the PCM and turn the ignition on. Observe a voltmeter connected to the affected PCM output circuit while moving connectors and wiring harnesses related to the PCM output circuit. A change in voltage will indicate the location of the fault.

Test Description

Number(s) below refer to the step number(s) on the Diagnostic Table:

  1. Normally, ignition feed voltage should be present on the output control circuit with the PCM disconnected and the ignition turned ON.

  2. Checks for a shorted component or a short to battery positive voltage on the output control circuit. Either condition would result in a measured current of over 500 milliamps. Also checks for a component that is going open while being operated, resulting in a measured current of 0 milliamps.

  3. Checks for a short to voltage on the lamp control circuit.

  4. This vehicle is equipped with a PCM which utilizes an Electrically Erasable Programmable Read Only Memory (EEPROM). When the PCM is being replaced, the new PCM must be programmed. Refer to Powertrain Control Module Replacement/Programming .

Step

Action

Value(s)

Yes

No

1

Was the Powertrain On Board Diagnostic (OBD) System Check performed?

--

Go to Step 2

Go to Powertrain On Board Diagnostic (OBD) System Check

2

Was the Instrument Cluster System check in Electrical Diagnosis performed?

--

Go to Step 3

Go to Instrument Cluster System Check in Instrument Panel, Gauges and Console

3

  1. Turn OFF the ignition switch.
  2. Disconnect the PCM.
  3. Turn ON the ignition switch.
  4. Using a J 39200 Digital Multimeter, measure voltage between the affected lamp control circuit at the PCM harness connector and ground.

Is voltage near the specified value?

B+

Go to Step 4

Go to Step 7

4

  1. Connect the digital multimeter to measure current between the affected lamp control circuit and ground.
  2. Monitor the current reading on the digital multimeter for at least 2 minutes.

Does the current reading remain between the specified values?

0.05 -0.5 Amp

(50-500 mA)

Go to Step 12

Go to Step 5

5

  1. Turn OFF the ignition switch.
  2. Disconnect the instrument panel cluster (leave the PCM disconnected).
  3. Turn ON the ignition switch.
  4. Measure voltage between the affected lamp control circuit and ground.

Is voltage at the specified value?

0.0V

Go to Step 15

Go to Step 6

6

Locate and repair the short to voltage in the affected PCM output circuit. Refer to Wiring Repairs in Wiring Systems.

Did you complete the repair?

--

Go to Step 17

--

7

Check the ignition feed fuse for the instrument panel cluster indicator lamps.

Is the the fuse blown?

--

Go to Step 8

Go to Step 9

8

  1. Locate and repair the short to ground in the ignition feed circuit for the instrument panel cluster indicator lamps. Refer to Wiring Repairs in Wiring Systems.
  2. Replace the fuse.

Did you complete the repair?

--

Go to Step 17

--

9

  1. Disconnect the instrument panel cluster.
  2. Turn ON the ignition switch.
  3. Measure the voltage between the ignition feed circuit for the instrument panel cluster indicator lamps and ground.

Is the voltage near the specified value?

B+

Go to Step 10

Go to Step 14

10

  1. Check the affected lamp control circuit for an open or a short to ground.
  2. If a problem is found repair as necessary. Refer to Wiring Repairs in Wiring Systems.

Was a problem found?

--

Go to Step 17

Go to Step 11

11

  1. Check the affected lamp control circuit and the ignition feed circuit for a faulty connection at the instrument panel cluster or at the PCM.
  2. If a problem is found, replace the loose terminal(s). Refer to Connector Repairs in Wiring Systems.

Was a problem found?

--

Go to Step 17

Go to Step 15

12

  1. Turn OFF the ignition switch.
  2. Reconnect the PCM and disconnect the instrument panel cluster.
  3. Turn ON the ignition switch.
  4. Connect a test light between the affected lamp control circuit and the ignition feed circuit at the instrument panel cluster harness connector.
  5. Using the scan tool outputs test function, cycle the affected lamp ON and OFF.

Does the test light flash ON and OFF?

--

Go to Diagnostic Aids

Go to Step 13

13

  1. Check the affected lamp control circuit for a faulty connection at the PCM.
  2. If a problem is found, replace the loose terminal. Refer to Connector Repairs in Wiring Systems.

Was a problem found?

--

Go to Step 17

Go to Step 16

14

Locate and repair open in the ignition feed circuit to the instrument panel cluster indicator lamps. Refer to Wiring Repairs in Wiring Systems.

Did you complete the repair?

--

Go to Step 17

--

15

The fault is isolated to the instrument panel cluster. Refer to Instrument Cluster System Check in Instrument Panel, Gauges, and Console.

Did you complete the repair?

--

Go to Step 17

--

16

Important: :  The replacement PCM must be programmed.

Replace the PCM. Refer to Powertrain Control Module Replacement/Programming .

Did you complete the repair?

--

Go to Step 17

--

17

Operate the affected lamp using the scan tool output tests function.

Does the affected lamp operate properly?

--

System OK

Go to Step 3