GM Service Manual Online
For 1990-2009 cars only

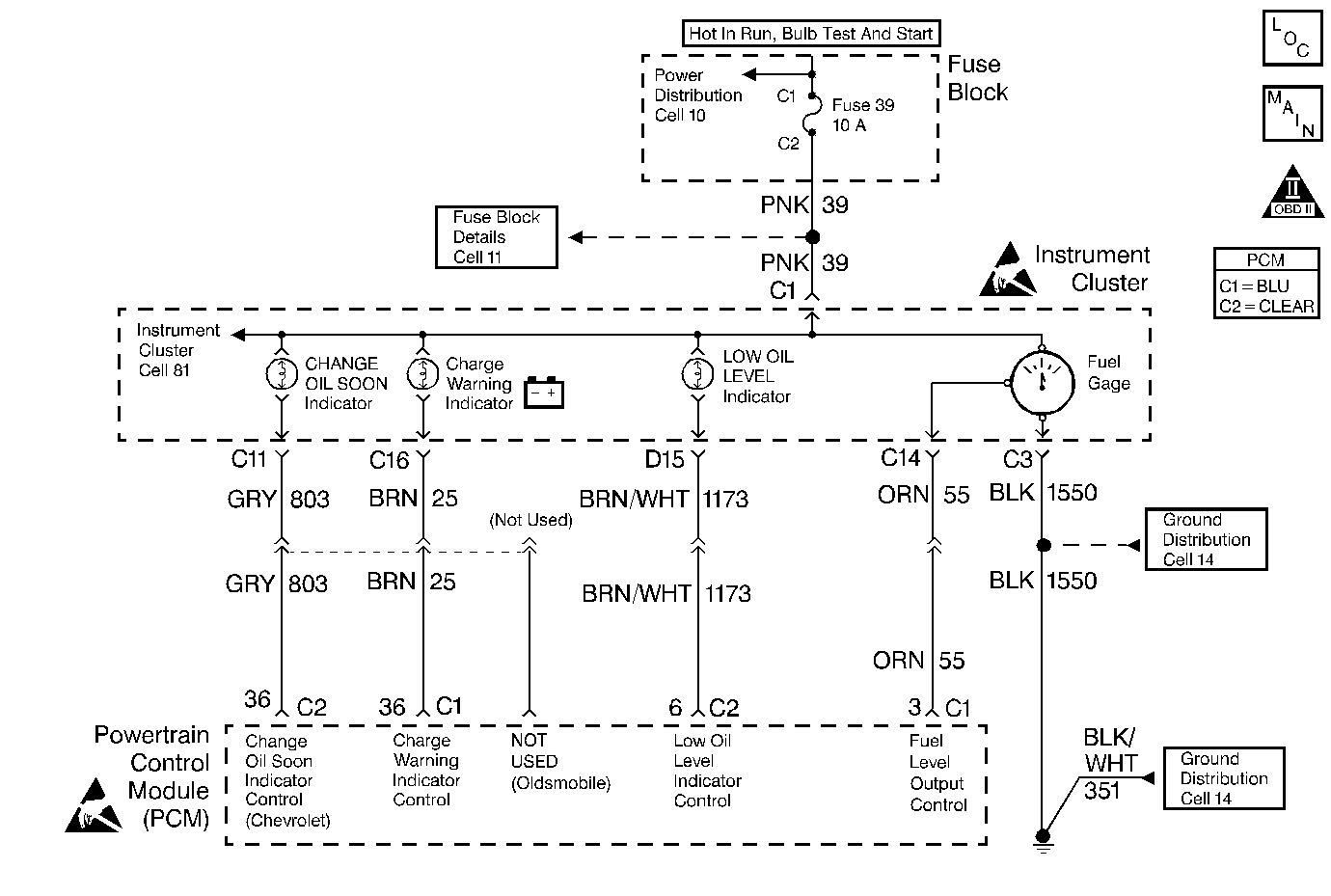
Object Number: 237543  Size: MF
Engine Controls Components
Indicator Lamps
OBD II Symbol Description Notice

Circuit Description

Output Driver Modules (ODMs) are used by the PCM to turn on many of the current-driven devices that are needed to control various engine and Transaxle functions. Each ODM is capable of controlling up to 7 separate outputs by applying ground to the device which the PCM is commanding ON. Unlike the Quad Driver Modules (QDMs) used in prior model years, ODMs have the capability of diagnosing each output circuit individually. DTC P1653 set indicates an improper voltage level on the output circuit that controls the fuel gauge.

Conditions for Setting the DTC

    • The ignition is ON.
    • An improper voltage level has been detected on the output circuit which controls the fuel gauge.
    • The above conditions are present for at least 30 seconds.

Action Taken When the DTC Sets

    • The PCM will not illuminate the Malfunction Indicator Lamp (MIL).
    • The PCM will store conditions which were present when the DTC set as Fail Records data only. This information will not be stored as Freeze Frame data.

Conditions for Clearing the MIL/DTC

    • A history DTC will clear after 40 consecutive warm-up cycles have occurred without a malfunction.
    • DTC can be cleared by using the scan tool Clear Info function or by disconnecting the PCM battery feed.

Diagnostic Aids

Check for the following conditions:

    • Poor connection at the PCM. Inspect harness connectors for backed out terminals, improper mating, broken locks, improperly formed or damaged terminals, and poor terminal to wire connection.
    • Damaged harness. Inspect the wiring harness for damage.
    • If the harness appears to be OK, disconnect the PCM, turn the ignition ON and observe a digital multimeter connected between the fuel gauge control circuit and ground at the PCM harness connector while moving connectors and wiring harnesses related to the fuel gauge. A change in voltage will indicate the location of the fault.

Reviewing the Fail Records vehicle mileage since the diagnostic test last failed may help determine how often the condition that caused the DTC to be set occurs. This may assist in diagnosing the condition.

Test Description

The numbers below refer to the step numbers on the diagnostic table.

  1. Normally, ignition feed voltage should be present on the output control circuit with the PCM disconnected and the ignition turned ON.

  2. Checks for a shorted component or a short to B+ on the output control circuit. Either condition would result in a measured current of over 1.5 amps. Also checks for a component that is going open while being operated, resulting in a measured current of 0 amps.

  3. Checks for a malfunctioning instrument cluster.

  4. This vehicle is equipped with a PCM which utilizes an Electrically Erasable Programmable Read Only Memory (EEPROM). When the PCM is being replaced, the new PCM must be programmed.

Fuel Level Output Control Circuit

Step

Action

Value(s)

Yes

No

1

Did you perform the Powertrain On-Board Diagnostic (OBD) System Check?

--

Go to Step 2

Go to Powertrain On Board Diagnostic (OBD) System Check

2

Was the Instrument Cluster System Check performed?

--

Go to Step 3

Go to Instrument Cluster System Check

3

  1. Turn OFF the ignition switch.
  2. Disconnect the PCM.
  3. Turn ON the ignition switch.
  4. Using a J 39200 Digital Multimeter, measure voltage between the fuel level output circuit at the PCM harness connector and ground.

Is voltage near the specified value?

B+

Go to Step 4

Go to Step 7

4

  1. Set the DMM to the 10 amp scale and measure current between the affected PCM output circuit and ground.
  2. Monitor the current reading on the DMM for at least 2 minutes.

Does the current reading remain between the specified values?

0.05 Amp-1.5 Amps

Go to Step 12

Go to Step 5

5

  1. Disconnect the instrument panel cluster.
  2. Leave the PCM disconnected
  3. Measure voltage between the fuel level output circuit and ground.

Is voltage at the specified value?

0V

Go to Step 15

Go to Step 6

6

Locate and repair the short to voltage in the affected PCM output circuit. Refer to Wiring Repairs in Wiring Systems.

Did you complete the repair?

--

Go to Step 17

--

7

Check the Ignition feed fuse for the instrument panel cluster.

Is the the fuse blown?

--

Go to Step 8

Go to Step 9

8

  1. Locate and repair the short to ground in the Ignition feed circuit for the instrument panel cluster. Refer to Wiring Repairs in Wiring Systems.
  2. Replace the fuse.

Did you complete the repair?

--

Go to Step 17

--

9

  1. Disconnect the instrument panel cluster.
  2. Turn ON the ignition switch.
  3. Measure voltage between the Ignition feed circuit for the instrument panel cluster and ground.

Is voltage near the specified value?

B+

Go to Step 10

Go to Step 14

10

  1. Check the fuel level control circuit for an open or a short to ground.
  2. If a problem is found repair as necessary. Refer to Wiring Repairs in Wiring Systems.

Was a problem found?

--

Go to Step 17

Go to Step 11

11

  1. Check the fuel level control circuit and the ignition feed circuit for a faulty connection at the instrument panel cluster. Refer to Intermittents and Poor Connections Diagnosis in Wiring Systems.
  2. If a problem is found, repair as necessary. Refer to Connector Repairs in Wiring Systems.

Was a problem found?

--

Go to Step 17

Go to Step 15

12

  1. Turn OFF the ignition switch.
  2. Leave the PCM disconnected.
  3. Disconnect the instrument panel cluster.
  4. Turn ON the ignition switch.
  5. Connect a test lamp between the fuel level output circuit and the Ignition feed circuit at the instrument panel cluster harness connector.
  6. Connect one end of a fused jumper to the fuel level output circuit and touch the other end to ground for at least 30 seconds.

Does the fuel gauge indicate EMPTY?

--

Go to Step 13

Go to Diagnostic Aids

13

  1. Check the fuel level output control circuit for a faulty connection at the PCM. Refer to Intermittents and Poor Connections Diagnosis in Wiring Systems.
  2. If a problem is found, repair as necessary. Refer to Connector Repairs in Wiring Systems.

Was a problem found?

--

Go to Step 17

Go to Step 16

14

Locate and repair open in the ignition feed circuit to the instrument panel cluster indicator lamps. Refer to Wiring Repairs in Wiring Systems.

Did you complete the repair?

--

Go to Step 17

--

15

Replace the instrument panel cluster. Refer to Instrument Cluster Replacement In Instrument Panel, Gauges, and Console.

Did you complete the repair?

--

Go to Step 17

--

16

Important: The replacement PCM must be programmed.

Replace the PCM. Refer to Powertrain Control Module Replacement/Programming .

Did you complete the repair?

--

Go to Step 17

--

17

Operate the affected lamp using a scan tool output tests function.

Does the affected lamp operate properly?

--

System OK

Go to Step 3