GM Service Manual Online
For 1990-2009 cars only
Table 1: TFP Manual Valve Position Switch Logic
Table 2: DTC P1810 TFP Manual Valve Position Switch Circuit Malfunction
Table 3: Pass Conditions for DTC P1810

Object Number: 254353  Size: MF
Automatic Transmission Components
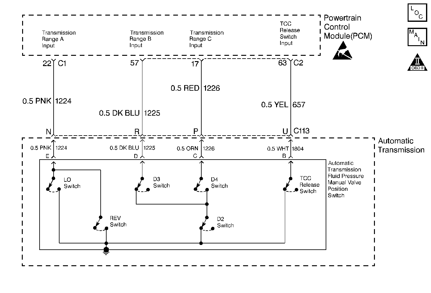
Automatic Transmission Controls Schematics
OBD II Symbol Description Notice
Handling ESD Sensitive Parts Notice

Circuit Description

The Automatic Transmission Fluid Pressure Manual Valve Position switch (TFP Val. Position Sw.) consists of six pressure switches (three normally-closed and three normally-open switches). Ignition voltage is applied to each of the switches. By grounding one or more of these switches with fluid pressure from the manual valve, the PCM can detect which gear range is selected.

If the PCM detects an illegal combination on any range inputs (ON/OFF/ON or ON/ON/ON), then DTC P1810 sets. If the PCM detects a gear range other than the one indicated, then DTC P1810 sets. DTC P1810 is a Type B DTC.

Conditions for Setting the DTC

One of the following fail cases must be true:

Case 1

    • The engine speed is greater than 500 RPM for 5 seconds, and not in fuel shut off.
    • The system voltage is 9-16 volts.
    • The TFP Val. Position Sw. indicates an illegal switch combination for 60 seconds.

Case 2

    • No VSS DTCs P0502 or P0503.
    • The system voltage is 9-16 volts.
    • The engine speed starts at less than 50 RPM and rises to more than 700 RPM (engine startup).
    • The vehicle speed is less than 5 km/h (3 mph).
    • TFP Val. Position Sw. indicates Reverse, D2 or D4 for 7 seconds during and after start up without indicating Park/Neutral.

Case 3

    • No TP sensor DTCs P0121, P0122 or P0123.
    • No VSS DTCs P0502 or P0503.
    • No A/T ISS DTCs P0716 or P0717.
    • No 1-2 SS Valve DTCs P0751 or P0753.
    • No 2-3 SS Valve DTCs P0756 or P0758.
    • The engine torque is 70-230 N·m (50-170 lb ft).
    • The engine speed is greater than 500 RPM for 5 seconds, and not in fuel shut off.
    • The throttle position is greater than 9%.
    • The gear ratio indicates Reverse, D4, D3, D2 or D1.
    • The vehicle speed is more than 8 km/h (5 mph).
    • The TFP Val. Position Sw. indicates Park/Neutral for 5 seconds.

Case 4

    • No TP sensor DTCs P0121, P0122 or P0123.
    • No VSS DTCs P0502 or P0503.
    • No A/T ISS DTCs P0716 or P0717.
    • No 1-2 SS Valve DTCs P0751 or P0753.
    • No 2-3 SS Valve DTCs P0756 or P0758.
    • The engine torque is 70-230 N·m (50-170 lb ft).
    • The engine speed is more than 500 RPM for 5 seconds, and not in fuel shut off.
    • The throttle position is greater than 9%.
    • The gear ratio indicates D4, D3, D2 or D1.
    • The vehicle speed is greater than 8 km/h (5 mph).
    • The TFP Val. Position Sw. indicates Reverse for 7 seconds.

Case 5

    • No TP sensor DTCs P0121, P0122 or P0123.
    • No VSS DTCs P0502 or P0503.
    • No A/T ISS DTCs P0716 or P0717 are set.
    • No 1-2 SS Valve DTCs P0751 or P0753.
    • No 2-3 SS Valve DTCs P0756 or P0758.
    • The engine torque is 70-230 N·m (50-170 lb ft).
    • The engine speed is greater than 500 RPM for 5 seconds, and not in fuel shut off.
    • The throttle position is greater than 9%.
    • The gear ratio indicates Reverse.
    • The vehicle speed is more than 8 km/h (5 mph).
    • The TFP Val. Position Sw. indicates D4, D3, D2 or D1 for 5 seconds.

Action Taken When the DTC Sets

    • The PCM illuminates the Malfunction Indicator Lamp (MIL).
    • The PCM commands maximum line pressure.
    • The PCM disables shift adapts.
    • The PCM assumes D4 for shifting.

Conditions for Clearing the MIL/DTC

    • The PCM turns OFF the MIL after three consecutive trips without a failure reported.
    • A scan tool can clear the DTC from the PCM history. The PCM clears the DTC from the PCM history if the vehicle completes 40 warm-up cycles without a failure reported.
    • The PCM cancels the DTC default actions when the fault no longer exists and the ignition is OFF long enough in order to power down the PCM.

Diagnostic Aids

    • Inspect the wiring at the PCM, the transmission 20-way connector, the 6-way TFP Val. Position Sw. connector and all other circuit connecting points for the following conditions:
       - A bent terminal
       - A backed out terminal
       - A damaged terminal
       - Poor terminal tension
       - A chafed wire
       - A broken wire inside the insulation
       - Moisture intrusion
       - Corrosion
    • When diagnosing for an intermittent short or open, massage the wiring harness while watching the test equipment for a change.
    • If a transmission overhaul was performed, ensure that the transmission fluid is at the proper level. A low fluid condition may set this DTC.
    • Diagnose DTC P0705 or P0706 first, if set.
    • Inspect the TFP Val. Position Sw. seals for damage.
    • Inspect the TFP Val. Position Sw. for debris, or loose rivets.

TFP Manual Valve Position Switch Logic

Gear Position

Range Signal A

Range Signal B

Range Signal C

Park

OFF

ON

OFF

Reverse

ON

ON

OFF

Neutral

OFF

ON

OFF

D4

OFF

ON

ON

D3

OFF

OFF

ON

D2

OFF

OFF

OFF

D1

ON

OFF

OFF

Illegal

ON

OFF

ON

Illegal

ON

ON

ON

Test Description

The numbers below refer to the step numbers on the diagnostic table.

  1. This step tests the indicated range signal to the manual valve actually selected.

  2. This step tests for correct voltage from the PCM to the transmission 20-way connector.

DTC P1810 TFP Manual Valve Position Switch Circuit Malfunction

Step

Action

Value(s)

Yes

No

1

Was the Powertrain On-Board Diagnostic (OBD) System Check performed?

--

Go to Step 2

Go to Powertrain On Board Diagnostic (OBD) System Check in Engine Controls

2

Perform the following inspections:

    • Ensure that the transmission linkage from the select lever to the manual valve is adjusted properly.
    • Perform the fluid checking procedure.

Did you perform the inspections?

--

Go to Step 3

--

3

  1. Install the Scan Tool .
  2. With the engine OFF, turn the ignition switch to the RUN position.
  3. Important: Before clearing the DTC(s), use the Scan Tool in order to record the Freeze Frame and Failure Records for reference. Using the Clear Info function will erase the stored Freeze Frame and Failure Records from the PCM.

  4. Record the DTC Freeze Frame and Failure Records, then clear the DTC(s).
  5. While the engine is idling at normal operating temperature, apply the parking brake.
  6. Select each transmission range: P, R, N, D4, D3, D2 and D1.

Refer to the TFP Valve Position Switch Logic table.

Does each selected transmission range match the Scan Tool TFP Switch A/B/C display?

--

Go to Diagnostic Aids

Go to Step 4

4

  1. Turn the ignition OFF.
  2. Disconnect the transmission 20-way connector (additional DTCs may set).
  3. Install the J 39775 Jumper Harness on the engine side of the transmission 20-way connector.
  4. With the engine OFF, turn the ignition switch to the RUN position.
  5. Using the J 39200 Digital Multimeter (DMM) and the J 35616-A Connector Test Adapter Kit, check the voltage at connector terminals N, R and P.

Is B+ displayed on all three circuits?

--

Go to Step 6

Go to Step 5

5

  1. Inspect the circuits that did not indicate B+ for an open or short to ground.
  2. Repair the circuits if necessary.

Refer to General Electrical Diagnosis in Wiring Systems.

Did you find a condition?

--

Go to Step 9

Go to Step 7

6

In order to verify that circuit 1224, circuit 1225 and circuit 1226 are not shorted together, use a fused jumper to ground on each circuit while monitoring the Scan Tool TFP Switch A/B/C display.

When a range signal circuit is grounded, are any other range signal circuits affected?

--

Go to Step 8

Refer to Transmission Fluid Pressure Manual Valve Position Switch Resistance Check

7

Replace the PCM.

Refer to Powertrain Control Module Replacement/Programming in Engine Controls.

Is the replacement complete?

--

Go to Step 9

--

8

Repair the affected wiring as necessary.

Refer to General Electrical Diagnosis in Wiring Systems.

Is the repair complete?

--

Go to Step 9

--

9

In order to verify your repair, perform the following procedure:

  1. Select DTC.
  2. Select Clear Info.
  3. Operate the vehicle, ensuring that all the pass cases in the following table are true.
  4. Select Specific DTC. Enter DTC P1810.

Has the test run and passed?

--

System OK

Go to Step 1

Pass Conditions for DTC P1810

Pass Case 1

Pass Case 2

Pass Case 3

Pass Case 4

Pass Case 5

The engine speed is more than 500 RPM for 5 seconds.

The engine speed starts at less than 50 RPM and rises to more than 700 RPM.

The engine speed is more than 500 RPM for 5 seconds.

The engine is not in fuel shut off.

The vehicle speed is less than 5 km/h (3 mph).

The engine is not in fuel shut off.

The system voltage is 9-16 volts.

The throttle position is more than 9%.

The TFP Val. Position Sw. indicates any legal switch combination for 60 seconds.

The TFP Val. Position Sw. indicates Park/Neutral for 0.15 seconds within 7 seconds after start up.

The engine torque is 70-230 N·m (50-170 lb ft).

--

No VSS DTCs P0502 or P0503

The vehicle speed is more than 8 km/h (5 mph).

--

--

The gear ratio does not indicate Reverse, D4, D3, D2 or D1.

The gear ratio indicates Reverse.

The gear ratio indicates D4, D3, D2 or D1.

--

--

The TFP Val. Position Sw. indicates Park/Neutral for 1 second.

The TFP Val. Position Sw. indicates Reverse for 3 seconds.

The TFP Val. Position Sw. indicates D4, D3, D2 or D1 for 1 second.

--

--

No SS DTCs

--

--

No A/T ISS DTCs

--

--

No VSS DTCs

--

--

No TPS DTCs