GM Service Manual Online
For 1990-2009 cars only

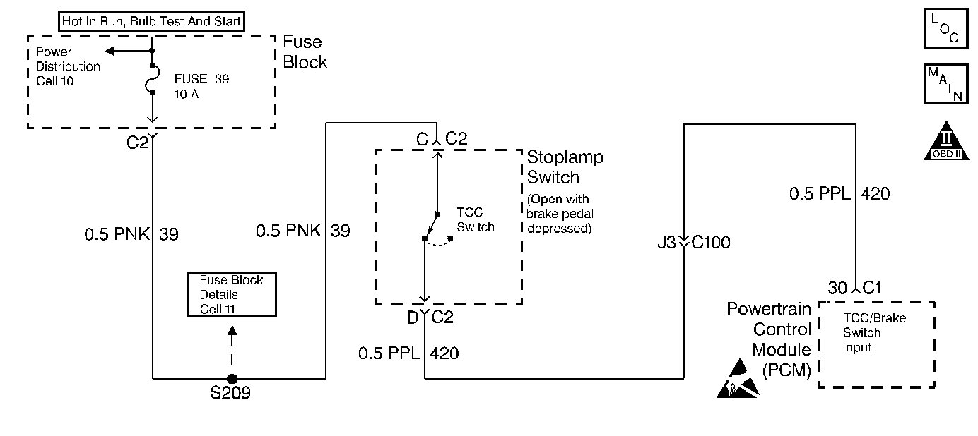
Object Number: 188807  Size: SF
Automatic Transmission Components
Automatic Transmission Controls Schematics
OBD II Symbol Description Notice
Handling ESD Sensitive Parts Notice

Circuit Description

The TCC brake switch reports brake pedal status to the Powertrain Control Module (PCM). The TCC brake switch indicates that the brake pedal is either applied or released. The normally-closed switch supplies battery voltage on circuit 420 to the PCM. Applying the brake pedal opens the TCC brake switch, interrupting voltage to the PCM. When the PCM receives 0 volts at the TCC brake switch input, the PCM turns OFF the Torque Converter Clutch Pulse Width Modulation Solenoid Valve (TCC PWM Sol. Valve).

If the PCM detects an open TCC brake switch (pedal applied) during acceleration, then DTC P0719 sets. DTC P0719 is a type D DTC.

Conditions for Setting the DTC

    • No VSS DTCs P0502 or P0503.
    • The vehicle speed is less than 8 km/h (5 mph);
    • Then the vehicle speed is between 8 km/h (5 mph) and 32 km/h (20 mph) for at least 4 seconds;
    • Finally, the vehicle speed remains above 32 km/h (20 mph) for 6 seconds.
    • The above conditions must occur 7 times consecutively with the TCC brake switch continuously open for more than 15 minutes.

Action Taken When the DTC Sets

    • The PCM does not illuminate the Malfunction Indicator Lamp (MIL).
    • Disregard the TCC brake switch for TCC scheduling when all of the following conditions are met:
       - The throttle position is greater than 6% and the vehicle speed is greater than 70 km/h (44 mph).
       - The throttle position was previously greater than 12% while the vehicle speed was greater than 75 km/h (47 mph).
       - The TCC brake switch has not been OFF for more than 2 seconds this ignition cycle.

Conditions for Clearing the DTC

    • A scan tool can clear the DTC from the PCM history. The PCM clears the DTC from the PCM history if the vehicle completes 40 warm-up cycles without a failure reported.
    • The PCM cancels the DTC default actions when the fault no longer exists and the ignition is OFF long enough in order to power down the PCM.

Diagnostic Aids

    • Inspect the wiring at the PCM, the TCC brake switch connector and all other circuit connecting points for the following conditions:
       - A bent terminal
       - A backed out terminal
       - A damaged terminal
       - Poor terminal tension
       - A chafed wire
       - A broken wire inside the insulation
       - Moisture intrusion
       - Corrosion
    • When diagnosing for an intermittent short or open, massage the wiring harness while watching the test equipment for a change.

Test Description

The numbers below refer to the step numbers on the diagnostic table.

  1. This step isolates the fault between the TCC brake switch and the harness.

DTC P0719 Brake Switch Circuit -- Low Input

Step

Action

Value(s)

Yes

No

1

Was the Powertrain On-Board Diagnostic (OBD) System Check performed?

--

Go to Step 2

Go to Powertrain On Board Diagnostic (OBD) System Check in Engine Controls

2

  1. Install the Scan Tool .
  2. With the engine OFF, turn the ignition switch to the RUN position.
  3. Important: Before clearing the DTC(s), use the Scan Tool in order to record the Failure Records for reference. Using the Clear Info function will erase the stored Failure Records from the PCM.

  4. Record the DTC Failure Records, then clear the DTC(s).

Did you record the Failure Records?

--

Go to Step 3

--

3

Inspect fuse 39 for an open.

Did you find and correct a condition?

--

Go to Step 4

Go to Step 5

4

  1. Inspect circuit 39 (PNK) for a short to ground.
  2. Inspect circuit 420 (PPL) for a short to ground.
  3. Repair the circuits if necessary.

Refer to General Electrical Diagnosis in Wiring Systems.

Did you find and correct a condition?

--

Go to Step 9

--

5

  1. Select Brake Switch on the Scan Tool .
  2. Disconnect the TCC brake switch.
  3. Connect a fused jumper wire from terminal A to terminal B of the TCC brake switch connector.

Does the TCC brake switch status change from Applied to Released?

--

Go to Step 6

Go to Step 7

6

Replace the TCC brake switch.

Refer to Stop Lamp Switch Replacement in Hydraulic Brakes.

Is the replacement complete?

--

Go to Step 9

--

7

  1. Inspect circuit 420 (PPL) for an open.
  2. Repair the circuit if necessary.

Refer to General Electrical Diagnosis in Wiring Systems.

Did you find and correct a condition?

--

Go to Step 9

Go to Step 8

8

Replace the PCM.

Refer to Powertrain Control Module Replacement/Programming in Engine Controls.

Is the replacement complete?

--

Go to Step 9

--

9

In order to verify your repair, using the Scan Tool , perform the following procedure:

  1. Select DTC.
  2. Select Clear Info, then clear the DTC(s).
  3. Operate the vehicle under the following conditions:
  4. • Turn the ignition switch to the RUN position.
    • The TCC brake switch must be OFF for more than 2 seconds.
  5. Select Specific DTC. Enter DTC P0719.

Has the test run and passed?

--

System OK

Go to Step 1