GM Service Manual Online
For 1990-2009 cars only
Makes
🢒
Chevrolet
🢒
1999
🢒
Monte Carlo
🢒
Body and Accessories
🢒
Lighting Systems
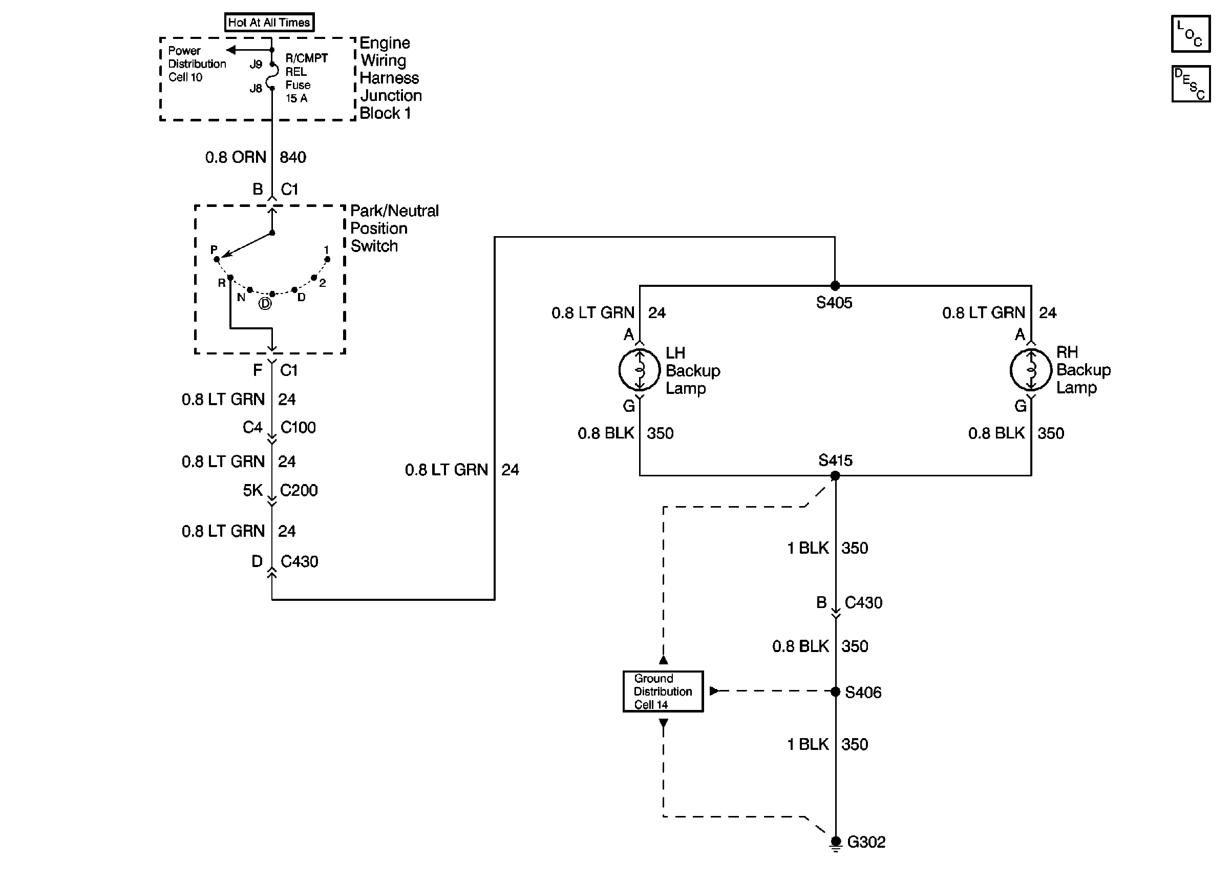
🢒 Backup Lamp Schematics
Cell 112: Power, Park/Neutral Position Switch, Backup Lamps, Ground
Cell 10: Generator, Starter, Fusible Links, MaxiFuse® 1, 2 and4
Cell 14: G302 (2 of 2)
Lighting Systems Components
Backup Lamp Circuit Description