GM Service Manual Online
For 1990-2009 cars only

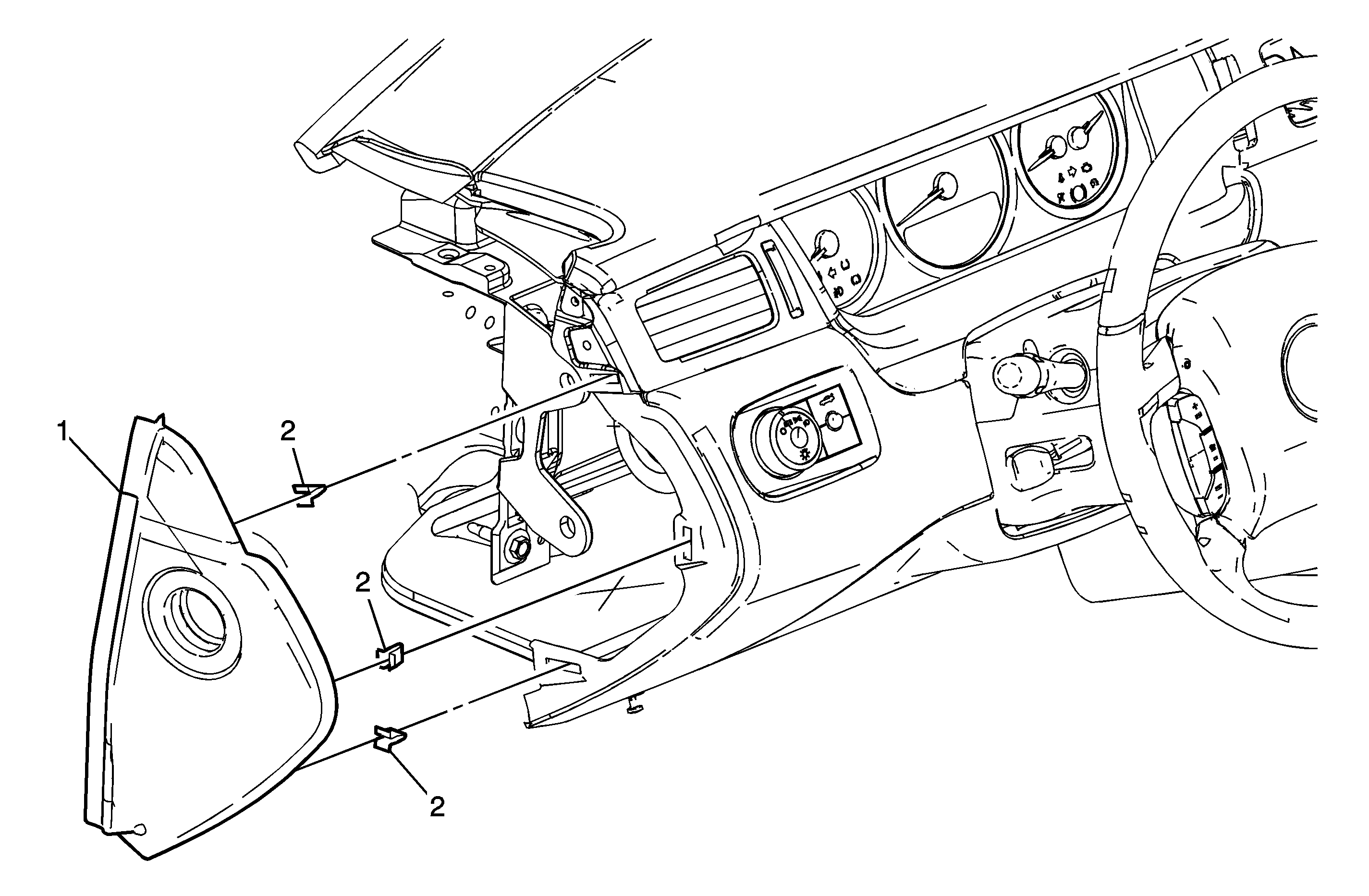
Object Number: 1594249  Size: MF

Callout

Component Name

1

Instrument Panel Outer Trim Cover

Tip
Impala shown Monte Carlo similar.

2

Retainer Clips (Qty 3)