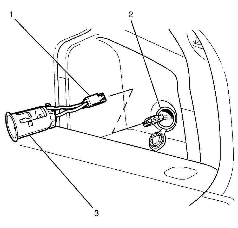
J 42059 Cigar Lighter Socket Remover
Caution: Refer to Battery Disconnect Caution in the Preface section.
J 42059 J 42059 Cigar Lighter Socket Remover
Caution: Refer to Battery Disconnect Caution in the Preface section.
J 42059 J 42059 Cigar Lighter Socket Remover
Caution: Refer to Battery Disconnect Caution in the Preface section.
J 42059 Cigar Lighter Socket Remover
Caution: Refer to Battery Disconnect Caution in the Preface section.
J 42059 J 42059 Cigar Lighter Socket Remover
Caution: Refer to Battery Disconnect Caution in the Preface section.
J 42059 Cigar Lighter Socket Remover
Caution: Refer to Battery Disconnect Caution in the Preface section.
J 42059 Cigar Lighter Socket Remover
Caution: Refer to Battery Disconnect Caution in the Preface section.
J 42059 Cigar Lighter Socket Remover
Caution: Refer to Battery Disconnect Caution in the Preface section.
J 42059 J 42059 Cigar Lighter Socket Remover
Caution: Refer to Battery Disconnect Caution in the Preface section.
J 42059 Cigar Lighter Socket Remover
Caution: Refer to Battery Disconnect Caution in the Preface section.
J 42059 Cigar Lighter Socket Remover
Caution: Refer to Battery Disconnect Caution in the Preface section.