GM Service Manual Online
For 1990-2009 cars only

Headlining Trim Panel Replacement Sportwagon

Removal Procedure

    Caution: Refer to Battery Disconnect Caution in the Preface section.

  1. Disconnect the battery ground cable. Refer to Battery Negative Cable Disconnection and Connection.
  2. Remove the dome lamp assembly. Refer to Dome Lamp Replacement.
  3. Remove the rear dome lamp assembly. Refer to Dome Lamp Replacement.
  4. Remove the sunshade assembly on both sides. Refer to Sunshade Replacement.
  5. Remove the video disc player display bezel - Display (where fitted). Refer to Video Disc Player Bezel Replacement.
  6. Remove the video disc player display bezel - Player (where fitted). Refer to Video Disc Player Display Bezel Replacement.
  7. Remove the assist handles on both sides. Refer to Assist Handle Replacement
  8. Remove the windshield garnish molding on both sides. Refer to Windshield Garnish Molding Replacement.
  9. Remove the center pillar lower trim panel on both sides. Refer to Center Pillar Lower Trim Panel Replacement.

  10. Object Number: 1939279  Size: SH
  11. Remove the center pillar upper trim panel retaining screws (1). Repeat on opposite side.

  12. Object Number: 2133659  Size: SH
  13. Tilt the base of the center pillar upper trim panel (2) away from the center pillar (1) until the center pillar upper trim panel locating dowel (5) has disengaged from the center pillar datum hole (6). Repeat on opposite side.
  14. Lower the center pillar upper trim panel (2) down and away from the roof panel trim (3) until the center pillar upper trim panel locating pins (4) have disengaged from the roof panel datum holes (7). Repeat on opposite side.
  15. Remove the body lock pillar upper trim panel on both sides. Refer to Body Lock Pillar Upper Trim Panel Replacement.
  16. Remove the headlining rear trim panel retainer. Refer to Headlining Rear Trim Panel Retainer Replacement.
  17. Remove the body side window rear garnish moulding on both sides. Refer to Body Side Window Rear Garnish Molding Replacement.

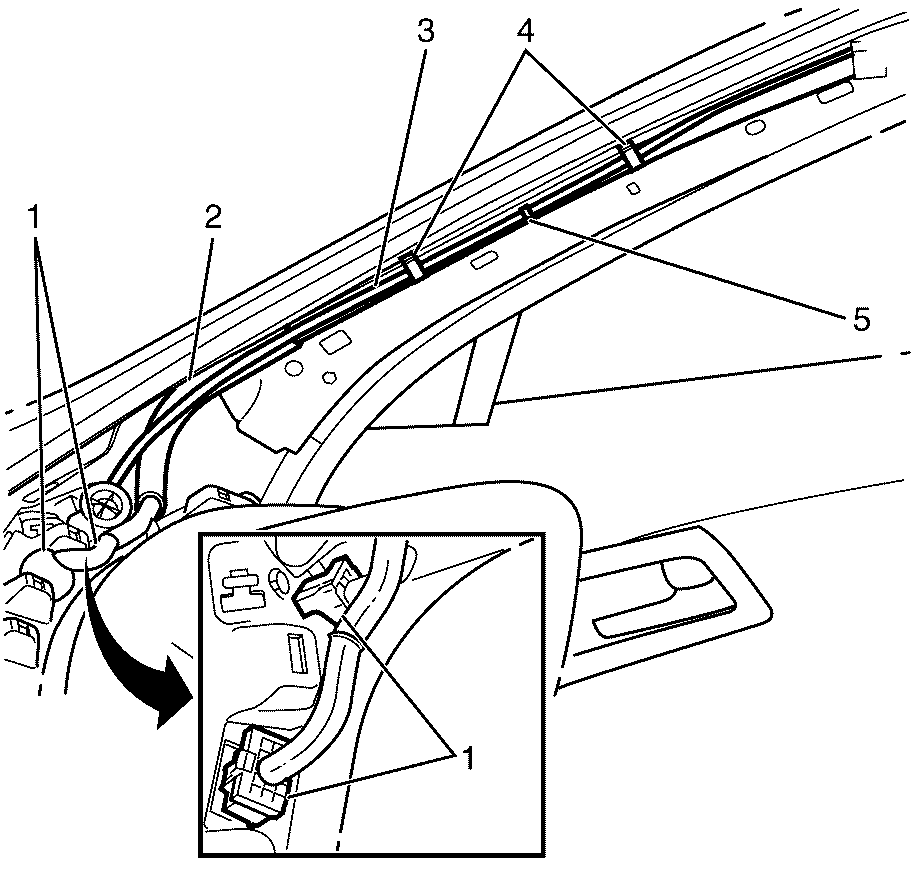
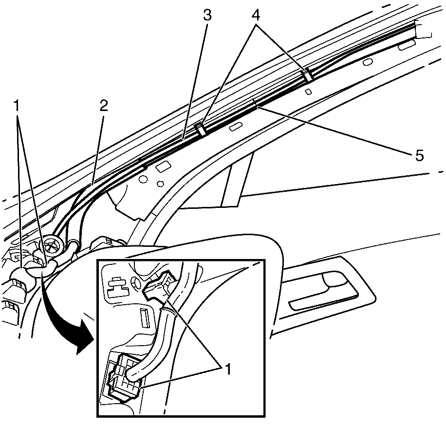
  18. Object Number: 2133656  Size: SH
  19. Detach the headlining wiring harness (2) from the headlining wiring harness/washer hose retaining clips (4).
  20. Disconnect the headlining wiring harness to instrument panel wiring harness electrical connectors (1).
  21. Detach the headlining washer hose (3) from the headlining wiring harness/washer hose retaining clips (4).
  22. Cut the headlining washer hose (3) between the headlining wiring harness/washer hose retaining clips (5).

  23. Object Number: 2133655  Size: SH
  24. Detach the windshield outside moisture sensor cover (2) from the windshield outside moisture sensor (3).
  25. Disconnect the windshield outside moisture sensor electrical connector (1) from the windshield outside moisture sensor (3).

  26. Object Number: 2133660  Size: SH
  27. Disconnect the headlining wiring harness to rear seat entertainment assembly wiring harness connector (1) (where fitted).
  28. Recline both the rear split fold seat backs to their forward position.
  29. Recline both the front seat backs to their lowest position.

  30. Object Number: 2090812  Size: SH

    Important: To avoid damage to the headlining carefully pull down on the headlining rear clip assembly (6) to detach the headlining (5) from the roof panel (4).

  31. Detach and lower the headlining (5).
  32. Remove the rear window washer hose (3) from the headlining clip assembly washer hose guide (1).
  33. Disconnect the rear window washer hose (3) from rear window washer connector (2).

  34. Object Number: 2069412  Size: SH

    Important: Remove the headlining (1) from the vehicle (3) with the aid or an assistant to avoid marking or damaging it.

  35. Tilt the headlining (1) to one side to achieve maximum clearance between the headlining (1) and the liftgate opening (2).
  36. Important: Care must be taken not to crease the headlining (1) when removing it through the liftgate opening (2).

  37. Remove the headlining (1) from the vehicle (3) through the liftgate opening (2).

Installation Procedure


    Object Number: 2069412  Size: SH

    Important: Install the headlining (1) to the vehicle (3) with the aid or an assistant to avoid marking or damaging it.

  1. Tilt the headlining (1) to one side to achieve maximum clearance between the headlining (1) and the liftgate opening (2).
  2. Important: Care must be taken not to crease the headlining (1) when installing it through the liftgate opening (2).

  3. Install the headlining (1) to the vehicle (3) through the liftgate opening (2).

  4. Object Number: 2090812  Size: SH
  5. Connect the rear window washer hose (3) to the rear window washer connector (2).
  6. Important: To avoid crimping or puncturing the rear window washer hose (3) make sure it locates correctly into the headlining clip assembly washer hose guide (1).

  7. Install the headlining clip assembly (6) into the roof panel (4).

  8. Object Number: 2133660  Size: SH
  9. Connect the headlining wiring harness to rear seat entertainment assembly wiring harness connector (1) (where fitted).
  10. Recline both the rear split fold seat backs to their upright position.
  11. Recline both the front seat backs to their upright position.

  12. Object Number: 2133655  Size: SH
  13. Connect the windshield outside moisture sensor electrical connector (1) to the windshield outside moisture sensor (3).
  14. Attach the windshield outside moisture sensor cover (2) to the windshield outside moisture sensor (3).

  15. Object Number: 2133658  Size: SH

    Important: Make sure the headlining washer hose in line joiner (5) is securely installed into both ends of the headlining washer hose (3).

  16. Cut the NEW headlining washer hose to the correct length, so it meets up with the old headlining washer hose which was cut.
  17. Join the headlining washer hose ends with an in line hose joiner, GMH part number 92213809.
  18. Attach the headlining washer hose (2) to the headlining wiring harness/washer hose retaining clips (4).
  19. Connect the headlining wiring harness to instrument panel wiring harness electrical connectors (1).
  20. Attach the headlining wiring harness (2) to the headlining wiring harness/washer hose retaining clips (4).
  21. Install the body side window rear garnish moulding on both sides. Refer to Body Side Window Rear Garnish Molding Replacement.
  22. Install the headlining rear trim panel retainer on both sides. Refer to Headlining Rear Trim Panel Retainer Replacement.
  23. Install the body lock pillar upper trim panel on both sides. Refer to Body Lock Pillar Upper Trim Panel Replacement.

  24. Object Number: 2133657  Size: SH
  25. Raise the center pillar upper trim panel (2) up towards the roof panel trim (3) until the center pillar upper trim panel locating pins (4) have engaged into the roof panel datum holes (7). Repeat on opposite side.
  26. Important: Make sure the center pillar upper trim height adjuster lever (9) locates into the seat belt height adjuster release lever (10) and the center pillar upper trim height adjuster dowel (8) locates into the seat belt height adjuster datum hole (11). Incorrect fitment may damage the center pillar upper trim height adjuster and/or restrict the front seat belt movement (where fitted).

  27. Tilt the base of the center pillar upper trim panel (2) towards the center pillar (1) until the center pillar upper trim panel locating dowel (5) has engaged into the center pillar datum hole (6). Repeat on opposite side.
  28. Notice: Refer to Fastener Notice in the Preface section.


    Object Number: 1939279  Size: SH
  29. Install the center pillar upper trim panel retaining screws (1). Repeat on opposite side.
  30. Tighten
    Tighten the screws  to 2  N·m (18 lb in).

  31. Check the seat belt operation on both sides.
  32. Install the center pillar lower trim panel on both sides. Refer to Center Pillar Lower Trim Panel Replacement.
  33. Install the windshield garnish molding on both sides. Refer to Windshield Garnish Molding Replacement.
  34. Install the assist handles on both sides. Refer to Assist Handle Replacement
  35. Install the video disc player display bezel - Player (where fitted). Refer to Video Disc Player Display Bezel Replacement.
  36. Install the video disc player display bezel - Display (where fitted). Refer to Video Disc Player Bezel Replacement.
  37. Install the sunshade assembly on both sides. Refer to Sunshade Replacement.
  38. Install the rear dome lamp assembly. Refer to Dome Lamp Replacement.
  39. Install the dome lamp assembly. Refer to Dome Lamp Replacement.
  40. Caution: Refer to Battery Disconnect Caution in the Preface section.

  41. Connect the battery ground cable. Refer to Battery Negative Cable Disconnection and Connection.
  42. Check the operation of the rear window washer and make sure there are no water leaks.

Headlining Trim Panel Replacement RHD Sedan

Removal Procedure

    Notice: Refer to General Repair Instructions in the Preface section.

  1. Remove the fuse from the passenger compartment fuse and relay panel assembly.
  2. Remove the following components as required:
  3. •  Front seats. Refer to Front Seat Replacement - Bucket.
    • Seat head restraints, if fitted. Refer to Rear Seat Head Restraint Replacement.
    • Windshield side garnish, on both sides. Refer to Windshield Garnish Molding Replacement.
    • Trim Panel - Upper Centre Pillar, on both sides. Refer to Center Pillar Upper Trim Panel Replacement.
    • Assist handles (if fitted). Refer to Assist Handle Replacement.
    • Sunshade assembly, on both sides. Refer to Sunshade Replacement.
    • Trim panel rear quarter on both sides. Refer to Quarter Upper Trim Panel Replacement.
    • Dome lamp assembly. Refer to Dome Lamp Replacement.
    • Windshield defroster grille. Refer to Defroster Grille Replacement.

    Notice: Refer to General Repair Instructions in the Preface section.

    • DVD player surround. Refer to Video Disc Player Display Bezel Replacement in Entertainment.
    • DVD screen surround. Refer to Video Disc Player Display Bezel Replacement in Entertainment.

    Object Number: 1939457  Size: SH
  4. Disconnect the rain sensor electrical connector (1).

  5. Object Number: 1939554  Size: SH
  6. Detach the headlining wiring harness retaining clips (1) located on the A-pillar inner panel (2).

  7. Object Number: 1939573  Size: SH
  8. Disconnect the headliner electrical connector (1), which is located under the defroster grille.

  9. Object Number: 1939497  Size: SH

    Important: Removal and installation of the headliner requires the aid of an assistant, under no circumstances should it be removed or installed by one person.

  10. Once all the components have been removed, disengage the rear retaining clips (1).
  11. Remove the headliner assembly.

  12. Object Number: 1939600  Size: SH

    Important: The headliner must be removed as shown above.

  13. With the aid of an assistant, remove the headlining (1) via the right hand passenger rear door.

Installation Procedure


    Object Number: 1939600  Size: SH

    Important: Take care not to fold the headliner. Folding the headliner will result in visible creases in the headliner fabric.

  1. With the aid of an assistant, carefully place headlining (1) into vehicle via right hand rear door, as per removal.

  2. Object Number: 1939497  Size: SH
  3. Locate the datum pin (2) to the rear of the roof assembly.
  4. Important: Make sure that the headliner datum pin is located in the rear of the roof assembly.

  5. Carefully engage the headliner retaining clips (1).

  6. Object Number: 1939573  Size: SH
  7. Connect the headliner electrical connector (1).

  8. Object Number: 1939554  Size: SH
  9. Attach the headlining wiring harness retaining clips (1) to the A-pillar inner panel (2).

  10. Object Number: 1939457  Size: SH
  11. Connect the rain sensor electrical connector (1).
  12. Install the following components as per removal:
  13. • DVD player surround. Refer to Video Disc Player Display Bezel Replacement.
    • DVD screen surround. Refer to Video Disc Player Display Bezel Replacement.
    • Windshield defrost grille. Refer to Defroster Grille Replacement.
    •  Dome lamp assembly. Refer to Dome Lamp Replacement.
    • Trim panel rear quarter on both sides. Refer to Quarter Upper Trim Panel Replacement.
    • Sunshade assembly, on both sides. Refer to Sunshade Replacement.
    • Assist handles (if fitted). Refer to Assist Handle Replacement.
    • Trim Panel - Upper Centre Pillar, on both sides. Refer to Center Pillar Upper Trim Panel Replacement.
    • Windshield side garnish, on both sides. Refer to Windshield Garnish Molding Replacement.
    • Seat head restraints, if fitted. Refer to Rear Seat Head Restraint Replacement.
    •  Front seats. Refer to Front Seat Replacement - Bucket.
  14. Test all components removed for correct operation.

Headlining Trim Panel Replacement LHD Sedan

Removal Procedure

    Notice: Refer to General Repair Instructions in the Preface section.

  1. Remove the fuse from the passenger compartment fuse and relay panel assembly.
  2. Remove the following components as required:
  3. •  Front seats. Refer to Front Seat Replacement - Bucket.
    • Seat head restraints, if fitted. Refer to Rear Seat Head Restraint Replacement.
    • Windshield side garnish, on both sides. Refer to Windshield Garnish Molding Replacement.
    • Trim Panel - Upper Centre Pillar, on both sides. Refer to Center Pillar Upper Trim Panel Replacement.
    • Sunshade assembly, on both sides. Refer to Sunshade Replacement.
    • Trim panel rear quarter on both sides. Refer to Quarter Upper Trim Panel Replacement.
    • Dome lamp assembly. Refer to Dome Lamp Replacement.
    • Windshield defroster grill. Refer to Defroster Grille Replacement.

    Notice: Refer to General Repair Instructions in the Preface section.

    • DVD player surround. Refer to Video Disc Player Display Bezel Replacement.
    • DVD screen surround. Refer to Video Display Replacement.

    Object Number: 1939457  Size: SH
  4. Disconnect the rain sensor electrical connector (1).
  5. Notice: Refer to General Repair Instructions in the Preface section.


    Object Number: 1939455  Size: SH
  6. Prise open the assist handle (3) screw covers (1).
  7. Remove the two retaining screws (2) and leave the assist handles attach the headliner.

  8. Object Number: 1939458  Size: SH
  9. Detach the headlining wiring harness retaining clips (1) located on the A-pillar inner panel (2).

  10. Object Number: 1939473  Size: SH
  11. Disconnect the headliner electrical connector (1), which is located under the defroster grill.

  12. Object Number: 1939460  Size: SH

    Important: Removal and installation of the headliner requires the aid of an assistant, under no circumstances should it be removed or installed by one person.

  13. Once all the components have been removed, disengage the rear retaining clips (1).
  14. Remove the headliner assembly.

  15. Object Number: 1939475  Size: SH

    Important: The headliner must be removed as shown above.

  16. Remove the headlining (1) via the left hand passenger rear door.

Installation Procedure


    Object Number: 1939475  Size: SH
  1. Carefully place headlining (1) into vehicle via right hand rear door, as per removal.

  2. Object Number: 1939460  Size: SH
  3. Carefully engage the headliner retaining clips (1).

  4. Object Number: 1939473  Size: SH
  5. Connect the headliner electrical connector (1).

  6. Object Number: 1939458  Size: SH
  7. Attach the headlining wiring harness retaining clips (1) to the A-pillar inner panel (2).
  8. Notice: Refer to General Repair Instructions in the Preface section.


    Object Number: 1939455  Size: SH
  9. Install the assist handles (3) retaining torx screws (2).
  10. Tighten
    Tighten the assist handle retaining screws to 2.0  N·m (18 lb in).

  11. Close the retaining torx screw covers (1).

  12. Object Number: 1939457  Size: SH
  13. Connect the rain sensor electrical connector (1).
  14. Install the following components as per removal:
  15. • DVD player surround. Refer to Video Disc Player Display Bezel Replacement.
    • DVD screen surround. Refer to Video Display Replacement.
    • Windshield defrost grill. Refer to Defroster Grille Replacement.
    •  Dome lamp assembly. Refer to Dome Lamp Replacement.
    • Trim panel rear quarter on both sides. Refer to Quarter Upper Trim Panel Replacement.
    • Sunshade assembly, on both sides. Refer to Sunshade Replacement.
    • Trim Panel - Upper Centre Pillar, on both sides. Refer to Center Pillar Upper Trim Panel Replacement.
    • Windshield side garnish, on both sides. Refer to Windshield Garnish Molding Replacement.
    • Seat head restraints, if fitted. Refer to Rear Seat Head Restraint Replacement.
    •  Front seats. Refer to Front Seat Replacement - Bucket.
  16. Test all components removed for correct operation.