Important: When a suitable hold open device is being removed or installed, provide alternate support to avoid the possibility of damage to the vehicle or personal injury.
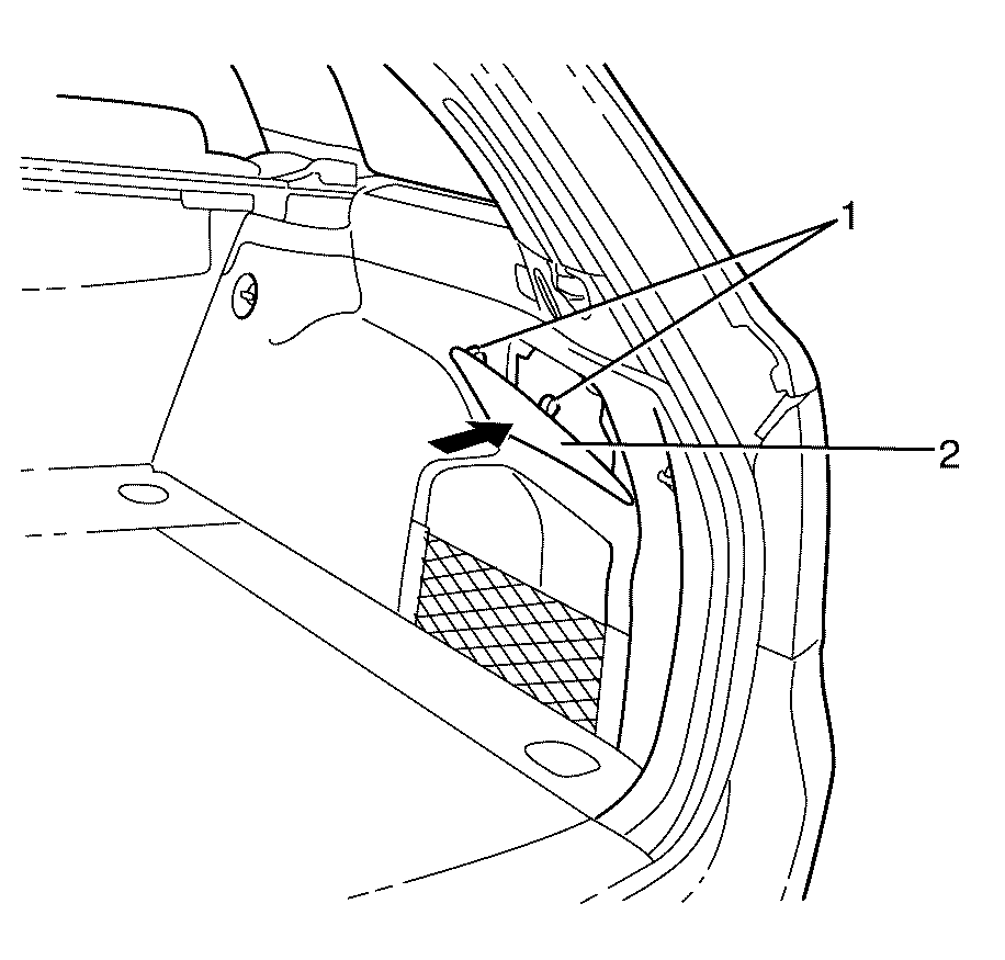
Important: Push down on the centre of the rear compartment side trim panel access hole cover and pull on the top of the cover to release the upper retaining tangs.
Important: When a suitable hold open device is being removed or installed, provide alternate support to avoid the possibility of damage to the vehicle or personal injury.
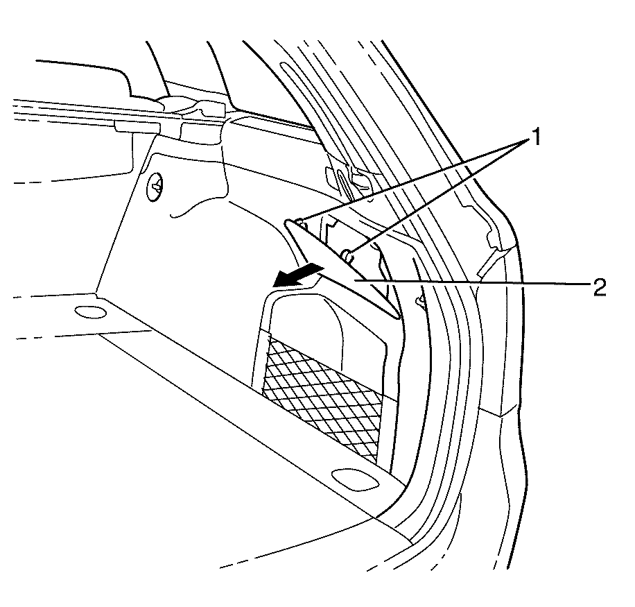
Important: Insert the locating tabs on the bottom of the rear compartment side trim panel access hole cover then push the top of the rear compartment side trim panel access hole cover to engage the retaining tangs.
Important: When a suitable hold open device is being removed or installed, provide alternate support to avoid the possibility of damage to the vehicle or personal injury.
Important: Push down on the centre of the tail lamp access cover trim panel and pull on the top of the tail lamp access cover trim panel to release the retaining tangs.
Important: When a suitable hold open device is being removed or installed, provide alternate support to avoid the possibility of damage to the vehicle or personal injury.
Important: Insert the locating tabs on the bottom of the tail lamp access cover trim panel then push the top of the tail lamp access cover trim panel to engage the retaining tangs.