GM Service Manual Online
For 1990-2009 cars only
Makes
🢒
Chevrolet
🢒
2004
🢒
Optra
🢒
Engine
🢒
Engine Cooling
🢒 Cooling System Component Views
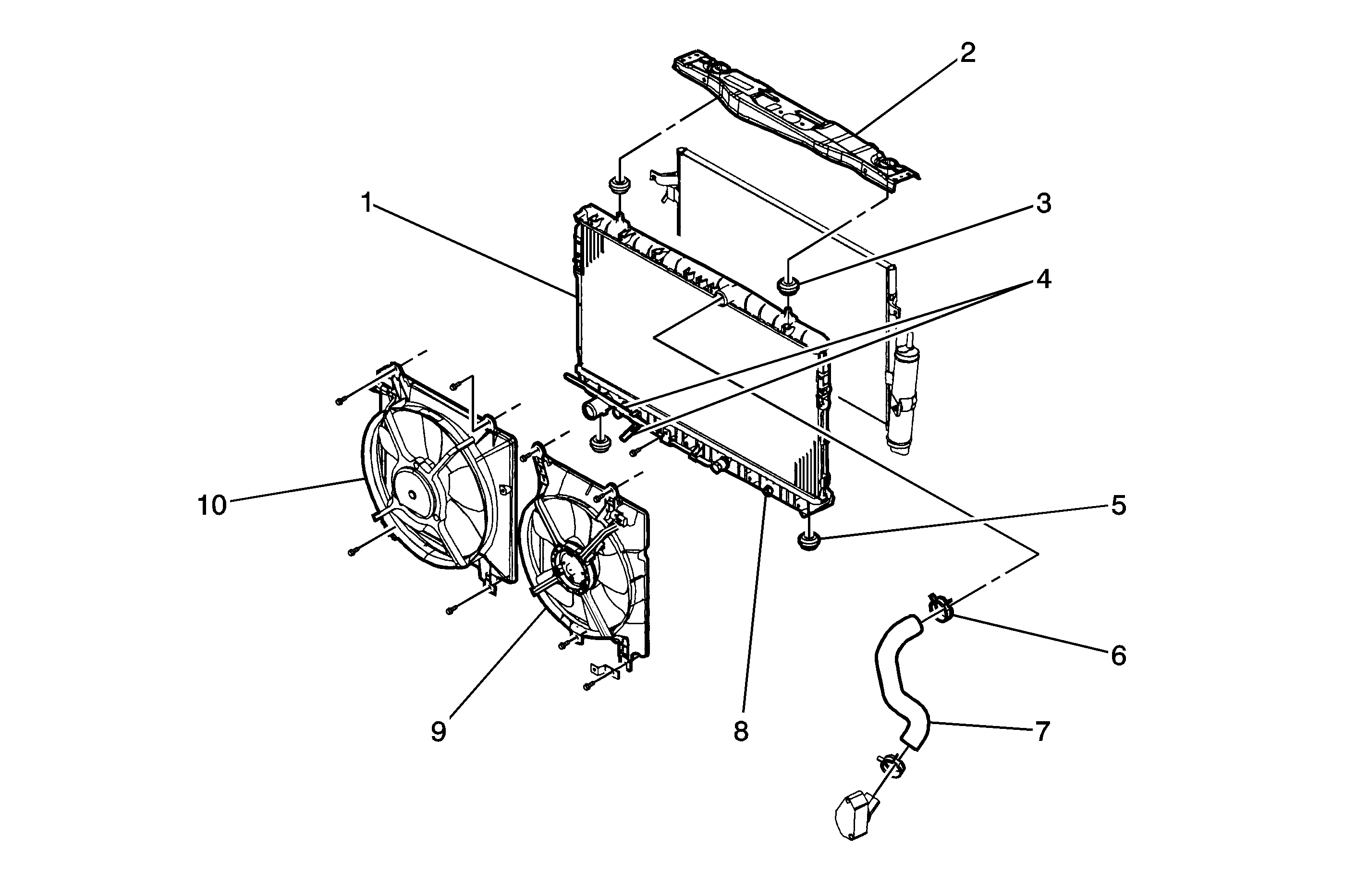
Figure
1:
Radiator and Cooling Fan
(1)
Radiator
(2)
Front Upper Center Panel
(3)
Upper Radiator Bumper
(4)
Holder Transmission Fluid Pipe - Automatic Transmission Only
(5)
Lower Radiator Bumper
(6)
Spring Clamp
(7)
Upper Radiator Hose
(8)
Drain Cock
(9)
Auxiliary Cooling Fan
(10)
Main Cooling Fan
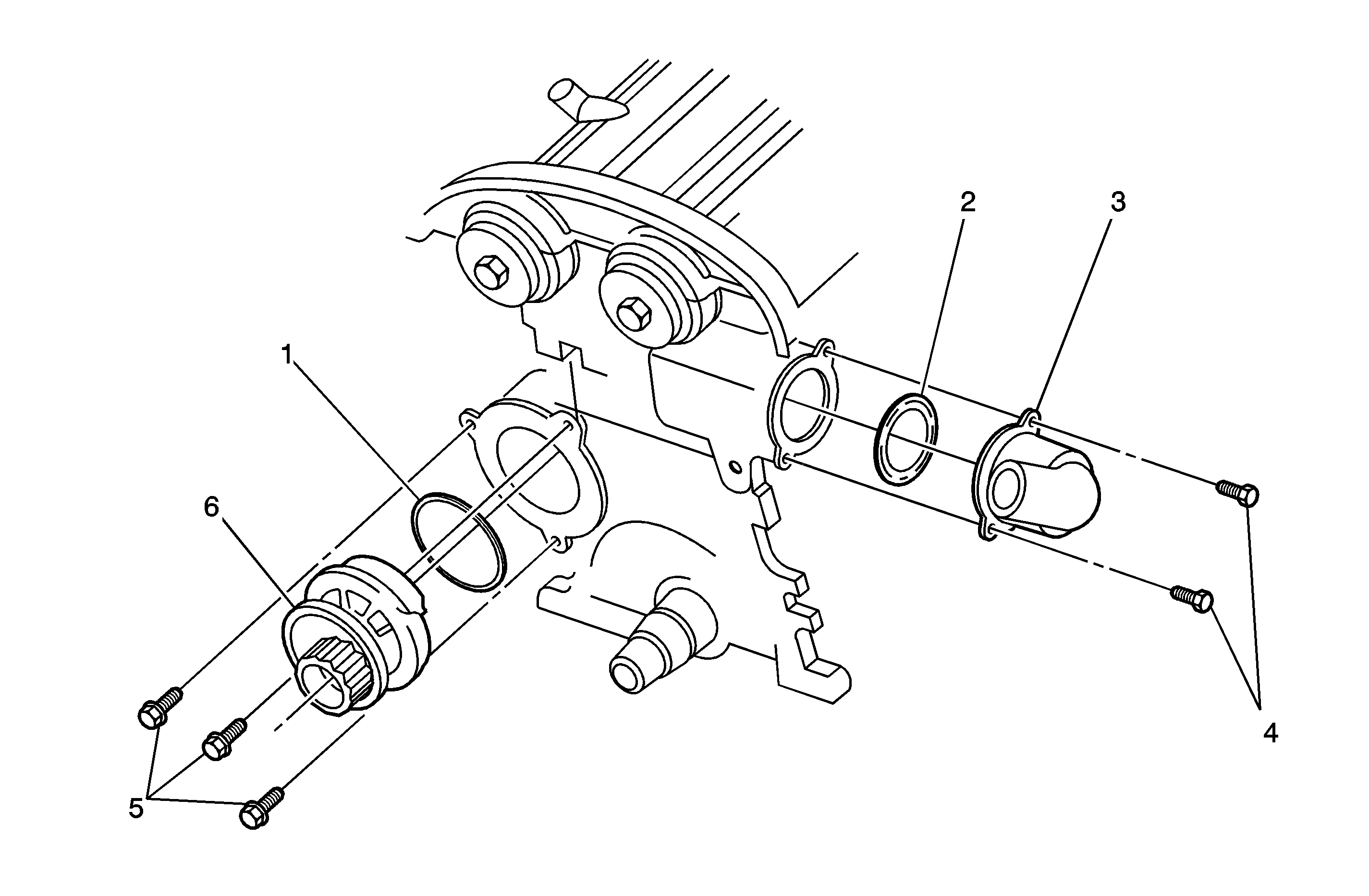
Figure
2:
Water Pump/Thermostat (1.4L/1.6L)
(1)
Cylinder Block Seal Ring
(2)
Seal Ring
(3)
Thermostat Housing
(4)
Bolt
(5)
Bolt
(6)
Water Pump
Figure
3:
Water Pump/Thermostat (1.8L/2.0L)
(1)
Seal Ring
(2)
Thermostat
(3)
Thermostat Housing
(4)
Thermostat Housing Mounting Bolt
(5)
Coolant Pump Mounting Bolt
(6)
Coolant Pump
(7)
Seal Ring