GM Service Manual Online
For 1990-2009 cars only
Makes
🢒
Chevrolet
🢒
2004
🢒
Optra
🢒
Engine
🢒
Engine Controls - 1.6L (L91)
🢒 Disassembled Views
Figure
1:
Cylinder Head
(1)
Oil Filler Cap
(2)
Engine Cover
(3)
Camshaft Cover
(4)
Camshaft Cover Gasket
(5)
Camshaft Cover Bolt
(6)
Hydraulic Tappet Adjuster
(7)
Valve Key
(8)
Valve Spring Cap
(9)
Valve Spring
(10)
Valve Stem Seal
(11)
EGR Vacuum Hose
(12)
EGR Valve
(13)
EGR Valve Gasket
(14)
EGR Valve Adaptor
(15)
EGR Valve Adaptor Gasket
(16)
Cylinder Head
(17)
Freeze Plug
(18)
Valve Guide
(19)
Plug
(20)
Front Camshaft Cap
(21)
Oil Duct Cap
(22)
Thermostat
(23)
Intake Valve
(24)
Cylinder Head Gasket
(25)
Exhaust Valve
(26)
Camshaft
(27)
Camshaft Seal
(28)
Engine Coolant Temperature Sensor
(29)
Coolant Temperature Sensor
(30)
Heat Take Off Pipe
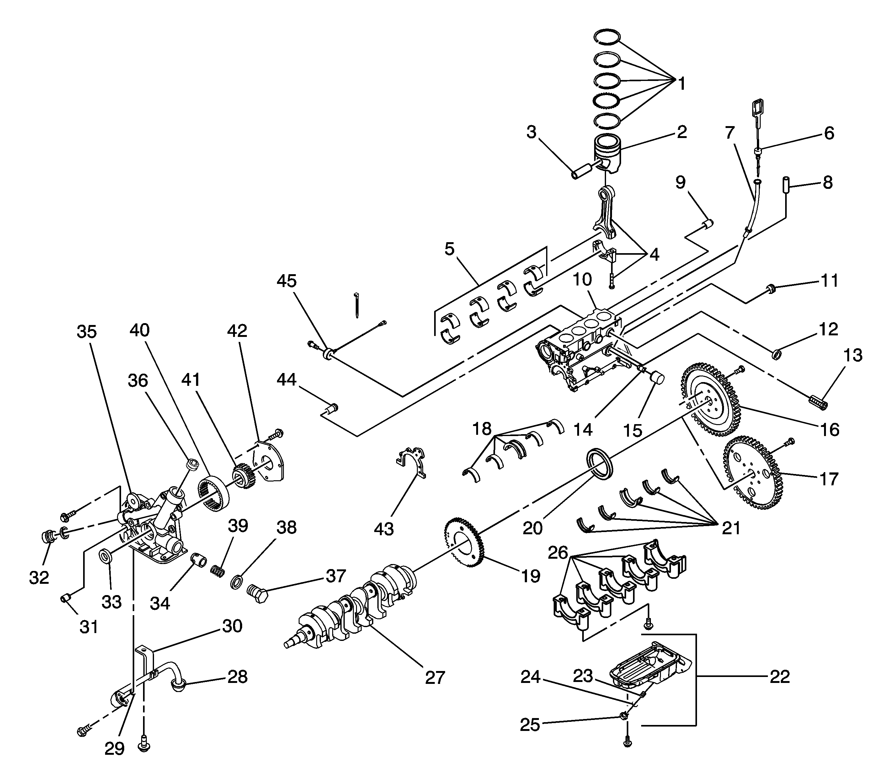
Figure
2:
Cylinder Block
(1)
Piston Ring Set
(2)
Piston
(3)
Piston Pin
(4)
Connecting Rod
(5)
Connecting Rod Bearing Set
(6)
Oil Level Gage Stick
(7)
Gage Stick Tube
(8)
Sleeve
(9)
Clutch Housing Sleeve
(10)
Cylinder Block
(11)
Plug
(12)
Gap
(13)
Bypass Valve
(14)
Connecting Piece
(15)
Oil Filter
(16)
Fly Wheel (M/T)
(17)
Flexible Plate (A/T)
(18)
Crankshaft Upper Bearing Set
(19)
Transmitter Disc
(20)
Shaft Seal Ring
(21)
Crankshaft Lower Bearing Set
(22)
Oil Pan
(23)
Threaded Ring
(24)
Washer
(25)
Oil Pan Drain Plug
(26)
Crankshaft Bearing Cap
(27)
Crankshaft
(28)
Oil Suction Pipe
(29)
Sealing
(30)
Oil Suction Pipe Bracket
(31)
Sleeve
(32)
Oil Pressure Switch
(33)
Shaft Sealing
(34)
Pressure Relief Valve Plunger
(35)
Oil Pump
(36)
Oil Pump Plug
(37)
Relief Valve
(38)
Sealing
(39)
Relief Valve Spring
(40)
Oil Pump Outer Rotor
(41)
Oil Pump Inner Rotor
(42)
Oil Pump Cover
(43)
Oil Pump Body Gasket
(44)
Water Inlet Neck
(45)
Knock Sensor
Figure
3:
Intake and Exhaust Manifold
(1)
Main Throttle Idle Actuator (MTIA)/Throttle Body
(2)
Main Throttle Idle Actuator (MTIA) Gasket
(3)
Intake Manifold
(4)
Exhaust Manifold Gasket
(5)
Exhaust Manifold
(6)
Heat Shield
(7)
Oxygen Sensor
(8)
Air Cleaner Upper Housing
(9)
Air Cleaner Element
(10)
Air Cleaner Lower Housing
(11)
Clamp
(12)
Intake Air Tube
(13)
Breathe Hose
(14)
Resonator
(15)
Air Inlet Hose
Figure
4:
Timing Belt
(1)
Auto Tensioner
(2)
Camshaft Position Sensor
(3)
Water Pump Sealing
(4)
Water Pump
(5)
Timing Belt Rear Cover
(6)
Crankshaft Gear
(7)
Timing Belt
(8)
Timing Belt Front Upper Cover
(9)
Crankshaft Position Sensor
(10)
Crankshaft Pulley
(11)
Timing Belt Front Lower Cover
(12)
Torque Roll Axis Support
(13)
Idler Pulley
(14)
Camshaft Gear
Figure
5:
Engine Mounting
(1)
Hydro Mounting
(2)
Engine Mounting Bracket
(3)
Rear Transaxle Mounting Bracket (M/T)
(4)
Rear Power Unit Damping Block
(5)
Rear Transaxle Mounting Bracket (A/T)
(6)
Transaxle Mounting Bracket (A/T)
(7)
Transaxle Mounting Bracket (M/T)
(8)
Transaxle Mounting Cage
(9)
Engine Lower Cover