GM Service Manual Online
For 1990-2009 cars only
Figure 1:

Manifold Absoulte Pressure (MAP), Oil Pressure, Throttle Position (TP) Sensors


Object Number: 1480966  Size: LF
(1)Manifold Absoulte Pressure (MAP) Sensor
(2)Engine Oil Pressure Switch
(3)Throttle Position (TP) Sensor
(4)Idle Air Control (IAC)
Figure 2:

Fuel Injectors, Heated Oxygen Sensor (HO2S) 1, Heated Oxygen Sensor (HO2S) 2, Idle Air Control (IAC) Valve, Intake Air Temperature (IAT) Sensor


Object Number: 1480968  Size: LF
(1)Fuel Injector 1
(2)Fuel Injector 2
(3)Fuel Injector 3
(4)Fuel Injector 4
(5)Heated Oxygen Sensor (HO2S) 1
(6)Heated Oxygen Sensor (HO2S) 2
(7)Idle Air Control (IAC) Valve
(8)Intake Air Temperature (IAT) Sensor
Figure 3:

Crankshaft Position (CKP) Sensors, EVAP, Ignition Coils


Object Number: 1480971  Size: LF
(1)Evporative Emissions (EVAP) Canister Purge Solenoid Valve
(2)Crankshaft Position (CKP) Sensor
(3)Ignition Coil Modules
Figure 4:

Engine Control Module (ECM), Engine Coolant Temperature (ECT), Camshaft Position (CMP) and Rough Road Sensors


Object Number: 1480975  Size: LF
(1)Engine Control Module (ECM)
(2)Engine Coolant Temperature (ECT) Sensor
(3)Camshaft Position (CMP) Sensor
(4)Rough Road Sensor
Figure 5:

Exhaust Gas Recirculation (EGR) Valve, Knock Sensor (KS)


Object Number: 1480964  Size: MF
(1)Exhaust Gas Recirculation (EGR) Valve
(2) Knock Sensor (KS)
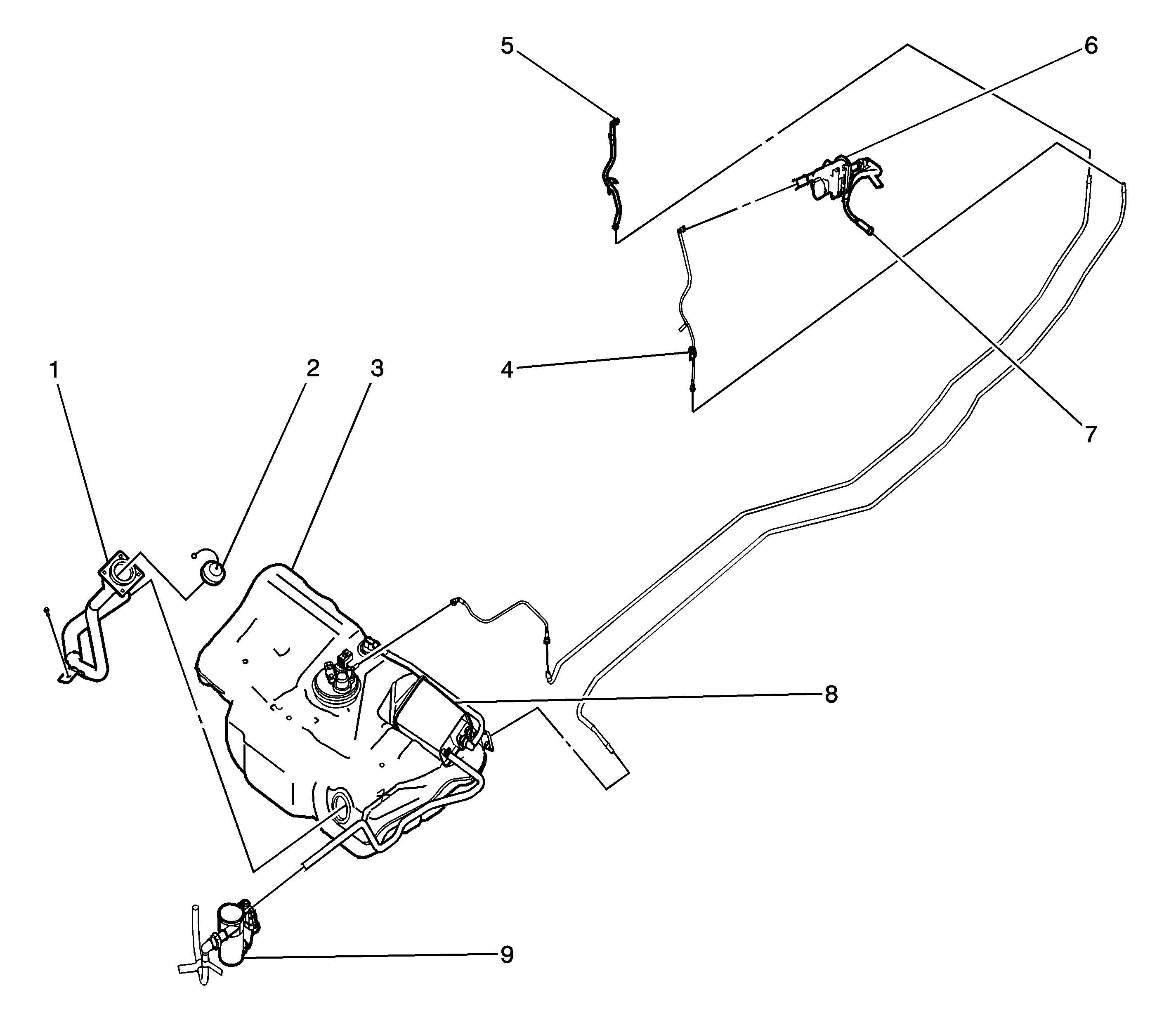
Figure 6:

Fuel Vapor Recovery System


Object Number: 1376570  Size: LF
(1)Fuel Tube
(2)Fuel Filler Cap
(3)Fuel Tank
(4)Service Port
(5)Fuel Pipe to Fuel Rail
(6)Evaporative Emissions (EVAP) Canister Purge Solenoid Valve
(7)Vacuum hose to Intake Manifold
(8)Evaporative Emissions (EVAP) Canister
(9)Evaporative Emissions Canister Vent Solenoid Valve