GM Service Manual Online
For 1990-2009 cars only
Makes
🢒
Chevrolet
🢒
2004
🢒
Optra
🢒
Transmission/Transaxle
🢒
Manual Transmission - D20
🢒 Manual Transmission Component Views
Figure
1:
Gears and Case
(1)
Case
(2)
Mainshaft Bearing Outer Race
(3)
4th Gear
(4)
Synchronizer Ring
(5)
Synchronizer Sleeve
(6)
Pin
(7)
3rd-4th Gearshift Fork
(8)
3rd-4th Gearshift Shaft
(9)
Spring
(10)
Key
(11)
3rd-4th Synchronizer Gear
(12)
Synchronizer Ring
(13)
3rd Gear
(14)
2nd Gear
(15)
Synchronizer Ring
(16)
1st-2nd Gearshift Fork
(17)
1st-2nd Gearshift Rod
(18)
Synchronizer Sleeve
(19)
Synchronizer Spring
(20)
Key
(21)
Synchronizer Gear
(22)
Snap Ring
(23)
Synchronizer
(24)
1st Gear
(25)
Thrust Needle Bearing
(26)
Mainshaft Disk
(27)
Snap Ring
(28)
Mainshaft Bearing
(29)
Shift Rod Plug (21.5 mm)
(30)
Spring
(31)
Shift Rod Lock Pin
(32)
Bearing Plate
(33)
Shift Rod Plug (50.4 mm)
(34)
Detent Rod Bolt
(35)
Bolt
(36)
Bolt
(37)
Support
(38)
5th Gearshift Fork
(39)
Pin
(40)
Bridge-Strain Bolt
(41)
Shoe
(42)
Key
(43)
Snap Ring
(44)
Gasket
(45)
Cover
(46)
Bolt
(47)
Plug
(48)
Bolt
(49)
Screw
(50)
Synchronizer Gear
(51)
Spring
(52)
Synchronizer Sleeve
(53)
Synchronizer Blocking Ring
(54)
Mainshaft Driven 5th Gear
(55)
Retaining Ring
(56)
Thrust Washer
(57)
Circlip
(58)
Input Drive 5th Gear
(59)
Bolt
(60)
Cluster Gear Snap Ring
(61)
Screw
(62)
Input Shaft Bearing
(63)
Ring
(64)
Input Shaft Cluster Gear
(65)
Ball
(66)
Reverse Idler Gear Shaft
(67)
Reverse Idler Gear
(68)
Washer
(69)
Reverse Gear Rod
(70)
Reverse Gearshift Fork
(71)
Input Shaft
(72)
Bolt
(73)
5th Gear Pawl
(74)
5th Gear Needle Bearing
(75)
1st Gear Needle Bearing
(76)
Main Shaft
(77)
5th Gearshift Lever
(78)
Hex Plug
(79)
Bearing Plate Gasket
(80)
Backup Lamp Switch
(81)
Input Shaft Bearing
(82)
2nd Gear Needle Bearing
(83)
3rd Gear Needle Bearing
(84)
4th Gear Needle Bearing
(85)
Retaining Ring
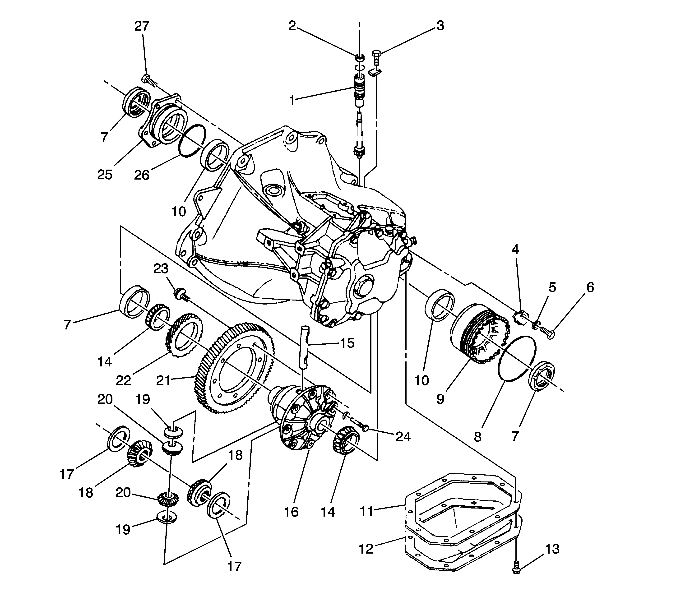
Figure
2:
Differential and Case
(1)
Speedometer-Driven Gear (Vehicle Speed Sensor (VSS))
(2)
Seal
(3)
Hex Bolt
(4)
Plate-Lock
(5)
Washer
(6)
Bolt
(7)
Seal
(8)
O-Ring
(9)
Bearing Adjusting Ring
(10)
Side Bearing Race
(11)
Differential Cover Gasket
(12)
Differential Cover
(13)
Bolt
(14)
Differential Bearing
(15)
Differential Gear Shaft
(16)
Differential Housing
(17)
Thrust Washer
(18)
Side Bevel Gear
(19)
Washer
(20)
Pinion Bevel Gear
(21)
Ring Gear
(22)
Speedometer Drive Gear
(23)
Bolt
(24)
Differential Gear Shaft Lock Pin
(25)
Flange Bearing
(26)
O-Ring
(27)
Retainer Bolt
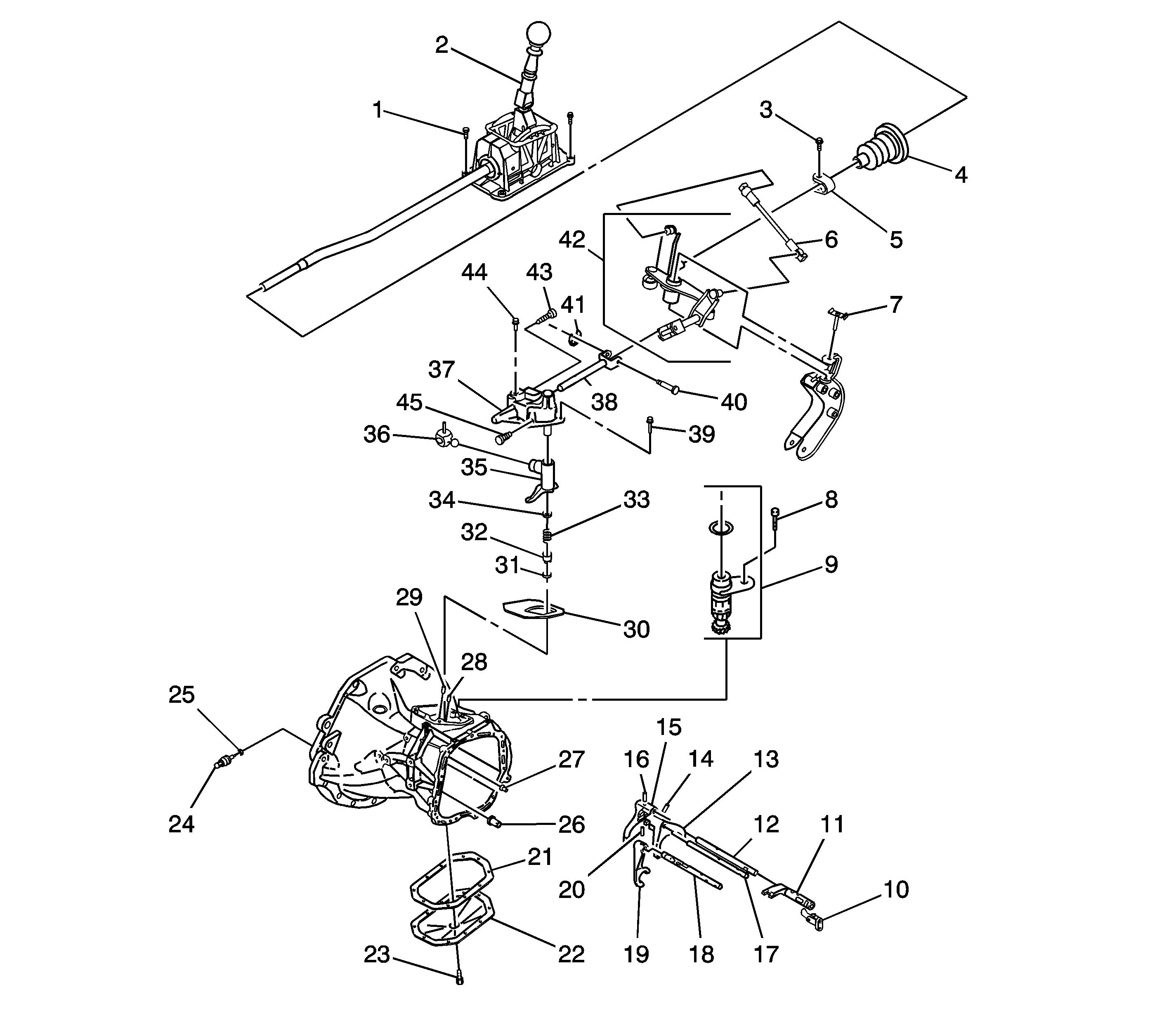
Figure
3:
Shift Linkage
(1)
Bolt
(2)
Gear Shift Control
(3)
Bolt
(4)
Gear Shift Tube Bellows
(5)
Clamp
(6)
Gear Shift Control Mode
(7)
Bolt
(8)
Bolt
(9)
Speedometer Driven Gear - Vehicle Speed Sensor (VSS)
(10)
Gear Shift Rod Pawl
(11)
5th Speed Engaging Piece
(12)
3rd & 4th Gear Shift Rod
(13)
1st & 2nd Gear Shift Fork
(14)
Pin
(15)
3rd & 4th Gear Shift Fork
(16)
Pin
(17)
1st & 2nd Gear Shift Rod
(18)
Reverse Gear Shift Rod
(19)
Reverse Gear Shift Fork
(20)
Pin
(21)
Differential Gear Cover Gasket
(22)
Differential Gear Cover
(23)
Bolt
(24)
Backup Lamp Switch
(25)
O-Ring
(26)
Bush
(27)
Sleeve
(28)
Pin
(29)
Pin
(30)
Gear Shift Cover Gasket
(31)
Retaining Ring
(32)
Bush
(33)
Compression Spring
(34)
Plate
(35)
Gear Shift Inter Lever
(36)
Shift Finger
(37)
Gear Shift Lever Cover
(38)
Gear Shift Rod
(39)
Bolt
(40)
Pin
(41)
Clip
(42)
Gear Shift Guide Control
(43)
Plug
(44)
Plug
(45)
Pin