GM Service Manual Online
For 1990-2009 cars only

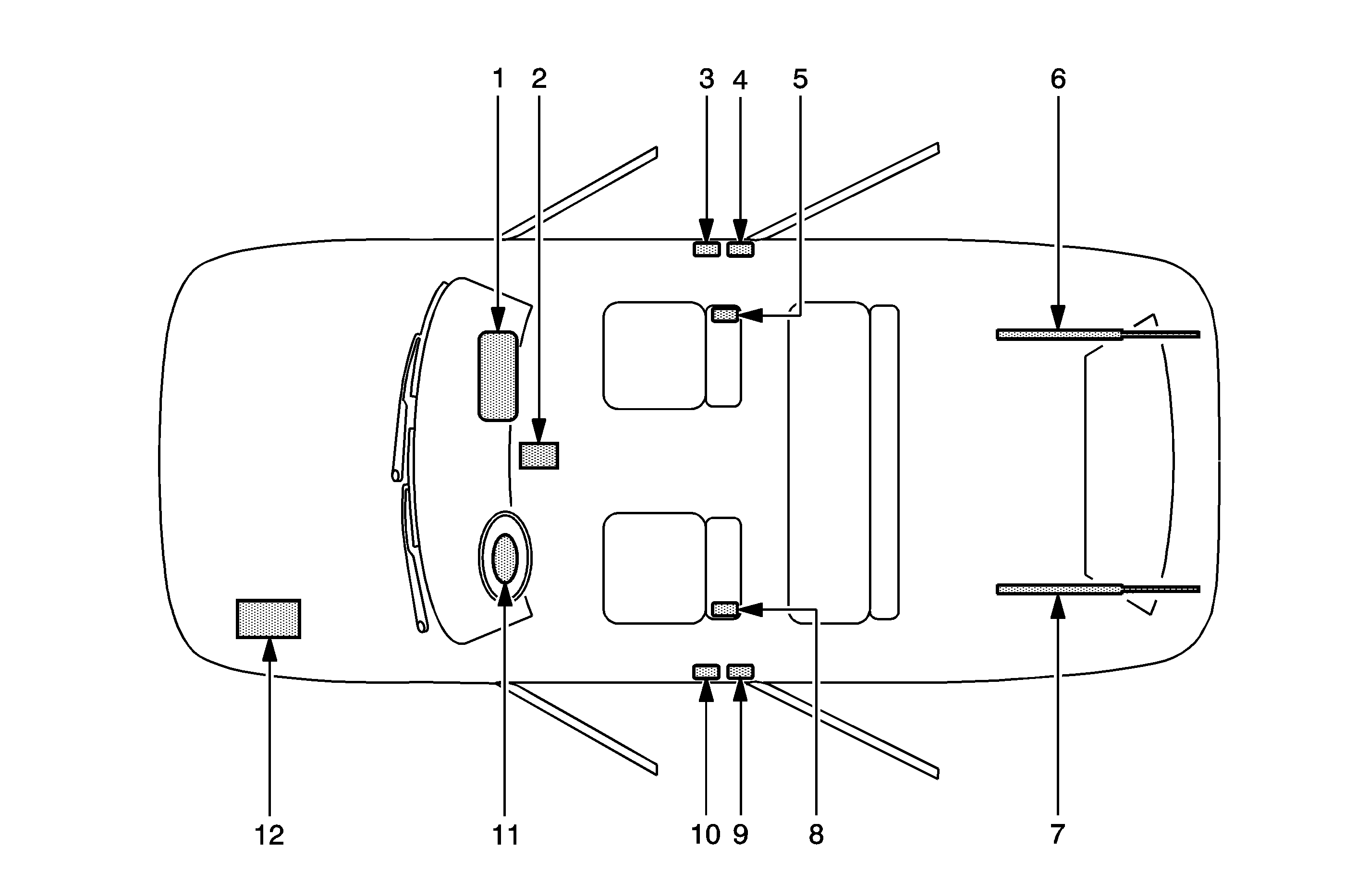
The SIR Identification Views shown below illustrate the approximate location of all SIR components available for the vehicle. This will assist in determining the appropriate SIR Disabling and Enabling for a given service procedure, refer to SIR Disabling and Enabling .

Figure 1:

North American Models


Object Number: 1750565  Size: MF
(1)Right Front End Sensor--Located on the right front of the vehicle in the engine compartment
(2)I/P Air Bag--Located at the top right under the instrument panel
(3)Sensing and Diagnostic Module (SDM)--Located underneath the center console
(4)Seat Belt Pretensioner--Located under the center pillar trim near the bottom
(5)RH Side Impact Sensor (SIS)--Located under the center pillar trim near the bottom
(6)RF Side Impact Air Bag--Located on the seat back of passenger seat
(7)Rear Compartment Lid Assist Rod--A gas shock is located under the rear trunk lid on the passenger side (Hatch Back Models)
(8)Rear Compartment Lid Assist Rod--A gas shock is located under the rear trunk lid on the driver side (Hatch Back Models)
(9)LF Side Impact Air Bag--Located on the seat back of driver seat
(10)LH Side Impact Sensor (SIS)--Located under the center pillar trim near the bottom
(11)Seat Belt Pretensioner--Located under the center pillar trim near the bottom
(12)Steering Wheel Air Bag--Located on the steering wheel
(13)Vehicle Battery--Located under the hood on the right side
(14)Left Front End Sensor--Located on the left front of the vehicle in the engine compartment
Figure 2:

Except North American Models


Object Number: 1750566  Size: MF
(1)I/P Air Bag--Located at the top right under the instrument panel
(2)Sensing and Diagnostic Module (SDM)--Located underneath the center console
(3)Seat Belt Pretensioner--Located under the center pillar trim near the bottom
(4)RH Side Impact Sensor (SIS)--Located under the center pillar trim near the bottom
(5)RF Side Impact Air Bag--Located on the seat back of passenger seat
(6)Rear Compartment Lid Assist Rod--A gas shock is located under the rear trunk lid on the passenger side (Hatch Back Models)
(7)Rear Compartment Lid Assist Rod--A gas shock is located under the rear trunk lid on the driver side (Hatch Back Models)
(8)LF Side Impact Air Bag--Located on the seat back of driver seat
(9)LH Side Impact Sensor (SIS)--Located under the center pillar trim near the bottom
(10)Seat Belt Pretensioner--Located under the center pillar trim near the bottom
(11)Steering Wheel Air Bag--Located on the steering wheel
(12)Vehicle Battery--Located under the hood on the right side