GM Service Manual Online
For 1990-2009 cars only
Makes
🢒
Chevrolet
🢒
2004
🢒
Optra
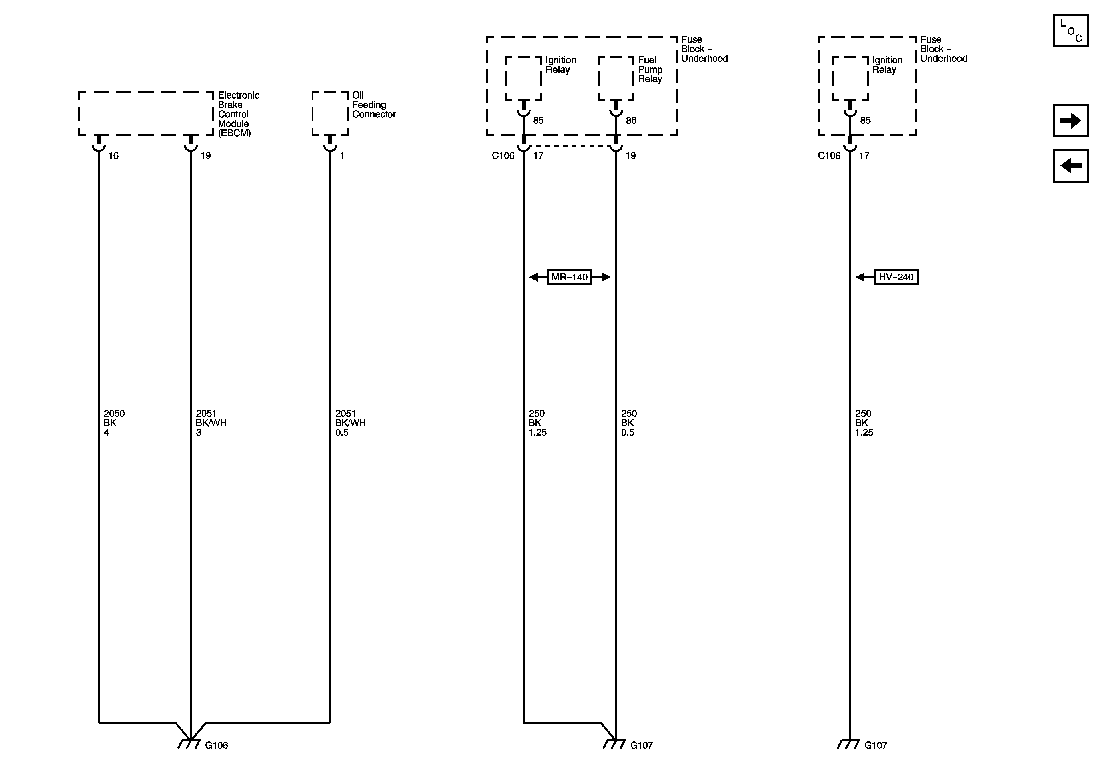
🢒 G106, G107
G106, G107
G106, G107
Master Electrical Component List
G201
G104 - HV-240